Вход/Регистрация
Практичные самоделки для дачи своими руками
вернуться

Коллектив авторов

Шрифт:

Приспособление для сбора нежных плодов (В. Подгоричани)

На дюралюминиевую трубку рационализатор насадил небольшой бокалообразный стакан и выложил его изнутри 2-слойным мешочком-захватом. Снизу к трубке он подвел резиновую грушу, соединенную шлангом с тем же мешочком.

Умелец вводит плод в стакан и несколько раз надавливает на резиновую грушу. Во внутреннюю полость мешочка-захвата поступает воздух, который мягко зажимает плод. Чтобы оборвать плодоножку, штангу резко поворачивают. Плод вынимают из стакана, выпустив воздух.

Петелька для сбора облепихи

Для сбора этой ценной ягоды пользуются петелькой, сделанной из лески (диаметром 0,6 – 1 мм). Ее плотно приклеивают к более широкому концу ручки скотчем. Ягоды захватывают петелькой и, надавливая сверху вниз, обрывают их.

Петелька.1 – ручка, 2 – крепление петли, 3 – петля.

Пружинный крючок для сбора облепихи

Приспособление подводят к ветке и зажимают ее между концами. Затем, скользя крючком по ветке, снимают плоды (к сожалению, вместе с листьями).

Шпиндельное приспособление для сбора облепихи

Еще один вид устройства для сбора ягод. Его подводят к нижней части ветки. При вращении шпинделя его ребра захватывают ягоды и обрывают их (тоже вместе с листьями).

Приспособление для сбора облепихи

Состоит из 2 пластин соединенных шарниром, захватывателей и установочного винта. Пластины, закрепив на круглогубцах, фиксируют планками и винтами.

Приспособлением захватывают ветку облепихи и ведут вдоль нее. Если на ветке остались ягоды, то положение пластин меняют регулировкой винта. Поскольку пластины обклеены по периметру полосками поролона, то собранные ягоды остаются в приспособлении.

Зонтик для сбора облепихи (В. Солтанов)

К ручке он цепляется крючок из мягкой проволоки. Повесив приспособление на ветку, рукой или расческой проводят по ветвям. Ягоды отрываются и падают в зонтик.

«Варежка для облепихи» (А. Набоков)

Изобретатель использует для ягод брезентовую рукавицу. В нижней части «ладони» к рукавице он пришил открытый кармашек на проволоке. Над ним закрепил металлическую гребенку, а на большой палец рукавицы нашил кусочек натуральной кожи. Когда ладонь сгибают, проволочка в верхней части кармашка выгибается наружу, он открывается. Ветку облепихи захватывают гребенкой и большим пальцем. После этого ведут рукой от конца ветки к ее основанию – и ягоды ссыпаются в кармашек. Когда ладонь разжимается, кармашек закрывается.

С помощью подобного приспособления облепиху можно собрать быстро, и при этом не пораниться. Но, к сожалению, среди собранных ягод попадаются давленые.

Щадящее устройство для сбора облепихи (Л.М. Гамиловский)

В основу приспособления умелец положил старую перчатку, у которой по первую фалангу отрезаны 3 пальца: средний, указательный и большой. На ладонь, от среднего пальца к большому, он подшил кожаный язычок, а к нему – пластиковый тубус (высотой 6 и диаметром 8 см). Размеры, естественно, указаны приблизительные. На тубус надел полиэтиленовый пакет (объемом 1 – 1,5 л) и прикрепил его 4 полосками липкой ленты: чтобы он не сползал с кольца.

Вместо пакета к тубусу можно приделать полиэтиленовый рукав (диаметром 5 – 6 см) и направить его в ящик. Тубус в этом случае лучше сделать в виде усеченного конуса.

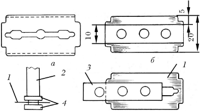
Приспособление для сбора облепихи из безопасной бритвы (Г.А. Кунышев)

Рационализатор с помощью напильника (или наждака) сточил верхние и нижние края лезвия, вложил его в корпус – и «облепихосъемник» готов.

Приспособление из безопасной бритвы,а – безопасная бритва (вид сверху), 6 – безопасная бритва со сточенными краями; 1 – лезвие, 2 – ручка, 3 – основание, 4 – корпус.

Корзина для сборки плодов

Интересна тем, что собранные в нее яблоки выгружают в приготовленную тару буквально в считанные секунды. Снимают крюки, удерживающие мягкий конусовидный рукав – и яблоки ссыпаются в ящик.

Подвесная корзина

Плоды собирают в любую корзину, имеющуюся в хозяйстве, но не держат ее в руках, а подвешивают на специальном приспособлении.

Это очень удобно и практично.

Ременное кольцо для корзинки

Ремни (кожаные, матерчатые и т.д.), продетые в ручки корзины в виде кольца, как показано на рисунке, превращает ее в некоторое подобие рюкзака и облегчает переноску тяжестей.

Кольцо не занимает много места и его легко можно носить с собой.

Разборный ящик

Предназначен для хранения и транспортировки нежных ягоды – клубники, малины. Устройство состоит из 3 лотков. К уголкам среднего небольшими шурупчиками прикрепляют металлические уголки, которые фиксируют верхний и нижний лотки. К нижнему прикрепляют длинные ременные ручки.

  • Читать дальше
  • 1
  • ...
  • 15
  • 16
  • 17
  • 18
  • 19
  • 20
  • 21
  • 22
  • 23
  • 24
  • 25
  • ...

Ебукер (ebooker) – онлайн-библиотека на русском языке. Книги доступны онлайн, без утомительной регистрации. Огромный выбор и удобный дизайн, позволяющий читать без проблем. Добавляйте сайт в закладки! Все произведения загружаются пользователями: если считаете, что ваши авторские права нарушены – используйте форму обратной связи.

Полезные ссылки

  • Моя полка

Контакты

  • chitat.ebooker@gmail.com

Подпишитесь на рассылку: