Вход/Регистрация
107-мм горно-вьючный полковой миномет обр. 1938 г. (107 ГВПМ-38) Руководство службы.
вернуться

Коллектив авторов

Шрифт:

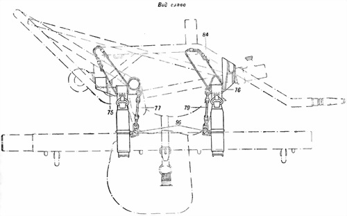
Укладочное приспособление № 5 (рис. 126 и 127) состоит из передней платформы 75, задней платформы 76, двух передних стяжек: левой 77 и правой 78, двух задних стяжек: левой 79 и правой, четырех подвесов 81, четырех затяжных ремней 82, двух ремней подпружных 83 и одного ремня 84.

Передняя платформа представляет штампованную сварную конструкцию и имеет по краям два отверстия О — для надевания платформы на подъемные винты 6 универсального приспособления (рис. 105). К задней стороне платформы приварены при помощи кронштейнов две обоймы 85, на которые укладывается своею осью задняя часть рамы хода П-образными кронштейнами вперед; к передней стороне платформы приварена при помощи кронштейнов большая обойма 86, на которую укладывается своею шворневою лапой передняя часть рамы хода. Кроме того, в передней платформе наглухо заделаны два штифта 87, на которые навешиваются передние подвесы при помощи своих захватов 3.

Задняя платформа 76 также представляет собою штампованную сварную конструкцию и по краям имеет по одному отверстию О для крепления платформы на универсальном приспособлении (крепление этой платформы аналогично креплению передней платформы). К задней стороне платформы приварены два упора 88, на которые укладывается своей средней частью передняя часть рамы хода.

Кроме того, задняя платформа имеет два наглухо укрепленных штифта 89, на которые надеваются своими захватами подвесы (задние).

Подвесы 81 имеют вид рычагов корытообразного сечения. С внутренней стороны в подвесе укреплена заклепками деревянная колодка 90. В средней части подвес имеет крючок — 91, на который надевается своей петлей зажимной ремень 82, в петлю которого вкладываются трубы или ваги. В верхней части каждый подвес имеет захват 3 для сцепления с штифтами 87 или 89 передней или задней платформы.

Каждый затяжной ремень 82 состоит из ремня 92, к концам которого пришиты петля 93 и затяжная петля 94. Петля 93 имеет возможность продаваться через затяжную петлю, благодаря чему ремень в обхват затягивает подвешиваемые трубы или ваги, после чего петля 93 надевается на крючок подвеса.

Стяжки задние и передние (правые и левые) служат для подтягивания уложенных передней и задней частей рамы хода. Все стяжки по своему устройству почти одинаковы и отличаются лишь крюками, числом звеньев и планкой 95, которой каждая стяжка крепится болтом к полке ленчика. В остальном устройство стяжек такое же, как и укладочного приспособления № 2.

Ремень увязочный 84 и ремни подпружные 83 служат для дополнительного крепления укладываемых передней и задней частей рамы хода. Ремень 84 так же устроен, как и ремень к укладочному приспособлению № 3 (рис. 118), а ремни 83 — так же, как и ремни к укладочному приспособлению № 1 (рис. 109).

I

II

Рис. 126. Укладочное приспособление № 5 (вид слева и спереди):

75 — платформа передняя (сб. 17-6); 76 — платформа задняя (сб. 17-1); 77 — стяжка передняя левая (сб. 17-7); 78 — стяжка передняя правая (сб. 17-8); 79 — стяжка задняя левая (сб. 17-9); 81 — подвес (сб. 17-4); 82 — ремень затяжной; 83 — ремень подпружный (сб. 13-9); 84 — ремень увязочный (сб. 17-5); 96 — болт (17–41).

а

б

в

г

д

Рис. 127. Укладочное приспособление № 5:

а — передняя платформа (сб. 17-6) к укладочному приспособлению № 5; б — задняя платформа (сб. 17-1) к укладочному приспособлению № 5; в — подвес (сб. 17-4) к укладочному приспособлению № 5; г — ремень затяжной (сб. 17–12) к укладочному приспособлению № 5; д — стяжки левые; 77 — передняя стяжка (сб. 17-7); 79 — задняя стяжка (сб. 17-9); 85 — обойма (17–11); 86 — обойма большая (17–15); 87 — штифт (17–37); 88 — упор (сб. 17-3 и сб. 17-2); 90 — колодка (17–31); 91 — крючок (17–30); 92 — ремень (17–23); 93 — петля (17–24); 94 — петля затяжная; 95 — планка (17-5); О — отверстие для крепления платформы на укладочном приспособлении; З — захват.

Общий вид укладочного приспособления № 5 без загруженной матчасти (без ремней) и с полной нагрузкой показал на рис. 128 и 129.

Рис. 128. Общий вид укладочного приспособления № 5 (ремни сняты).

Рис. 129. Общий вид укладочного приспособления № 5 с вьюком № 8 на лошади (вид справа).

I

  • Читать дальше
  • 1
  • ...
  • 50
  • 51
  • 52
  • 53
  • 54
  • 55
  • 56
  • 57
  • 58
  • 59
  • 60
  • ...

Ебукер (ebooker) – онлайн-библиотека на русском языке. Книги доступны онлайн, без утомительной регистрации. Огромный выбор и удобный дизайн, позволяющий читать без проблем. Добавляйте сайт в закладки! Все произведения загружаются пользователями: если считаете, что ваши авторские права нарушены – используйте форму обратной связи.

Полезные ссылки

  • Моя полка

Контакты

  • chitat.ebooker@gmail.com

Подпишитесь на рассылку: