Вход/Регистрация
107-мм горно-вьючный полковой миномет обр. 1938 г. (107 ГВПМ-38) Руководство службы.
вернуться

Коллектив авторов

Шрифт:

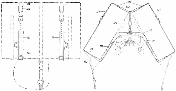
130 — платформа (сб. 20-1); 131 — подвес (сб. 20-3); 132 — подвес (сб. 20-7); 133 — прижим (сб. 20-4); 134 — ремень верхний (сб. 20-5); 135 — ремень нижний (20–13); 136 — стяжка (20–20); 137 — кнопка (20–22).

Каждая платформа 130 представляет собою штампованную сварную конструкцию. На концах платформы имеется по одному отверстию О, которыми она накладывается на подъемные винты 6 универсального приспособления. Края отверстий О усилены приварными планками 138.

В средней своей части платформа имеет две наглухо укрепленные оси захватов 139, на которые надеваются подвесы 131 и 132.

Между осями захватов, посередине приварена скоба 140, на которой укреплен болт 141; болт нарезной частью ввинчен в стяжку 136, в которую, в свою очередь, сверху ввертывается винт прижима 133.

Рис. 139. Укладочное приспособление № 8:

а — платформа (сб. 20-1); б — подвес (сб. 20-3); в — подвес (сб. 20-7); г — ремень верхний (сб. 20-5); д — прижим (сб. 20-4); 130 — платформа; 131 и 132 — подвесы; 138 — планка (20–18); 139 — ось захвата (20–17); 140 — скоба (20-1); 141 — болт (20-2); 142 — колодка (20-5); О — отверстие для крепления к универсальному приспособлению; У — упор; К — колено с кольцом; З — захват.

Таким образом при вращении стяжки в ту или другую сторону расстояние между прижимом и платформой будет увеличиваться или уменьшаться, благодаря чему можно будет надежно поджать уложенные парковые ящики.

Подвесы 131 и 132 по своему устройству одинаковы, отличаются они лишь расположением упоров У, которые приклепаны у одного подвеса с левой, а у другого с правой стороны.

Указанные упоры У служат для предотвращения бокового перемещения уложенного паркового ящика, который, в свою очередь, своими планками укладывается как раз между этими упорами (рис. 138). Каждый подвес 131 и 132 состоит из собственно подвеса и деревянной колодки 142, приклепанной с внутренней стороны для жесткости.

Рис. 140. Общий вид укладочного приспособления № 8.

В верхней части подвесы имеют приварные захваты З, которыми они навешиваются на оси 139 к платформам. В нижней части подвесы имеют приварное колено К с кольцом. Колено К служит для упора уложенного паркового ящика, а кольцо его — для пристегивания при помощи кнопки 137 нижнего ремня 135.

Верхний ремень 134 в свою очередь также пристегивается кнопкой 137 к кольцу прижима.

Общий вид укладочных приспособлений № 8 показан на рис. 140.

Сборка

1. Привернуть к универсальному приспособлению платформы 130.

2. Навесить боковые подвесы 131 и 132 на оси захватов 139 так, чтобы упоры У были обращены во внешние стороны.

3. Поставить ремни — верхние 134 и нижние 135 на место (если они были сняты).

Разборка

Разборка производится в обратном порядке.

ОТДЕЛ ВТОРОЙ

ЭКСПЛОАТАЦИЯ СИСТЕМЫ

Глава XI

ПОДГОТОВКА МИНОМЕТА К СТРЕЛЬБЕ

73. Выбор и подготовка огневой позиции

Для перевода миномета из походного положения в боевое необходимо выбрать огневую позицию с таким расчетом, чтобы опорная плита при стрельбе давала меньшую осадку. Для этого командир взвода, отделения или миномета, получив задачу, определяет направление стрельбы и, выбрав огневую позицию, фиксирует это направление соответствующим положением опорной плиты.

Для большей точности стрельбы опорная плита должна быть несколько наклонена к горизонту, примерно на 20–30° (скат в сторону противника), вследствие чего при отсутствии естественного уклона должен быть вырыт ровик под опорную плиту (рис. 141). Если нехватает времени на открытие ровика, то до третьего заряда можно вести стрельбу и без него. Начиная с третьего заряда отрывка ровика обязательна. Самый благоприятный грунт для работы системы — грунт средней твердости.

При слабом грунте (песок и др.) под опорную плиту полезно подкладывать дерн и мешки с землей, в противном случае неизбежны большое сбивание наводки и плохая меткость. Во всех случаях необходимо, чтобы сошники установленной плиты были утоплены в грунт не менее чем на 3/4 их высоты.

  • Читать дальше
  • 1
  • ...
  • 53
  • 54
  • 55
  • 56
  • 57
  • 58
  • 59
  • 60
  • 61
  • 62
  • 63
  • ...

Ебукер (ebooker) – онлайн-библиотека на русском языке. Книги доступны онлайн, без утомительной регистрации. Огромный выбор и удобный дизайн, позволяющий читать без проблем. Добавляйте сайт в закладки! Все произведения загружаются пользователями: если считаете, что ваши авторские права нарушены – используйте форму обратной связи.

Полезные ссылки

  • Моя полка

Контакты

  • chitat.ebooker@gmail.com

Подпишитесь на рассылку: