Вход/Регистрация
Большая Советская Энциклопедия (ДИ)
вернуться

Большая Советская Энциклопедия

Шрифт:

Дикштейн Шимон

Ди'кштейн (Dickstein, Dicksztajn) Шимон (псевдоним — Ян Млот) (8.2.1858, Варшава, — 6.7.1884, Берн), деятель польского социалистического движения. Сын купца. Окончил естественный факультет Варшавского университета (1878). В 1877—78 участвовал в деятельности первых польских социалистических кружков; инициатор и автор польского перевода «Капитала» К. Маркса; перевёл на польский язык работу Ф. Энгельса «Развитие социализма от утопии к науке», ряд сочинений Ч. Дарвина, Г. Спенсера. Скрываясь от преследований полиции, в 1878 эмигрировал в Швейцарию, жил во Франции. В конце 70-х гг. находился под влиянием анархизма. В 1879—81 член Польской социалистической группы «Рувносьць» («Равенство»), с 1882 член партии «Пролетариат» 1-й. В 1879—84 участвовал в издании польского социалистического журнала «Рувносьць» («R'owno's'c»), «Пшедсвит» («Przed'swit»), «Валька клас» («Walka Klas»), сотрудничал с деятелями русского революционного движения Г. В. Плехановым, В. И. Засулич, Л. Г. Дейчем, П. Л. Лавровым и др. В 1881 опубликовал брошюру «Кто чем живёт» — одно из лучших изложений 1-го тома «Капитала»; впоследствии была переведена на многие языки (рус. пер. 1885, предисловие Г. В. Плеханова) и имела большое значение в пропаганде среди рабочих идей социализма и классовой борьбы.

Е. К. Жигунов.

Дилатометр

Дилато'метр (от лат. dilato — расширяю и ...метр), прибор, измеряющий изменения размеров тела, вызванные воздействием температуры, давления, электрического и магнитного полей, ионизирующих излучений или каких-либо др. факторов. Наиболее важная характеристика Д. — его чувствительность к абсолютному изменению размеров тела.

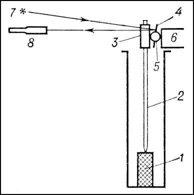
Распространение получили оптико-механические, ёмкостные, индукционные, интерференционные, рентгеновские, радиорезонансные Д. В оптико-механическом Д. изменение размеров исследуемого образца вызывает смещение светового указателя (рис. 1). Изменение длины образца определяют либо на основе предварительной калибровки прибора, либо из геометрических соотношений. Чувствительность Д. ~ 10– 6—10– 7см. В ёмкостных Д. изменение размеров исследуемого образца приводит к изменению ёмкости конденсатора, который служит в них датчиком (иногда поверхность образца является одной из пластин конденсатора). Для определения изменения размеров образца по изменению ёмкости прибор предварительно калибруется. Чувствительность Д. ~ 10– 9см.

В индукционных Д. изменение размера образца вызывает взаимное смещение катушек индуктивности, что приводит к изменению их индуктивности взаимной. Для определения изменения размеров образца индукционного Д. осуществляют предварительную калибровку прибора. Чувствительность Д. ~ 10– 9см. В интерференционном Д., основанном на принципе Физо (рис. 2), получают интерференционную картину при освещении монохроматическим светом двух оптических пластин, между которыми расположен исследуемый образец. Поскольку интерференционная картина получается при наложении пучков света, отражённых только от нижней плоскости верхней пластины и от верхней плоскости нижней (остальные картины убираются из поля зрения специальным расположением пластин), то сдвиг интерференционных полос происходит только при изменении длины образца. По сдвигу полос и длине световой волны рассчитывают изменение длины образца. Чувствительность Д. ~ 10– 8см. Рентгеновским Д. (по существу установкой для рентгеноструктурного анализа) измеряют изменение параметров кристаллической решётки исследуемого тела по рентгенограммам, снятым одним из известных способов (см. Рентгеновский структурный анализ). Чувствительность Д. в пересчёте на макроразмеры ~10– 5—10– 6см. В радиорезонансных Д. датчиком служит полый резонатор, который может быть изготовлен из исследуемого материала или иметь упругую стенку, соединённую с образцом. В обоих случаях при изменении размеров исследуемого образца изменяется объём резонатора, что приводит к изменению резонансной частоты (см. Резонанс). По сдвигу резонансной частоты рассчитывается изменение размеров образца. Чувствительность Д. доведена до 10– 12см.

Конструкция Д., как правило, предусматривает возможность изменения внешних физических воздействий на исследуемый образец (в частности, изменение температуры образца и её стабилизацию). Особое внимание при измерениях уделяется учёту расширения (сжатия) окружающих образец тел: передающих звеньев Д. и др.

Для веществ, находящихся в жидком или газообразном состоянии, рассматривают только объёмное расширение. Д. для определения объёмного расширения жидкостей конструктивно весьма разнообразны, но по принципу действия сводятся главным образом к следующим типам: 1) жидкость заполняет резервуар и часть тщательно калиброванного капилляра; наблюдают изменение уровня жидкости в капилляре при изменении температуры; 2) жидкость, заполняющая резервуар известного объёма, при нагревании частично из него вытекает; по массе вылившейся жидкости определяют её массу в резервуаре при температуре опыта, а следовательно, плотность жидкости в зависимости от температуры. Коэффициент теплового расширения материала резервуара в обоих случаях должен быть известен. Методом калиброванного капилляра можно измерить объёмное тепловое расширение и твёрдого тела, поместив его в резервуар, заполненный жидкостью с известным коэффициентом теплового расширения. Для измерения теплового расширения жидкостей применялся также метод сообщающихся сосудов, предложенный П. Дюлонгом и А. Пти (1818). Измерение объёмного расширения газов осуществляют Д., работающими по принципу газового термометра.

Лит.: Стрелков П. Г., Косоуров Г. И., Самойлов Б. Н., Дилатометр для образцов малых размеров, «Изв. АН СССР. Сер. физическая», 1953, т. 17, №3, с. 383; Стрелков П. Г., Новикова С. И., Кварцевый дилатометр для низких температур, «Приборы и техника эксперимента», 1957, № 5, с. 105; Pudalov V. M., Khaikin M. S., Dilatometer with a sensitivity of 10– 4 Angstom, «Cryogenics», 1969, v. 9, № 2, p. 128; Collins J. G., White G. K., Thermal expansion of solids, «Progress in Low Temperature Physics», 1964, v. 4, p. 450; Symposium on thermal expansion of solids, «Journal of Applied Physics», 1970, v. 41, №13.

Я. С. Агранович.

Рис. 1. Схема оптико-механического дилатометра: 1 — исследуемый образец; 2 — шток; 3 — зажим; 4 — зеркало, прикрепленное к валику 5; 6 — магнит, притягивающий зажим; 7 — источник света; 8 — зрительная труба.

Рис. 2. Схема интерференционного дилатометра: 1 — источник света; 2 — конденсор; 3 — полупрозрачное зеркало; 4 — нижняя плоскость верхней пластины; 5 — верхняя плоскость нижней пластины; 6 — исследуемый образец; 7 — интерференционная картина в плоскости ЛЛ; 8 — линза, позволяющая наблюдать интерференционную картину.

Дилатометрия

Дилатоме'трия (от лат. dilato — расширяю и ...метрия), раздел физики, изучающий зависимость изменения размеров тел от воздействия внешних условий: температуры, давления, электрического и магнитного полей, ионизирующих излучений и т.д. В основном Д. изучает тепловое расширение тел и его различные аномалии (при фазовых переходах и др.). Применяемые для целей Д. приборы называются дилатометрами. Методы Д. широко применяют при изучении свойств веществ в физике, а также в материаловедении.

Дилемма

Диле'мма, (греч. d'ilemma, от d'is — дважды и lemma — лемма, посылка), особый вид умозаключений с гипотетическими (условными) и разделительными (дизъюнктивными) посылками. Различают конструктивную Д. (утверждающая форма, modus ponens дилеммы) и деструктивную Д. (отрицающая форма, modus tollens дилеммы), каждая из которых, в свою очередь, может быть простой и сложной. Конструктивные Д.: сложная — «если А, то В; если С, то D; А или С; следовательно, В или D» (A, В, С, D — произвольные суждения); простая — «если A, то В; если С, то В; А или С; следовательно, В» (следствия условных посылок совпадают). Деструктивные Д.: сложная — «если А, то В; и если С, то D; не-В или не-D; следовательно, не-А или не-С»; простая — «если А, то В, если А, то С; не-В или не-С; следовательно, не-А» (А, В, С, D — какие-либо суждения; частица «не» — отрицание суждения, перед которым она стоит). Логическая форма Д. находит применение в спорах и дискуссиях (в частности, по форме простой конструктивной Д. нередко строят опровержения логические). Как и любые умозаключения в логике, Д. гарантирует истинные следствия, только если истинны посылки.

  • Читать дальше
  • 1
  • ...
  • 47
  • 48
  • 49
  • 50
  • 51
  • 52
  • 53
  • 54
  • 55
  • 56
  • 57
  • ...

Ебукер (ebooker) – онлайн-библиотека на русском языке. Книги доступны онлайн, без утомительной регистрации. Огромный выбор и удобный дизайн, позволяющий читать без проблем. Добавляйте сайт в закладки! Все произведения загружаются пользователями: если считаете, что ваши авторские права нарушены – используйте форму обратной связи.

Полезные ссылки

  • Моя полка

Контакты

  • chitat.ebooker@gmail.com

Подпишитесь на рассылку: