Вход/Регистрация
Большая Советская Энциклопедия (УС)
вернуться

Большая Советская Энциклопедия

Шрифт:

Успехи ВЧ радиотехники в 40-е гг. дали дальнейший толчок, развитию протонных линейных резонансных ускорителей. Вместо цепей с сосредоточенными постоянными в современных ускорителях протонов применяется обычно схема, предложенная амер. физиком Л. Альваресом , представляющая собой резонатор с дрейфовыми трубками. В объёме резонатора цилиндрической формы создаётся переменное электрическое поле, направленное вдоль оси резонатора. Ускоряемые частицы пролетают систему дрейфовых (пролётных) трубок так, что в ускоряющих зазорах между трубками они оказываются в моменты, когда поле направлено по движению частиц (рис. 11 ). Когда же поле направлено в противоположную сторону, частицы находятся внутри трубок, куда поле не проникает.

В линейном резонансном ускорителе, как было указано выше, действует механизм автофазировки, так что частицы, расположенные в некоторой области вблизи равновесной частицы (область захвата), ускоряются вместе с ней, набирая в среднем такую же энергию. Устойчивая равновесная фаза в линейном ускорителе отрицательна, т. е. находится на участке, где поле растет. Поэтому электрическое поле оказывает в линейном ускорителе дефокусирующее действие и нужно принимать специальные меры для обеспечения фокусировки протонов. В ускорителях на небольшие энергии можно применять фольговую или сеточную фокусировку: входы дрейфовых трубок перекрываются фольговой или сетчатой перегородкой. Это приводит к деформации поля между трубками, при которой дефокусирующая область почти полностью исчезает. В ускорителях на большие энергии этот метод фокусировки неприменим (фольги и сетки приводят к недопустимым потерям интенсивности и, кроме того, перегорают под действием пучка). Наиболее распространённый метод фокусировки — знакопеременная фокусировка с помощью магнитных квадрупольных линз (располагаемых внутри дрейфовых трубок), создающих в окрестности оси ускорителя магнитное поле, линейно нарастающее по мере удаления от оси. Качественно фокусировка таким полем объясняется так же, как в циклических ускорителях.

Преимущество линейных ускорителей над циклическими — отсутствие громоздкой магнитной системы, простота ввода и вывода частиц, большие плотности тока. Однако сложность и высокая стоимость радиотехнической системы линейных ускорителей и трудности фокусировки ограничивают возможности линейных протонных ускорителей. В основном они пока применяются как инжекторы для кольцевых ускорителей. Энергия инжекторов доходит до 50—100 Мэв и даже до 200 Мэв. Это предел, дальше которого система Альвареса становится нерациональной с радиотехнической точки зрения, т.к. слишком большая энергия затрачивается на создание электрического поля (слишком мало шунтовое сопротивление). Для ускорения до больших энергий разработаны специальные системы связанных резонаторов; может также применяться волноводная система с диафрагмами (как в линейных электронных ускорителях; см. ниже). Современные линейные ускорители протонов на большую энергию состоят из двух ступеней: в первой ускорение производится до 100—200 Мэв резонаторами типа Альвареса, во второй — резонаторами иного типа, имеющими при этих скоростях частиц более благоприятные характеристики. По такой двухступенчатой схеме реализован линейный протонный ускоритель в Лос-Аламосе (США) на 800 Мэв, дающий средний ток 30 мка (проектируется повышение тока до 1000 мка ), предназначенный для физических опытов с интенсивными вторичными пучками (т. н. мезонная фабрика). По этой же схеме в СССР разработана мезонная фабрика на 600 Мэв.

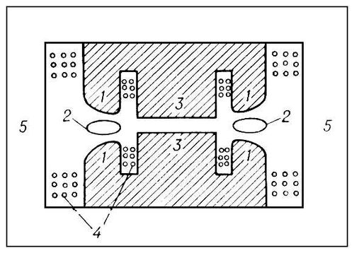
Электронные линейные резонансные ускорители обладают ещё одним существенным преимуществом над циклическими — в них электроны почти не излучают вследствие практического постоянства их скорости (как по величине, так и по направлению). Предельная энергия современных линейных электронных ускорителей составляет 20 Гэв, но она диктуется только экономическими соображениями и может быть увеличена простым наращиванием длины. Для электронных ускорителей, в которых частицы движутся практически с самого начала со скоростью, близкой к скорости света, наиболее выгодна ускоряющая система в виде диафрагмированного волновода с бегущей волной. В гладком волноводе электромагнитные волны бегут с фазовой скоростью, большей скорости света. Для того чтобы бегущая волна могла ускорять частицы, она должна двигаться с той же скоростью, что и частица, т. е. для ускорения электронов её нужно замедлить до скорости, равной скорости света. Такое замедление достигается, например, введением в волновод перегородок (диафрагм; рис. 12 ). Близость скорости электронов к скорости света приводит к особенностям в движении электронов относительно ускоряющей волны. Для электронов отсутствует механизм автофазировки: изменение энергии электрона практически не приводит к изменению его скорости и, следовательно, к перемещению относительно ускоряющей волны. Фокусировка в поперечном направлении тоже оказывается, как правило, ненужной, т.к. случайные поперечные скорости электронов убывают по мере роста их энергии (по закону сохранения импульса постоянным остаётся поперечный импульс mu (, а т.к. по теории относительности масса m растет с ростом энергии, то скорость u (убывает). Кроме того, поперечное кулоновское расталкивание в электронных ускорителях оказывается почти скомпенсированным магнитным притяжением параллельных токов. Ускоряемые сгустки могут, однако, возбуждать в ускоряющем волноводе паразитные волны, раскачивающие пучок и приводящие к его неустойчивости. Этот эффект особенно существен в больших ускорителях, где он ограничивает предельно достижимые токи. Разработан ряд инженерных методов подавления этого эффекта.

Широко распространены линейные резонансные электронные ускорители на малые (порядка десятков Мэв ) энергии, используемые для исследований по ядерной н нейтронной физике и для прикладных целей.

Ведутся интенсивные исследования возможностей применения сверхпроводящих материалов для стенок резонаторов и волноводов в протонных и электронных ускорителях. Это сильно сократило бы расход ВЧ мощности и позволило бы перейти на работу ускорителей в непрерывном режиме.

Описанные типы У. з. ч. применимы для ускорения не только электронов и протонов, но и других заряженных частиц. Электронные ускорители практически без переделок могут быть использованы для ускорения позитронов. Для ускорения тяжёлых частиц используются различные типы протонных ускорителей. Наибольшая энергия ионов достигнута на ускорителе «Бэвалак» (Bevalac, США) типа синхрофазотрона, где в 1974 получены ускоренные ядра вплоть до ядер аргона с энергией 2 Гэв на нуклон. В Дубне разработан проект ускорителя («нуклотрона»), рассчитанного на получение 16 Гэв на нуклон. Как источник тяжёлых ионов применяются также ускорители типа циклотрона и линейные ускорители.

Лит.: Гринберг А. П., Методы ускорения заряженных частиц, М. — Л., 1950, Ускорители, [сб. статей], пер. с англ. и нем., М., 1962; Коломенский А. А., Лебедев А. Н., Теория циклических ускорителей, М., 1962; Брук Г., Циклические ускорители заряженных частиц, пер. с франц., М 1970; Вальднер О. А., Власов А. Д., Шальнов А. В., Линейные ускорители М., 1969; Комар Е. Г., Основы ускорительной техники, М., 1975; Соколов А. А., Тернов И. М., Релятивистский электрон, М., 1974.

Э. Л. Бурштейн.

Рис. 3. Схема расположения магнитов в сильнофокусирующем ускорителе: Д — магниты, дефокусирующие по радиусу (n >> 1), Ф — фокусирующие по радиусу (n << -1); пунктирная кривая — орбита неотклонённой частицы (равновесная орбита), сплошная кривая — орбита отклонённой частицы.

Рис. 2. При «бочкообразной» форме магнитного поля сила F, действующая на отклоненную частицу (1), имеет составляющую Fz , фокусирующую частицу по вертикали; FR — радиальная составляющая F; 2 — полюсные наконечники.

Рис. 6. Схема слабофокусирующего синхротрона или синхрофазотрона: 1 — инжектор; 2 — система ввода; 3 — вакуумная камера; 4 — сектор электромагнита; 5 — прямолинейный промежуток; 6 — ускоряющее устройство. Магнитное поле перпендикулярно плоскости рисунка.

Рис. 9. Схематический разрез бетатрона: 1 — полюсы магнита; 2 — сечение кольцевой вакуумной камеры; 3 — центральный сердечник; 4 — обмотки электромагнита; 5 — ярмо магнита.

  • Читать дальше
  • 1
  • ...
  • 12
  • 13
  • 14
  • 15
  • 16
  • 17
  • 18
  • 19
  • 20
  • 21
  • 22
  • ...

Ебукер (ebooker) – онлайн-библиотека на русском языке. Книги доступны онлайн, без утомительной регистрации. Огромный выбор и удобный дизайн, позволяющий читать без проблем. Добавляйте сайт в закладки! Все произведения загружаются пользователями: если считаете, что ваши авторские права нарушены – используйте форму обратной связи.

Полезные ссылки

  • Моя полка

Контакты

  • chitat.ebooker@gmail.com

Подпишитесь на рассылку: