Вход/Регистрация
Отопление и водоснабжение загородного дома
вернуться

Смирнова Людмила Николаевна

Шрифт:

• современный дизайн;

• удобные габариты;

• простота эксплуатации и обслуживания, которая достигается за счет встроенной в аппарат автоматики. Но это преимущество, в свою очередь, является и минусом, потому что вышедшую из строя автоматику очень сложно отремонтировать и настроить;

• только что приобретенный котел можно сразу монтировать по месту эксплуатации;

• довольно высокий КПД;

• хороший уровень безопасности оборудования, оснащенного несколькими степенями защиты.

К недостаткам агрегатов зарубежного производства относится в первую очередь высокая цена оборудования и монтажа, возникающая из-за того, что все комплектующие должны точно соответствовать качеству самого котла. Применение при установке дешевого оборудования значительно сокращает срок службы всей отопительной системы в доме. Но, как известно, если в момент покупки котел стоит очень дорого, то в процессе эксплуатации он сэкономит вам средства.

Водогрейные котлы, изготовленные в бывших соцстранах, несколько дешевле своих западных аналогов, хотя по качеству нисколько им не уступают.

Еще одним недостатком импортных аппаратов является то, что они не могут эффективно работать в условиях нестабильной подачи газа или электроэнергии. Но западные производители стали приспосабливать свое оборудование к российским условиям работы. Так, японская фирма «Rinnai» и немецкая «Viessmann» выпускают водогрейные котлы, которые могут работать при нестабильной подаче топлива.

Ниже расскажем о некоторых производителях импортного оборудования для отопления.

Котлы «Buderis» и «VaiUant»

Фирма «Buderis» специализируется на производстве отопительного оборудования, являясь лидером по изготовлению чугунных водогрейных котлов со встроенными атмосферными и дутьевыми горелками.

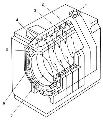
Вышеназванная компания выпускает газовые котлы «Logano GE—315», «Logano GE—515» (рис. 23), «Logano GE—615». Их топочная камера изготовлена из специального антикоррозийного серого чугуна G 180 М, разработанного этой фирмой. Помимо этого, в котлах данного типа применена новая технология «Thermo-stream», поддерживающая температуру внутри котла на стабильном уровне, что, в свою очередь, не дает конденсату осаживаться на стенках теплообменника.

Рис. 23. Газовый котел «Logano GE-515»: 1 – подающая линия котла; 2 – отверстия выхода воды; 3 – обратная линия котла; 4 – верхняя обечайка; 5 – второй ход продуктов сгорания; 6 – третий ход продуктов сгорания; 7 – топка (первый ход продуктов сгорания)

Остывшая вода из обратного трубопровода постоянно перемешивается с нагретой водой, что поднимает температуру поверхности, контактирующей с отопительными газами. Благодаря применению данной технологии КПД котла увеличивается до 95%. Используемый экономичный низкотемпературный режим отопления почти не дает потерь тепла, снижая расход электроэнергии. Движение дымовых газов идет по трехходовому принципу, значительно уменьшая вредные выбросы в атмосферу.

Рис. 24. Водяной контур чугунной секции котла «Logano GE-434»: 1 – трубки подачи холодной воды; 2 – потоки теплой воды

Также эта фирма выпускает чугунный котел «Logano GE—434» (рис. 24), который представляет собой двухблочный агрегат с двумя независимыми атмосферными горелками.

Рис. 25. Котел «Logano GE-215»: 1 – поступление холодной воды из обратной линии; 2 – подающая линия; 3 – обратная линия; 4 – третий ход продуктов сгорания; 5 – второй ход продуктов сгорания; 6 – топка: первый ход продуктов сгорания

Блоки смонтированы в общем корпусе, поэтому одновременная их работа соответствует работе двух отопительных котлов. Данные блоки контактируют друг с другом задними стенками, а между собой соединены трубами, на которых имеется по два кольцевых дроссельных клапана. Каждый блок оснащен одной газовой горелкой со своей аппаратурой. Из-за применения вышеназванной технологии «Thermostream» отпадает необходимость поддерживать постоянное значение температуры обратной воды.

Рис. 26. Котел «Logano SE»: 1 – пульт управления; 2 – дверь котла; 3 – направляющий элемент водяного контура; 4 – рама котла; 5 – теплоизоляция; 6 – подающая линия котла; 7 – штуцер предохранительного клапана; 8 – обратная линия котла; 9 – композитные отопительные поверхности; 10 – сборник дымовых газов; 11 – ревизионное отверстие; 12 – камера сгорания; 13 – спуск воды из котла; 14 – горелка; 15 – пламя горелки

Котлы «Logano G—115» и «Logano G—215» (рис. 25) представляют собой низкотемпературные агрегаты, работающие на жидком топливе (дизтопливо). Их котельный блок изготовлен из антикоррозийного серого чугуна G 180 М. Камера сгорания топлива приспособлена под конфигурацию пламени. Применение принципа трехходового движения продуктов сгорания дает возможность топливу сгорать полностью, а вредные выбросы в атмосферу значительно снижаются.

Данный аппарат оснащен адаптивной автоматической системой управления, полностью отключающей котел, когда нет необходимости подогревать воздух в помещениях и отсутствует потребность в горячей воде. КПД такого рода котлов составляет 96%.

  • Читать дальше
  • 1
  • ...
  • 13
  • 14
  • 15
  • 16
  • 17
  • 18
  • 19
  • 20
  • 21
  • 22
  • 23
  • ...

Ебукер (ebooker) – онлайн-библиотека на русском языке. Книги доступны онлайн, без утомительной регистрации. Огромный выбор и удобный дизайн, позволяющий читать без проблем. Добавляйте сайт в закладки! Все произведения загружаются пользователями: если считаете, что ваши авторские права нарушены – используйте форму обратной связи.

Полезные ссылки

  • Моя полка

Контакты

  • chitat.ebooker@gmail.com

Подпишитесь на рассылку: