Вход/Регистрация
Отопление и водоснабжение загородного дома
вернуться

Смирнова Людмила Николаевна

Шрифт:

Величина местного сопротивления в главных узлах отопительной системы напрямую зависит от скорости воды, изменения диаметра труб и количества воды в отводах, тройниках, вентилях и крестовинах, а также от изменения направления движения воды.

По принципу циркуляции теплоносителя водяные отопительные системы можно разделить на 2 группы:

– с естественной циркуляцией;

– с принудительной циркуляцией.

В системах второй группы движение теплоносителя возникает после начала работы циркуляционного насоса.

Системы с естественной циркуляцией теплоносителя

В такого рода системах движение теплоносителя возникает под действием гравитационной силы, возникающей за счет разности плотности теплоносителя в подающих и обратных трубах. Поскольку плотность горячей воды меньше, она значительно легче холодной. Разность плотности охлажденной и горячей воды создает в отопительной системе гидростатический напор, дающий теплоносителю возможность перемещаться от источника нагревания к радиаторам (или трубам) и обратно. То есть происходит вытеснение горячей воды холодной. Вода нагревается в котле, становится более легкой и вследствие этого поднимается по подающему трубопроводу (главному стояку) вверх. Оттуда она поступает в разводящие подающие стояки и попадает в отопительные приборы. По мере продвижения по трубам вода остывает, становится тяжелее. После этого охлажденная вода от отопительных приборов движется в обратном направлении, т. е. спускается вниз по обратным стоякам и общей обратной магистрали, попадает в отопительный котел, откуда вытесняет легкую нагретую воду. Поскольку разность нагретой и охлажденной воды постоянно существует, то отопительная система функционирует беспрерывно.

В системе с естественной циркуляцией так же, как в системе с принудительной циркуляцией, имеется циркуляционный напор. Его величина зависит от двух факторов:

– разности температур нагретой и охлажденной воды. Как правило, температура горячей воды в системе равна 95° С, охлажденной – 70° С. Для защиты подающей магистрали и недопущения падения температуры воды, а значит, и уменьшения гидростатического давления в системе главный стояк закрывают теплоизоляционным материалом. Обратные магистрали монтируют без утеплителя, т. к. только в этом случае вода будет охлаждаться до нужной температуры и создавать циркуляционный напор;

– от места нахождения отопительных приборов по отношению к теплогенератору (источнику нагрева). Известно, что чем выше расположен отопительный прибор над котлом, тем больше будет значение циркуляционного давления. Значит, циркуляционное давление отопительных приборов, находящихся на втором этаже, будет значительно выше, чем то же значение приборов первого этажа. Отопительные приборы, расположенные на одном уровне с теплогенератором или стоящие ниже его, нагреваются слабо и воздух в помещениях прогревают плохо. Оптимальное расстояние между центрами теплогенератора и отопительного прибора должно равняться 3 м.

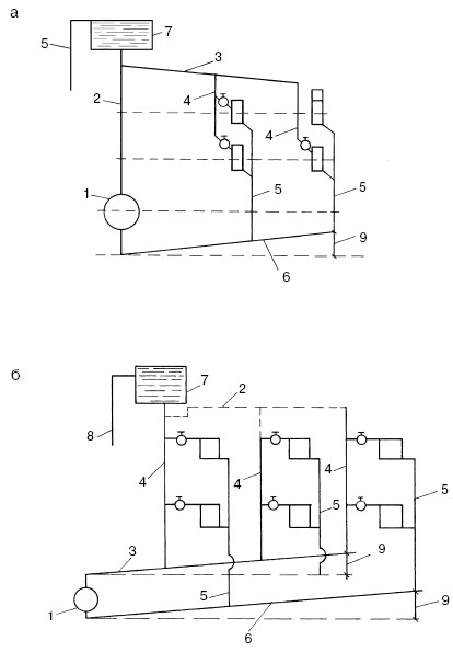
Отопительные системы с естественной циркуляцией теплоносителя подразделяются на системы с верхней и нижней разводкой (рис. 1).

Рис. 1. Система с естественной циркуляцией теплоносителя: а – верхняя разводка; б – нижняя разводка; 1 – котел; 2 – воздушная линия (главный стояк); 3 – разводящая линия; 4 – горячие стояки; 5 – обратные стояки; 6 – обратная линия; 7 – расширительный бак; 8 – сигнальная линия; 9 – уклон

Действуют обе эти системы аналогично. Различаются они только расположением подающей магистрали. Система с естественной циркуляцией имеет следующие достоинства:

– равномерное распределение нагретого воздуха в жилых помещениях, что дает дополнительный комфорт. Высокие показатели комфортности зависят от саморегуляции системы отопления, т. е. от изменения температуры и плотности воды;

– простота устройства и обслуживания;

– отсутствие вибрации и шума, потому что нет циркуляционного насоса;

– долгий срок службы системы отопления.

И все же, даже при наличии множества плюсов, такие системы отопления используются все реже и реже (в основном в сельской местности). В настоящее время в загородных домах применяются отопительные системы, в которых имеются циркуляционные насосы. Такое явление вызвано тем, что у данного вида систем имеется ряд недостатков:

– большой диаметр труб, что ведет к значительному расходу стройматериалов;

– большие затраты на установку отопительной системы;

– значительные энергозатраты, т. е. большой расход топлива;

– большие затраты времени на включение системы отопления;

– отсутствие возможности регулировки температуры нагретого воздуха;

– частые случаи замерзания воды в трубопроводах, смонтированных в неотапливаемых помещениях;

– неэстетичный вид проложенного трубопровода из-за большого диаметра труб.

Исходя из перечисленных недостатков, следует признать, что система отопления с естественной циркуляцией теплоносителя довольно часто оказывается малоэффективной и экономически невыгодной.

Отопительные системы с принудительной циркуляцией теплоносителя

В системах такого типа движение теплоносителя по трубопроводам происходит за счет работы циркуляционного насоса, который обеспечивает бесперебойную работу в отопительной системе и подключается к обратной магистрали. Это продляет срок службы всех узлов, контактирующих с горячей водой. Также к обратной магистрали подключают и расширительный бак (о нем будет подробно рассказано в соответствующей главе).

  • Читать дальше
  • 1
  • 2
  • 3
  • 4
  • 5
  • 6
  • 7
  • 8
  • 9
  • 10
  • 11
  • ...

Ебукер (ebooker) – онлайн-библиотека на русском языке. Книги доступны онлайн, без утомительной регистрации. Огромный выбор и удобный дизайн, позволяющий читать без проблем. Добавляйте сайт в закладки! Все произведения загружаются пользователями: если считаете, что ваши авторские права нарушены – используйте форму обратной связи.

Полезные ссылки

  • Моя полка

Контакты

  • chitat.ebooker@gmail.com

Подпишитесь на рассылку: