Вход/Регистрация
Сантехника: выбираем и подключаем самостоятельно
вернуться

Алексеев Виктор Константинович

Шрифт:

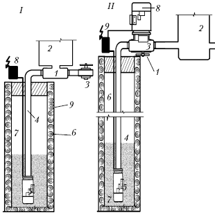
Рис. 38. Подача воды из скважины в дом при самоизливе через стальную задвижку с электроприводом: 1 – электродвигатель (привод); 2 – электрокабель; 3 – труба; 4 – задвижка стальная; 5 – герметичный оголовок; 6 – труба для подачи воды; 7 – скважина; 8 – фильтр

2. Статический уровень воды в скважине залегает выше поверхности земли (условно, при наличии относительно высокого пластового давления), а динамический уровень не ниже 8 м. В этом варианте устанавливаются погружной насос малой мощности, мембранный бак с регулятором – реле давления (напора воды, подаваемой из скважины), задвижка с электроприводом, фильтр на глубине забора воды.

3. Статический и динамический уровни воды в скважине расположены в интервале глубин от 0 до 8 м. При этом также используются погружные насосы небольшой мощности в совокупности с мембранным баков и реле давления, а также фильтром.

4. Динамический уровень воды в скважине залегает на глубине свыше 8 м, что требует установки погружного насоса большей мощности, чем в предыдущих вариантах. В этом варианте также используются фильтр и мембранный бак в комплекте с реле давления. Последний вариант самый дорогостоящий, особенно при больших глубинах залегания уровня воды в скважине.

На удорожании системы частного автономного водоснабжения сказывается большая (относительно) удаленность дома или коттеджа от скважины, приводящая к увеличению потерь напора воды при ее перекачке по трубопроводу.

Как показывает многолетняя практика, минимальное значение напора воды в самой системе частного водоснабжения, обеспечивающее нормальную работу бытовых приборов вроде душевых кабин, стиральных машин и другого, составляет 1,8 бар, или 18 м над уровнем установки этих приборов в доме (или коттедже). Мощность погружного насоса (соответственно, и его марку) подбирают исходя из значения величины напора воды при номинальном требуемом объеме расхода на все бытовые нужды в доме (коттедже). При этом величина напора воды складывается из:

1) глубины залегания динамического уровня воды в скважине;

2) величины потерь напора при транспортировке по трубопроводу;

3) требуемого (номинального) напора воды во всей системе частного водоснабжения.

Как правило, указанная величина напора воды не зависит от глубины установки погружного насоса в скважине. Расчет этой величины необходим для максимально точного расчета мощности погружного насоса. Излишняя мощность насоса не только ведет к большим финансовым затратам при его покупке, но и вызывает быстрое изнашивание всего оборудования системы частного водоснабжения.

Мощность погружного насоса рассчитывается следующим образом. Например, глубина расположения динамического уровня воды в скважине определена при бурении в 40 м, а потери напора воды в трубопроводе при транспортировке от скважины до дома (коттеджа) составляют 7 м, значение напора воды в системе частного водоснабжения дома составляет 30 м, а величина общей водопотребности в доме установлена 2 м3 (кубометра) в час. Таким образом погружной насос, устанавливаемый в скважину, должен обеспечить объем 2 м3 воды в час с глубины 77 м, а его достаточная глубина установки составляет около 45 м. Исходя из подобных расчетов и подбирают соответствующую марку насоса.

По принципу работы скважинные погружные насосы подразделяются на вибрационные («Гном», «Малыш», «Ручеек» и др.) и центробежные («К» и «КМ», «ЦНШ», «Ф»). Насосы типа «К» и «КМ» – одноступенчатые горизонтальные консольного типа с односторонним всасыванием; их используют для перекачки чистой воды с температурой до +85 °C (тип «К»). У насосов типа КМ корпус укреплен на фланце электродвигателя, что ограничивает температуру перекачиваемой воды до +50 °C.

Рис. 39. Насосы, применяемые в системах автономного частного водоснабжения

Насосы «ЦНШ» – центробежные шариковые одноступенчатые горизонтальные консольного типа; они предназначены для перекачки чистой воды. Направление вращения рабочего колеса – против часовой стрелки при взгляде со стороны всасывающей части. Насосы типа «Ф» применяют для перекачки воды с волокнистыми и механическими примесями вроде песка во взвешенном состоянии (их можно применять без фильтра, устанавливаемого в скважине, но в этом случае фильтр необходим на поверхности перед закачкой воды в мембранный бак).

В настоящее время применяют центробежные насосы зарубежного производства – GRUNDFOS, DAW, ESPA, PEDROLLO и др. (рис. 39).

Вибрационные погружные насосы обладают способностью перекачивать воду из скважины с большим содержанием песка, но это приводит к износу труб и необходимости устанавливать фильтры на поверхности. Большим недостатком таких насосов является резкое уменьшение расхода откачиваемой воды из скважины при увеличении высоты ее подъема, сопровождаемое сильной вибрацией. Вибрационные насосы в основном используются в неглубоких скважинах для обеспечения летнего водоснабжения с небольшим расходом при поливах дворовых насаждений около частного дома (или коттеджа). Эти же насосы используют для очистки скважин от заиления (т. е. удаления накопившегося песка на дне скважины (только не очень глубокой).

  • Читать дальше
  • 1
  • ...
  • 19
  • 20
  • 21
  • 22
  • 23
  • 24
  • 25
  • 26
  • 27
  • 28
  • 29
  • ...

Ебукер (ebooker) – онлайн-библиотека на русском языке. Книги доступны онлайн, без утомительной регистрации. Огромный выбор и удобный дизайн, позволяющий читать без проблем. Добавляйте сайт в закладки! Все произведения загружаются пользователями: если считаете, что ваши авторские права нарушены – используйте форму обратной связи.

Полезные ссылки

  • Моя полка

Контакты

  • chitat.ebooker@gmail.com

Подпишитесь на рассылку: