Вход/Регистрация
Сантехника: выбираем и подключаем самостоятельно
вернуться

Алексеев Виктор Константинович

Шрифт:

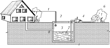
Емкость для приема сточных вод сооружается из монолитного железобетона на основе стальной арматуры диаметром 16–18 мм и арматурной стальной сетки из соответствующей проволоке диаметром 3 мм, с углублением в земле на 2–2,5 м и выполнением гидро– и теплоизоляции для предупреждения замерзания зимой. Вместимость емкости рассчитывается по объему сточных вод в пределах от 5 до 10 м3.

Канализационная труба прокладывается от дома с уклоном в сторону емкости в самом начале строительства частного дома или коттеджа с углублением в землю на 1,6–2 м. Канализационную трубу покрывают тепло– и гидроизоляцией для защиты от воздействия почвенной влаги и сильных морозов, вызывающих замерзание почвы и сливной воды в трубе. Как известно, вывоз сточных бытовых вод (включая фекалии) производится специальными ассенизационными машинами за определенную плату по договорам спецавтохозяйств с владельцами частных домов (или коттеджей). Аналогично производится вывоз твердых бытовых отходов мусоровозами.

Для системы канализации в доме с выводом ее наружу и прокладки до накопительной емкости (для сточных бытовых вод) в настоящее время используются полипропиленовые трубы из полипропилена марки ПП-1 или ПП-3. Чаще всего индивидуальные застройщики используют трубы из полипропилена марки ПП-3 (другое обозначение – PPRC), характеризующегося высокой стойкостью к деформации и перепадам температур. Внутренняя поверхность полипропиленовых труб любой марки исключает развитие болезнетворных бактерий и грибковых микроорганизмов, а также имеет высокую устойчивость к воздействию слабоагрессивной среды, каковой являются сточные воды, а кроме того, выдерживает действия кислот слабой концентрации и хлоридов, присутствующих в сточных водах. Монтаж полипропиленовых труб в системе внешней канализации производится в теплое время года, потому что при сильных морозах они становятся хрупкими. Выполнение надежной теплоизоляции канализационных полипропиленовых труб обеспечивает их эксплуатацию в течение почти 50 лет (об этом свидетельствует многолетняя практика их применения в странах зарубежной Европы во всех отраслях строительного комплекса – гражданского и промышленного). Индивидуальные застройщики западных стран чаще всего используют для канализации полипропиленовые трубы, имеющие большие преимущества перед чугунными, в частности по весу, цене, простоте монтажа и по другим показателям (перечислены выше).

Максимальная температура постойной сточной воды для полипропиленовых труб не должна превышать +70 °C, причем поверхность их и соединительных фасонных частей (тройников, муфт, отводов, крестовин, патрубков, ревизий) должна быть ровной и гладкой; не допускаются трещины, раковины и вздутия, утяжины и посторонние включения. Непрямолинейность труб из полипропилена допускается не более 25 мм на 1 м длины трубы.

Для канализации используются полипропиленовые трубы диаметром от 100 мм до 160 мм с толщиной стенки от 6 до 8,5 мм, фасонные части применяются аналогичных диаметров и толщин стенки. Раструбы и гладкие концы фасонных частей используемых при монтаже канализации в системе утилизации сточных вод частного дома и коттеджа изготовляют 4 типов:

1) для соединения с помощью резинового уплотни-тельного кольца или склеивания;

2) для соединения с помощью контактной раструбно-стыковой сварки;

3) для соединения с помощью накидной гайки с резиновой прокладкой;

4) для соединения с помощью муфты с вкладной электроспиралью для контактной стыковой сварки.

Для нормального функционирования соединения по типу I (с помощью резиновых уплотнительных колец) на гладкий конец трубы наносят монтажную метку, показывающую, на какую длину конец полипропиленовой трубы должен быть вставлен в раструб. Как показывают специальные исследования лабораторий ЖКХ, раструбное соединение более прочно, чем стыковая сварка. Раструбное соединение выполняется следующим образом: на конце одной из соединяемых полипропиленовых труб снимают фаску под углом 45° с помощью ручной электрической шлифовальной отрезной машины (рис. 49); на другом конце формуют раструб и соединяют кольцевой сваркой кромки раструба с трубой.

Соединения выполняют также при помощи надвижных муфт, при этом фаски снимают электрошлифмашиной под углом 30° (рис. 49), расстояние между торцами соединяемых полипропиленовых труб в корне шва делают в пределах 1 – 1,2 мм, а концы труб сваривают встык. Надвижную муфту устанавливают так, чтобы ее середина находилась на месте сварного шва (рис. 49).

Рис. 49. Раструбное и муфтовое соединение полипропиленовых труб в системе канализации при утилизации сточных вод в частном секторе: а) раструб, фаска 45°, патрубок; б) фаски 30°, муфта

Стыки труб и полипропиленовых муфт проваривают с помощью газовых или электрических горелок. Но чаще всего при монтаже канализации из полипропиленовых труб и соединительных частей применяют клей, содержащий 15–16 % перхлоровой смолы и 85–86 % метиленхлорида. Прочность клеевых соединений в значительной степени зависит от состояния склеиваемой поверхности, поэтому перед склеиванием поверхность полипропиленовых труб предварительно подготавливают:

1) удаляют загрязнения;

2) создают шероховатость склеиваемых поверхностей при помощи ручной электрошлифмашины, оснащенной абразивным кругом;

3) обезжиривают ацетоном или другим растворителем. При склеивании труб клей наносят на 2/3 глубины раструба или соединительной муфты и на всю длину подготовленного конца полипропиленовой трубы, после чего подготовленный конец с нанесенным клеем немедленно вводят в раструб до упора (или в муфту до ее середины). В зависимости от величины зазора между внутренней поверхностью раструба и наружной поверхностью гладкого конца трубы клей наносят одним или двумя слоями с определенными интервалами в пределах 10–15 мин. При соединении полипропиленовых труб с помощью надвижной муфты концы труб (защищенные электрошлифмашиной) промазывают клеем и надвигают предварительно нагретую муфту. Склеенные соединения должны находиться в покое не менее 2 ч, и затем через 24 ч их испытывают внутренним давлением, применяя малогабаритный компрессор.

При контактной сварке полипропиленовых труб и соединительных (фасонных) частей раструб одновременно оплавляют газовой или электрической (инфракрасной) горелкой наружную поверхность конца и внутреннюю поверхность раструба, а затем быстро вдвигают оплавленный конец трубы в оплавленный раструб. Такое соединение обычно выполняют с помощью раструбных фасонных частей (муфт, угольников, тройников, патрубков, крестовин), изготовляемых в заводских условиях методом литья под давлением.

При отсутствии соединительных муфт заводского изготовления их делают из отрезка полипропиленовой трубы, толщина стенки и диаметр которой больше толщины стенки и диаметра свариваемых труб.

Температура контактной сварки встык или в раструб полипропиленовых труб и фасонных (соединительных частей составляет +235 °C (±10 °C); давление при оплавлении торцов труб находится в пределах 0,08 МПа; время оплавления при толщине полипропиленовых труб и фасонины от 6 до 8 мм составляет 80-100 с; период времени между окончанием оплавления и контактом торцов труб выдерживается в пределах 1,5–2 с; давление испытательное полученного соединения – 0,15 МПа; продолжительность выдержки под давлением – 4 мин.

  • Читать дальше
  • 1
  • ...
  • 27
  • 28
  • 29
  • 30
  • 31
  • 32
  • 33
  • 34
  • 35

Ебукер (ebooker) – онлайн-библиотека на русском языке. Книги доступны онлайн, без утомительной регистрации. Огромный выбор и удобный дизайн, позволяющий читать без проблем. Добавляйте сайт в закладки! Все произведения загружаются пользователями: если считаете, что ваши авторские права нарушены – используйте форму обратной связи.

Полезные ссылки

  • Моя полка

Контакты

  • chitat.ebooker@gmail.com

Подпишитесь на рассылку: