Вход/Регистрация
Домашняя коптильня. Секреты технологии копчения. Старинные и современные рецепты
вернуться

Звонарев Николай Михайлович

Шрифт:

Холодное копчение

При нем основная задача — получить холодный дым от сжигаемых дров (ольха, можжевельник, дуб, клен, яблоня, груша и т. д.), то есть понадобится какое-то расстояние от дыма до продуктов, чтобы он успел остыть. И необходимо обеспечить и тягу от топки до коптильни. Именно поэтому делают достаточно длинный дымоход и следят, чтобы в нем была хорошая тяга.

Простейшая стационарная коптильня на улице. Для нее роют канал длиной 2,5–3 метра, и его стены выкладывают кирпичом, чтобы земля не осыпалась. Кстати, силикатный кирпич брать нельзя, при нагревании он выделяет вредные газы. Сверху канал прикрывают металлическим листом и засыпают слоем земли 15 см.

Рис. 7. Простейшая стационарная коптильня на улице:

1 — костер; 2 — шифер; 3 — кирпичи; 4 — емкость для копчения; 5 — решетка для крепления прутков

В печном канале делают два отверстия: одно — в передней части, другое — в задней. Переднее отверстие предназначается для подкладывания дров при копчении, в заднее отверстие устанавливается коптильная камера. Для самой коптильни можно взять любую старую бочку (деревянную или железную), небольшую полую цистерну или что-либо другое подходящее. Можно вообще выложить стационарную коптильную камеру из кирпича. Во время копчения продуктов печь сверху накрывают плотной материей.

Можно над коптильной камерой установить наклонный металлический зонт, который исключит образование конденсата.

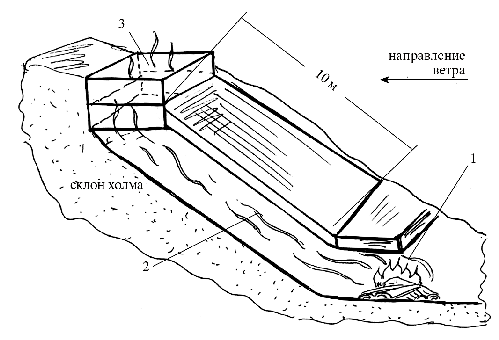
Походная коптильня в земле. Ее делают на склонах крутых холмов, обрывах и подобных местах с наветренной стороны. Выкапывают по склону холма траншею длиной 2–3 м, перекрывают ее сверху палками, ветками и закрывают снятым дерном. На другом конце дымохода устраивают коптильную камеру. Ее можно сделать из толстой полиэтиленовой пленки, поскольку температура дыма будет невысокая. По низу пленка прижимается к земле камнями или присыпается землей/песком так, что бы не оставалось щелей. В верхней части получившейся будки нужно сделать вытяжную щель. С одной стороны траншеи разводят костер и нажигают много углей. Поверх углей накладывают много веток. Все плотно укрывают куском брезента или чем-либо подобным, внизу оставляют щель, чтобы образовалась тяга. Тяга должна быть такая, чтобы угли не угасали, но не настолько сильной, чтобы образовывалось пламя.

Рис. 8. Стационарная коптильня в земле:

1 — костер; 2 — коптильная камера

Рис. 9. Походная коптильня в земле:

1 — костер; 2 — дым; 3 — коптильная камера

Коптильня из старого холодильника. Корпус холодильника будет играть роль коптильной камеры. В него можно поставить электроплитку-блин, самую маломощную (или паяльник, или прибор для детского выжигания). На нее и будет насыпаться коптильная щепа или угли. Чтобы проверять температуру дыма (не выше 35 градусов), ставят термодатчик. Железные решетки-полки холодильника будут служить местом для приготовляемых продуктов.

Рис. 10. Коптильня из старого холодильника:

1 — печка; 2 — труба с охладителем; 3 — коптильная камера; 4 — вентилятор дымосос

Если же хочется сделать коптильную камеру отдельно от нагревательной, то можно взять 2–3–4 м (по желанию) оцинкованной трубы и присоединить ее к холодильнику. Трубу можно прикопать в землю, если есть желание сделать стационарную установку, именно по трубе пойдет постепенно охлаждающийся дым от тлеющего кострища.

Копчение в мешке из полиэтилена. Нужно взять 2 м двухслойной полиэтиленовой пленки, применяемой садоводами и огородниками. Одну из торцевых сторон зашить, чтобы получился мешок. На улице (на рыбалке, на отдыхе или просто в саду) выбрать ровную площадку и вбить в землю сантиметров на 30 по углам квадрата 1 на 1 метр колья высотой 2 м. Сверху колья скрепляют крест-накрест палками — это будет каркас коптильни. К палкам сверху подвешивают подготовленный продукт.

Угли для копчения нажигают заранее, в стороне, чтобы под полиэтиленом огня не было (сейчас их можно купить). Пленку наполовину натягивают на каркас, снизу высыпают угли и накрывают их свежей травой. Пленку опускают до низа и прижимают камнями или песком к земле, чтобы не было щелей. Дым заполняет мешок полностью. Время от времени проверяют, не пробилось ли из-под травы пламя, при необходимости ее добавляют. Для рыбы достаточно два захода по 1,5–2 часа. Крупную рыбу можно на следующий день прокоптить еще раз.

Полугорячее копчение

Оно, как понятно из названия, является промежуточным между горячим и холодным копчением. Устройство коптильни при нем практически такое же, как при холодном, но температура дыма повыше, где-то +50–60 °C. Следовательно, длина трубы для дыма должна быть меньше, а тяга в ней выше. Сам процесс копчения занимает около суток.

Коптильную камеру можно оборудовать на конце трубы обычной печки буржуйки в виде широкого короба (раструба) без крышки. При копчении продукты помещаются в районе выхода дыма из трубы, но так, чтобы дым уже начинал в этом месте смешиваться с воздухом.

Сохранность продуктов при этом методе составляет несколько недель.

Вариации на тему

Копчение на плите. Понадобится прямоугольный металлический ящик. На его дно насыпают древесные опилки, сверху устанавливают поддон на ножках (чтобы собирался жир). Снаружи сверху по периметру прикрепляют жестяной желоб, в который перед копчением наливают воду. Крышка должна быть несколько больших размеров, чем ящик (она должна лечь посередине желоба). К ней нужно прикрепить крюки, к которым подвешивается продукт. В середине крышки можно укрепить трубку, на которую надевают резиновый шланг, чтобы выводить дым в форточку. Такую коптильню нужно держать на самом слабом огне. Через 1–1,5 часа продукт будет готов.

  • Читать дальше
  • 1
  • 2
  • 3
  • 4
  • 5
  • 6
  • 7
  • 8
  • 9
  • ...

Ебукер (ebooker) – онлайн-библиотека на русском языке. Книги доступны онлайн, без утомительной регистрации. Огромный выбор и удобный дизайн, позволяющий читать без проблем. Добавляйте сайт в закладки! Все произведения загружаются пользователями: если считаете, что ваши авторские права нарушены – используйте форму обратной связи.

Полезные ссылки

  • Моя полка

Контакты

  • chitat.ebooker@gmail.com

Подпишитесь на рассылку: