Вход/Регистрация
5,45-мм пистолет самозарядный малогабаритный. Техническое поисание и инструкция по экспуатации
вернуться

Министерство обороны СССР

Шрифт:

Рис. 5. Тяга курка в сборе:

3 — защелка магазина 1-15; 4 — боевая пружина 1-14; 5 — тяга курка 1-13; а — насечка; б — выступ; ч — выступ "отбоя"; ш — выступ; ц— выемка

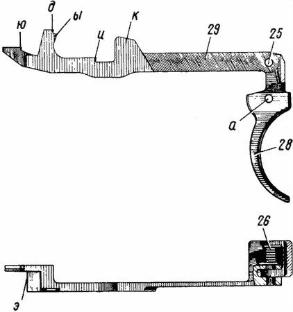
5.2.3. Спусковой крючок в сборе

Спусковой крючок в сборе (рис. 6) служит для спуска курка с боевого взвода и для взведения курка.

Спусковой крючок в сборе состоит из собственно спускового крючка 28, соединенного осью 25 со спусковой тягой 29, и пружины 26 спуска.

Спусковая тяга служит для спуска курка с боевого взвода и взведения курка при нажиме на хвост спускового крючка. Спусковая тяга имеет разобщающий выступ к, при помощи которого при движении затвора назад спусковая тяга опускается вниз и расцепляется с шепталом; предохранительный зуб и, посредством которого при включенном предохранителе застопоривается спусковая тяга в заднем положении; в задней части зуб д для поворота шептала вперед при спуске курка с боевого взвода; зуб ы для поворота шептала вперед при производстве выстрела самовзводом; выступ э, которым спусковая тяга опирается о клиновидный выступ а курка (рис. 4); зуб ю (рис. 6), взаимодействующий с зубом самовзвода курка в (рис. 4) при производстве выстрела самовзводом.

Рис. 6. Спусковой крючок в сборе:

25 — ось тяги 1-19; 26 — пружина спуска 1-17; 28 — спусковой крючок 1-16; 29 — спусковая тяга 1-18; а — отверстие; д — зуб; и — предохранительный зуб; к — разобщающий выступ; э — выступ; ю — зуб самовзвода; ы — зуб

Пружина 26 спуска (рис. 6) служит для возвращения спускового крючка и спусковой тяги в исходное положение.

Пружина спуска имеет: слева — длинный конец, опирающийся о внутреннюю стенку спускового крючка, справа — загнутый короткий конец, входящий в выемку головки спусковой тяги.

Ось 25 спусковой тяги служит для взаимного соединения спускового крючка, спусковой тяги и пружины спуска.

Крепится ось посредством развальцовки левой стенки спускового крючка.

5.2.4. Шептало

Шептало 8 (рис. 7) служит для удержания курка на боевом и предохранительном взводах.

Рис. 7. Шептало с пружиной:

7 — пружина шептала 1–3; 8 — шептало 1–2; а1 — зуб; б1 — цапфа; в1 — выступ; ж — предохранительный зуб; я — носик

Шептало имеет: в верхней части — носик я, на который при включении предохранителя действует ребро ю1 предохранителя (рис. 11) для поворота шептала, выступ в1 (рис. 7) для удержания курка на боевом и предохранительном взводах; справа на консольной части — предохранительный зуб ж, блокирующий перемещение спусковой тяги вперед при включенном предохранителе посредством сцепления его с зубом и спусковой тяги (рис. 6), зуб а1 (рис. 7), с которым спусковая тяга зацепляется зубом д (рис. 6) при стрельбе с боевого взвода и зубом ы — при стрельбе с самовзвода; в средней части — удлиненную цапфу б1 (рис. 7), на которой устанавливается пружина шептала, отверстие для оси шептала. Нижний конец шептала служит для уравновешивания массы шептала относительно оси вращения.

Пружина шептала служит для возвращения шептала в исходное положение и прижатия его к курку. Пружина шептала имеет левый и правый концы, которые соответственно опираются в выемку шептала и паз рамки.

5.3. Останов

Останов 19 (рис. 2, 8) служит для удержания затвора в заднем положении по израсходовании всех патронов из магазина и, кроме того, выполняет работу по отражению гильз и патронов при перезаряжании.

Рис. 8. Останов:

г1 — цапфа; д1 — выступ; ж1 — отражающий выступ; и1 — выступ; к1 — выступ

Останов имеет: в передней части — выступ к1 (рис. 8), на который действует пружина 24 останова (рис. 2) через фиксатор 23, находящийся в рамке, и прижимает останов к рамке, удерживая его в этом положении при стрельбе; в средней части — цапфу г1 (рис. 8), являющуюся осью вращения останова, выступ д1 для ограничения поворота останова при удержании затвора на останова; в задней части отражающий выступ ж1 и выступ и1, на который действует соответствующий выступ м2 подавателя 34 (рис. 16) по израсходовании всех патронов из магазина.

  • Читать дальше
  • 1
  • 2
  • 3
  • 4
  • 5
  • 6
  • 7
  • 8
  • ...

Ебукер (ebooker) – онлайн-библиотека на русском языке. Книги доступны онлайн, без утомительной регистрации. Огромный выбор и удобный дизайн, позволяющий читать без проблем. Добавляйте сайт в закладки! Все произведения загружаются пользователями: если считаете, что ваши авторские права нарушены – используйте форму обратной связи.

Полезные ссылки

  • Моя полка

Контакты

  • chitat.ebooker@gmail.com

Подпишитесь на рассылку: