Вход/Регистрация
Водоснабжение, канализация и отопление загородного дома
вернуться

Никитко Иван

Шрифт:

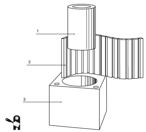
Можно использовать дымоходы, изготовленные из керамики, стойкой к кислотам (Рис. 3.36).

Но у таких дымоходов есть довольно существенный недостаток – большой вес, в «легких» домах их устанавливать затруднительно. Возникают также проблемы при установке керамических дымоходов в уже готовых домах, в которых не были предусмотрены подобные нагрузки на фундамент.

Свойством быстро нагреваться при соответствующем воздействии обладает сталь. Ну а если обеспечить стальной трубе надежную теплоизоляцию, то проблема оказывается решенной: труба дымохода, выполненная из нержавеющей стали и утепленная базальтовым волокном высокой плотности, отвечает всем заявленным требованиям – быстро нагревается и медленно охлаждается. Это позволяет быстро преодолевать порог конденсатообразования, а также поддерживать нужную температуру дымовой трубы во время отключений котельного оборудования таким образом, что конденсат практически не образуется. В такой трубе тяга стабильна, а проблем с сажей и конденсатом не возникает. К тому же в стальных дымоходах отсутствуют тепловые мостики (то есть нет холодных мест, где может происходить выпадение конденсата), они имеют круглое сечение и гладкие внутренние стенки, что облегчает удаление продуктов сгорания.

Рис. 3.36.Конструкция дымоходной трубы из керамики: 1 – дымоходная труба из керамики; 2 – изоляционные плиты; 3 – каменная оболочка дымоходной трубы

Дополнительным плюсом стальных дымоходов является их унификация: отдельные модули стандартизованы и совместимы друг с другом.

Но стандартизация элементов дымохода вовсе не означает, что можно приобрести первый попавшийся дымоход, который понравился внешне или по цене. Дымоход должен соответствовать котельному оборудованию как по виду топлива, так и по мощности.

Различные виды топлива имеют разный химический состав и, как следствие, дают различные смеси газообразных продуктов сгорания. Кроме того, температура продуктов сгорания тоже различается в зависимости от модификации отопительного котла. Поэтому сталь, из которой изготовлен дымоход, должна быть определенной марки, соответствующей кислотности (рН) продуктов сгорания (различные марки стали отличаются добавками, которые и определяют их кислотоустойчивость).

Соответствие мощностей также имеет немаловажное значение: если тяга в дымоходе будет слишком сильной, превышающей мощность котла, то в результате в трубу в прямом смысле слова начнет вылетать топливо – не успевая выгорать до конца, оно устремится в разреженную область, создаваемую тягой дымохода, причем в трубе может оказаться не только газообразное топливо, но даже распыленное горелкой жидкое.

Для расчета параметров дымохода требуется знать не только характеристики котельного оборудования, но и место его расположения. Особенно важен план высот: дымоход должен иметь высоту не менее 5 м от выходного патрубка отопительного котла. Кроме того, если в непосредственной близости к дому располагаются другие строения, особенно большей высоты, чем дом, то в расчете должна учитываться и высота рассеивания исходящих газов, иначе вы рискуете «полить» агрессивным конденсатом окружающие постройки. Существуют и определенные нормативы, оговаривающие высоту дымохода над крышей (Рис. 3.37):

при наличии плоской кровли высота дымовой трубы должна быть не менее 0,5 м над уровнем кровли;

если труба располагается на расстоянии до 1,5 м от конька кровли, то высота ее должна быть не менее 0,5 м над коньком;

если труба располагается на расстоянии 1,5–3 м от конька кровли, то высота ее должна быть не менее высоты конька кровли;

если труба располагается на расстоянии более 3 м от конька кровли, то она должна быть не ниже линии, проведенной от кровельного конька вниз под углом 10° к горизонту;

если кровля выполнена из горючих материалов (дранка, солома, камыш и т. д.), то высота трубы должна превышать высоту конька кровли не менее чем на 1–1,5 м.

Рис. 3.37.Высота расположения трубы дымохода над кровлей

Желательно также установить над дымоходом дефлектор, который будет препятствовать попаданию внутрь осадков, грязи, мусора, животных (особенно птиц), а также ветру, который может помешать эффективному выводу продуктов сгорания. Оптимально, если дефлектор будет снабжен искрогасящей решеткой.

В настоящее время используются одноконтурные (Рис. 3.38) и двухконтурные (Рис. 3.39) дымоходы.

Желательно, чтобы расчет дымохода выполнялся специалистом, который сможет грамотно учесть все необходимые технические характеристики и определить оптимальную конфигурацию дымохода, его высоту, нужный вариант подключения. Ошибка в таких расчетах больно бьет по карману домовладельца: перерасход топлива, нестабильность и неэффективность отопительной системы, отравление окружающей среды, недолговечность котельного оборудования и самого дымохода – все это приводит к весьма существенным расходам. Так что дымоход – не «простое дело», а требующее высокого профессионализма как для расчета, так и для установки (компания, занимающаяся установкой дымоходов, должна иметь лицензию на соответствующий вид деятельности).

Рис. 3.38.Одноконтурный дымоход: 1 – дымоотвод; 2 – шахта кирпичная; 3 – дымоходная труба; 4 – монтажная площадка; 5 – ревизия; 6 – дефлектор

Дымоходы и трубы для воздухозабора могут располагаться различным образом (Рис. 3.40).

Рис. 3.39.Двухконтурный дымоход: 1 – дымоотвод; 2 – труба изолированная; 3 – тройник изолированный; 4 – ревизия; 5 – монтажная площадка; 6 – емкость для конденсата; 7 – дефлектор

  • Читать дальше
  • 1
  • ...
  • 43
  • 44
  • 45
  • 46
  • 47
  • 48
  • 49

Ебукер (ebooker) – онлайн-библиотека на русском языке. Книги доступны онлайн, без утомительной регистрации. Огромный выбор и удобный дизайн, позволяющий читать без проблем. Добавляйте сайт в закладки! Все произведения загружаются пользователями: если считаете, что ваши авторские права нарушены – используйте форму обратной связи.

Полезные ссылки

  • Моя полка

Контакты

  • chitat.ebooker@gmail.com

Подпишитесь на рассылку: