Вход/Регистрация
Фундаментные работы
вернуться

Сбитнева Евгения

Шрифт:

Чтобы слои лучше сцеплялись, рубероид или толь заранее очищают от защитной слюдяной или песочной посыпки стальными щетками, затем острым ножом разрезают на куски нужного размера и свертывают в рулоны, которые при устройстве изоляции раскатывают по обмазанной мастикой поверхности. Второй слой изоляции покрывают сверху слоем горячей мастики толщиной 2 мм и продолжают кладку.

Оклеечную гидроизоляцию боковых поверхностей фундаментов и стен подвалов с помощью рулонных материалов выполняют в такой же последовательности, как и горизонтальную. Перед наклейкой гидроизоляционного слоя основание очищают от пыли и мусора и высушивают: на запыленные и влажные поверхности мастику наносить нельзя, так как изоляция будет отслаиваться.

Поверхность изолируемых конструкций должна быть ровной, сухой, без впадин и бугров. Перед наклеиванием ее сначала огрунтовывают мастикой, затем наклеивают последовательно один за другим слои изоляции; каждый слой оклеечной вертикальной изоляции соединяют с горизонтальной изоляцией внахлест не менее чем на 150 мм, чтобы в место стыка горизонтальной и вертикальной изоляции не проникала вода. Стыки слоев изоляции также делают внахлест на 100–150 мм.

На горизонтальные и слабо наклонные (до 25°) поверхности материал наклеивают следующим образом: после высыхания грунтовки раскатывают рулон и подклеивают один конец полотнища, фиксируя нужное направление материала. Затем рулон скатывают, наносят на изолируемую поверхность слой мастики, снова раскатывают рулон и наклеивают его на подготовленное основание. В каждом последующем слое полотнище должно перекрывать предыдущий слой не менее чем на 100 мм в продольных стыках и не менее чем на 150 мм в поперечных. Расположение одного шва над другим в смежных слоях изоляции и наклейка рулонных материалов во взаимно перпендикулярном направлении не допускаются.

На вертикальные и сильно наклонные (25°) поверхности рулонные материалы наклеивают участками – так называемыми захватками высотой 1,2–1,5 м в направлении снизу вверх.

Материалы предварительно раскраивают на куски с учетом нахлеста. При наклеивании рулоны тщательно притирают к основанию и к ранее наклеенным слоям деревянными шпателями с удлиненной ручкой; на горизонтальных поверхностях наклеиваемые материалы, кроме того, прикатывают катками массой 70–80 кг с мягкой обкладкой.

Швы нахлеста дополнительно промазывают мастикой, отжатой при притирании и укатке материала. Наружную поверхность последнего слоя изоляционного материала покрывают сплошным слоем мастики и посыпают горячим сухим песком.

Гидроизоляция фундаментов традиционными рулонными материалами

Гидроизоляция и ремонт конструкций, подвергающихся действию подземных и надземных вод, будет необходимо не только во время строительства дома, но и в период его дальнейшей эксплуатации.

Известно, что бетонные, каменные и кирпичные здания в большинстве случаев подвергаются воздействию агрессивных подземных вод, что, в свою очередь, приводит к следующим процессам:

– коррозии поверхности;

– выщелачиванию;

– нарушению структуры;

– старению бетона;

– потере прочности;

– ухудшению водопроницаемости;

– потере плотности.

В результате происходит полное разрушение сооружения. Во избежание подобной неприятности его защищают с помощью специальных материалов.

Условно все защитные материалы делятся на две группы:

– традиционные (рулонные и мастичные), изготовленные на основе полимерных смол, полимеров, битумных мастик и др.;

– материалы проникающего действия на основе минерального сырья.

В настоящее время наиболее популярными изоляционными средствами считаются материалы второй группы, принцип действия которых предусматривает проникновение химических составляющих в пористую структуру материала защищаемой конструкции с последующим заполнением пор кристаллогидратами, благодаря чему эксплуатационные характеристики бетона с течением времени только повышаются.

Нередко используют гидроизоляцию фундаментов традиционными материалами. Выполняют ее несколькими способами:

1) укладывают цементный раствор слоем 2–3 см, выравнивают и сушат, после чего настилают рубероид;

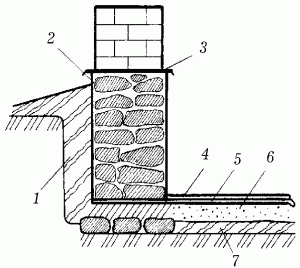
2) из 1 части разогретой сосновой смолы и 0,5 частей просеянной извести-пушонки готовят мастику, которую в горячем виде наносят тремя слоями на цемент. При этом толщина каждого слоя должна быть не менее 3 мм. Верхнюю часть фундамента покрывают горячей битумной мастикой и наклеивают на нее слой рубероида (рис. 19).

Рис. 19. Гидроизоляция фундаментов традиционными рулонными материалами: 1 – глина; 2 – слой цементного раствора, снаружи покрытый битумом; 3 – гидроизоляция; 4 – цементный пол; 5 – гидроизоляция; 6 – слой керамзита; 7 – глина.

В домах с подвалом рекомендуется устраивать двухуровневую гидроизоляцию: первый уровень размещают в фундаменте на уровне пола подвала, а второй – в цоколе, на 20 см выше поверхности отмостки, при этом стены и пол подвала изолируют.

Если уровень грунтовой воды ниже уровня пола подвала, то с наружной стороны соприкасающиеся с грунтом стены покрывают битумом. На пол кладут слой жирной глины, уплотняют, покрывают слоем бетона, выравнивают и выдерживают в течение 14 дней.

По истечении указанного срока поверхность пола покрывают слоем битума и наклеивают два слоя рубероида или другого изоляционного материала. Сверху покрывают цементным раствором и железнят.

  • Читать дальше
  • 1
  • ...
  • 10
  • 11
  • 12
  • 13
  • 14
  • 15
  • 16
  • 17
  • 18
  • 19
  • 20
  • ...

Ебукер (ebooker) – онлайн-библиотека на русском языке. Книги доступны онлайн, без утомительной регистрации. Огромный выбор и удобный дизайн, позволяющий читать без проблем. Добавляйте сайт в закладки! Все произведения загружаются пользователями: если считаете, что ваши авторские права нарушены – используйте форму обратной связи.

Полезные ссылки

  • Моя полка

Контакты

  • chitat.ebooker@gmail.com

Подпишитесь на рассылку: