Вход/Регистрация
Загородный участок с нуля
вернуться

Шухман Юрий

Шрифт:

Рис. 2.8.2. Крепление калитки в металлическом (сварном) исполнении

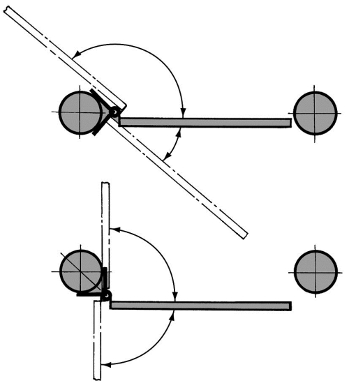
Решить обе проблемы оказалось возможным при помощи простой конструкции крепления калитки в металлическом (сварном) исполнении (рис. 2.8.2). На рис. 2.8.3 в плане сплошной линией показано положение «закрыто», а пунктиром — «открыто». Видно, что углы открытия наружу и внутрь могут быть разными. Изменяя взаимное положение упора-ограничителя и рамы калитки, например, в закрытом положении, можно менять их соотношение. Последний вариант соотношения углов открытия калитки оказался очень полезным. В реально имевшем место случае такая калитка вошла в состав предыдущей конструкции (Одним столбом меньше). Но тогда при въезде-выезде автомобиля калитка является и воротной створкой. С учетом того, что улица, примыкающая к границе участка оказалась очень уж узкой, именно специально подобранное соотношение углов позволило организовать приемлемые и въезд-выезд, и проход.

Рис. 2.8.3. Варианты соотношения углов открытия калитки внутрь и наружу

При монтаже выбранное положение упора-ограничителя отмечается на столбе мелом, после чего на нем сваркой фиксируются петли с таким расчетом, чтобы ось петли совпадала с угловым ребром упора-ограничителя, установка которого на место является завершающей операцией. Между верхушкой петли упором-ограничителем обеспечивается зазор, в пределах которого возможно вертикальное перемещение створки калитки. Аналогичное решение нетрудно использовать и для случая деревянной конструкции калитки на деревянном же столбе.

Рис. 2.8.4. Двухэтажная калитка

Автор и исполнитель очень многих оригинальных технических решений в области самодеятельного строительства А.И. Плотниковиз г. Смоленска успешно реализовал свои решения в области «заборостроения».

Двухэтажная калитка.Приезжая зимой на свой участок, садоводы обычно испытывают серьезные трудности. Калитка занесена снегом, а если она еще и открывается внутрь, то остается только одно — лезть через забор. Избавиться от этих трудностей можно, если приподнять калитку на 35–40 см от земли и навесить ее так, чтобы открывалась «на себя» (на улицу). Перекрыть доступ чужой живности на участок через проем под калиткой проще всего с помощью легкосъемного решетчатого щитка. Открыть такую калитку зимой будет очень просто. Несложно перешагнуть и через «порожек», а при перевозке тяжестей его можно снимать.

Пользоваться калиткой будет еще удобнее, если сделать ее двухстворчатой (рис. 2.8.4), располагая створки одна над другой. Петли обеих створок должны быть строго на одной прямой линии. Летом обе створки соединяются между собой с помощью обычного шпингалета или засова. А зимой, даже если выпадет очень глубокий снег, открыть верхнюю часть калитки и свободно попасть к себе на участок не составит особого труда.

Рис. 2.8.5. Ворота «зигзаг»

Ворота «зигзаг».Каждый раз, приезжая к себе на садовый участок, наблюдал одни и те же мучения автомобилистов — проезд между участками настолько узкий, что двум машинам никак не разъехаться. Оставить машину на дороге перед участком нельзя, но и въехать из узкого проезда в обычные «распашные» ворота тоже не просто. А выход из этой затруднительной ситуации оказался очень простым. Если сделать створки ворот открывающимися в разные стороны — «зигзаг», а автомобиль ставить параллельно ограде, то въезжать на участок станет намного легче (рис. 2.8.5). Идея понравилась моим соседям и многие из них уже переделали свои ворота по этому же принципу.

2.9. Живые изгороди

Использовать живую изгородь в качестве ограды человек научился у самой природы. Еще наши предки, продираясь сквозь заросли колючего кустарника, придумали высаживать его вокруг жилища, чтобы защититься от диких животных. Со временем живая изгородь не только не перестала защищать человека от зверей, но превратилась еще в непременный атрибут садово-парковой архитектуры.

Теперь живые стенки из хвойных и лиственных пород, которые могут менять цвет своей листвы в зависимости от времени года, служат ограждением парковых зон и загородных участков (фото 2.9.1). Живые изгороди помогают экономить тепло в домах, продлевают сроки между их ремонтами и являются своего рода мини-биотопом, то есть средой обитания растений, животных и микроорганизмов.

Живые изгороди можно устраивать не только на больших территориях, но и на маленьких участках (фото 2.9.2). Зеленые насаждения используют и в качестве забора. Такие ограды не требуют много места, затраты на их создание и поддержание в должном порядке не так уж и велики, они оригинальны и прекрасно выглядят в любое время года. На фоне высокой живой изгороди и внутреннее художественное оформление сада смотрится отлично.

Одним из вариантов живого забора служит однорядная изгородь-плетенка. Для такой изгороди вокруг участка лучше всего высадить неприхотливые кустарники и деревья, хорошо поддающиеся формированию, то есть растения, которые хорошо переносят стрижку, поскольку подвергаться ей они будут регулярно.

Если необходима высокая ограда, которая сможет служить надежной защитой от пыли, шума и сильных ветров, то лучше использовать любые виды боярышника, акацию желтую, терновник, различные ивовые, калину.

При выборе вида растения для живой изгороди следует учитывать тип почвы, глубину залегания грунтовых вод, силу и направление ветра. От этого зависит, как приживется растение и как оно будет себя чувствовать в будущем. И, конечно, такой «забор» должен радовать глаз своей кроной, которая в зависимости от сезона будет или с буйным весенним цветением, или с разноцветием осенней окраски, или с почти не изменяющейся зеленью листвы в зимнее время года.

  • Читать дальше
  • 1
  • ...
  • 11
  • 12
  • 13
  • 14
  • 15
  • 16
  • 17
  • 18
  • 19
  • 20
  • 21
  • ...

Ебукер (ebooker) – онлайн-библиотека на русском языке. Книги доступны онлайн, без утомительной регистрации. Огромный выбор и удобный дизайн, позволяющий читать без проблем. Добавляйте сайт в закладки! Все произведения загружаются пользователями: если считаете, что ваши авторские права нарушены – используйте форму обратной связи.

Полезные ссылки

  • Моя полка

Контакты

  • chitat.ebooker@gmail.com

Подпишитесь на рассылку: