Вход/Регистрация
Полы, арки и перегородки в современном доме
вернуться

Котельников Владимир Семенович

Шрифт:

Направляющие профили следует установить по разметке и прикрепить к полу с помощью дюбелей. Для этого сквозь профиль в основание пола перфоратором нужно просверлить отверстия. Для деревянного основания применяются шурупы по дереву, и в этом случае сверлить пол не потребуется. Далее собирают верхние направляющие профили, выравнивают их с помощью уровня и крепят дюбелями. Направляющие фиксируются на стенах, полу и потолку с шагом не более 1 м (рис. 76).

Рис. 76. Монтаж направляющих

На один профиль приходится, как минимум, 3 крепления. Крайние дюбели нужно монтировать на расстоянии не более 50 см от конца профиля.

В направляющие профили по отвесу необходимо установить стоечные профили с шагом 60 см. Стойки монтируются сначала в нижний, а затем – в верхний направляющий профиль.

Профили следует соединить между собой с помощью шурупов-саморезов. Во время монтажа каркаса устанавливаются дверные коробки. Стоечные профили, которые ограничивают дверной проем, монтируются на всю высоту перегородки. Стойку, на которой находятся дверные петли, необходимо по всей длине усилить деревянным бруском такого же сечения или соединить шурупами с одноразмерным направляющим профилем.

Когда каркас установлен, с одной его стороны монтируется ГВЛ или ГКЛ. Технология установки и крепления листов аналогична облицовке стен по каркасу.

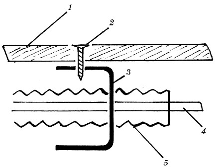
Горизонтальные стыки должны выполняться вразбежку и опираться на перемычки из направляющего профиля. Головки шурупов нужно утопить на 1 мм и обязательно зашпаклевать. Монтаж листов осуществляется последовательно в одном направлении. После облицовки одной стороны каркаса необходимо смонтировать электропроводку. Кабель прокладывается перпендикулярно стойкам, в которых для этого имеется специальное отверстие. Одновременно кабель должен находиться в специальной гофротрубе (рис. 77).

Рис. 77. Прокладка кабеля: 1 – гипсокартон;2 – саморез; 3 – вертикальная направляющая; 4 – кабель; 5 – гофротруба

На следующем этапе в гипсокартонных листах вырезают отверстия под монтажные коробки выключателей и розеток, причем для гипсокартонных перегородок производится специальная фурнитура.

Затем между стоечными профилями укладывают звукоизоляционный материал, который также можно приклеить к установленному листу гипсокартона (рис. 78).

После завершения изоляционных и электротехнических работ осуществляется монтаж гипсокартонных листов с другой стороны каркаса (рис. 79).

Оштукатуривание

Многие сомневаются в том, стоит ли штукатурить гипсокартонную перегородку. Ровная поверхность гипсокартонного листа не нуждается в тщательной шпатлевке. Когда швы между листами будут заполнены и проклеены серпянкой (рис. 80), необходимо нанести лишь тонкий ее слой.

Такая отделка не является трудоемкой и не требует значительного расхода материалов. Отделку с использованием сухой штукатурки рекомендуется производить в том случае, если листы гипсокартона имеют значительные искривления, а также для заделывания микрорельефа. Иногда при небрежном монтаже гипсокартонного листа в нем появляются отверстия.

Подобные повреждения также можно легко заделать с помощью обычной штукатурки. Наносить ее рекомендуется и при заделывании вмятин и коррекции углов.

Рис. 78. Укладка звукоизоляционного материала

Рис. 79. Монтаж гипсокартонных листов

Рис. 80. Шпаклевание швов

Нанесение штукатурки на всю поверхность гипсокартонной перегородки целесообразно только в том случае, если штукатурка декоративная.

В других случаях покрытие гипсокартонных листов данным составом будет лишней тратой денег и времени, так как лист является уже идеально ровным и может быть скорректирован при установке на стену с помощью нивелира и уровня.

Перед шпаклеванием гипсокартон должен быть тщательно очищен от пыли и грязи, сделать это можно с помощью пылесоса или салфетки.

Сначала необходимо зашпаклевать швы заподлицо, а затем переходить к стыкам плит и углам.

Совет мастера

Рекомендуется заранее замешивать сухие смеси до образования густой консистенции, чтобы раствор не отпадал от стены. Оштукатуривать можно только водонепроницаемый гипсокартон. При использовании другого вида материала он может вобрать влагу и рассыпаться после нанесения штукатурки.

  • Читать дальше
  • 1
  • ...
  • 50
  • 51
  • 52
  • 53
  • 54
  • 55
  • 56
  • 57
  • 58
  • 59

Ебукер (ebooker) – онлайн-библиотека на русском языке. Книги доступны онлайн, без утомительной регистрации. Огромный выбор и удобный дизайн, позволяющий читать без проблем. Добавляйте сайт в закладки! Все произведения загружаются пользователями: если считаете, что ваши авторские права нарушены – используйте форму обратной связи.

Полезные ссылки

  • Моя полка

Контакты

  • chitat.ebooker@gmail.com

Подпишитесь на рассылку: