Вход/Регистрация
Электричество дома и на даче
вернуться

Барановский Виктор Александрович

Шрифт:

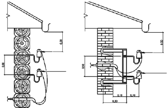
Несущий трос наглухо закрепляют и присоединяют (рис. 8) к нулевому проводу. Для крепления троса на опоре ставят дополнительный изолятор.

Рис. 8. Ответвление от ВЛ проводом с несущим тросом:

1 – дополнительный изолятор; 2 – трос; 3 – провода ответвления; 4 – зануление троса; 5 – нулевая жила; 6 – изолятор для провода наружного освещения

На стене здания также устанавливают изоляторы. Для проводов АВТВ, АВТУ нужен один изолятор, на котором закрепляют несущий трос, в остальных случаях – по числу проводов: два изолятора при однофазном вводе или четыре при трехфазном. Применяют фарфоровые или стеклянные изоляторы типов ТФ-12, ТФ-16, РФО-12 или НС-16.

Расстояние от проводов ответвления до земли при пересечении проезжей части должно быть не менее 6 м, при пересечении пешеходной дорожки – не менее 3,5 и у изоляторов на стене – не менее 2,75 м (рис. 9).

Рис. 9. Нормированные расстояния ответвления от ВЛ:

1 – проезжая часть; 2 – пешеходная дорожка; 3 – опора ВЛ; 4 – дополнительная опора

Изоляторы можно устанавливать рядом или один под другим. Расстояние от проводов до поверхности земли должно составлять не менее 2,75 м, а между проводами и от проводов до выступающих частей строения (крыши, водосточного желоба и т. п.) – не менее 0,2 м.

Рис. 10. Крепление изолятора ввода на деревянной и каменной стенах

Изоляторы сначала закрепляют на крюках, затем крюки монтируют на наружной стене (рис. 10). В зданиях с бетонными или кирпичными стенами для каждого крюка пробивают гнездо на глубину 100 мм и закрепляют крюк цементным раствором. В зданиях с рублеными стенами для монтажа крюков высверливают отверстия и ввинчивают в них крюки. В каркасно-засыпных, глинобитных или дощатых строениях крюки устанавливают на деревянном брусе толщиной 70?100 мм, который монтируют на стене шурупами или шпильками. Иногда с внутренней стороны требуется усилить стену доской, а к ней через тонкую стену строения прикрепить брус.

Для ответвления можно применять кабель с медными жилами (ВВГ, ПВГ и др.) сечением не менее 2,5 мм2 или алюминиевыми жилами (АВВГ, АПВГ) сечением не менее 4 мм2. Кабель прокладывают по стойке опоры: в верхней части открыто на скобах, а с высоты не менее 1,5 м от уровня земли – в трубе на глубину 0,7 м. Затем кабель ведут в траншее глубиной не менее 0,7 м до здания и, наконец, в трубе выводят на наружную стену. В траншее кабель укладывают на слой земли, не содержащей камней, шлака и строительного мусора. Над кабелем выполняют такую же засыпку. В местах, где вероятны земляные работы, поверх слоя засыпки укладывают бетонные плитки или кирпичи.

Рис. 11. Ввод в здание через трубостойки:

а– через крышу; б – через стену

Ответвление считается частью ВЛ, его обслуживает владелец электрических сетей до изоляторов на стене строения, включая соединения у изоляторов.

При кабельном ответвлении на обслуживании владельца сетей находятся кабель и контактные соединения его наконечников.

Повторное заземление

Если для электроприемников требуется защитное зануление, потребителю следует соорудить повторное заземление нулевого провода. Этого можно не делать, если повторное заземление есть на опоре ВЛ и длина ответвления не превышает 10 м. Повторное заземление на ВЛ определяют по наличию заземляющего спуска, к которому присоединены нулевой провод, а также крюки или штыри изоляторов. Заземляющий спуск прокладывают по стойке опоры до заземлителя (одной или нескольких труб, полос или иной металлической массы, заглубленной в землю). Длина деталей заземлителя, число стержней или труб и глубина их заложения зависят от свойств грунта в месте сооружения и уровня грунтовых вод.

Защитные заземления электроустановок

В случае прикасания человека к токоведущим частям электрической установки, находящимся под напряжением, или к металлическим частям, которые находятся под напряжением вследствие неисправности изоляции, Может произойти поражение человека электрическим током (в виде электрического удара или электрических травм (ожогов)). В результате электрического удара человек может потерять сознание, у него могут появиться судороги, прекратиться дыхание и кровообращение. Электрический удар может привести к смертельному исходу. Смертельные поражения человека электрическим током возможны при напряжениях от 12 В и выше.

  • Читать дальше
  • 1
  • ...
  • 12
  • 13
  • 14
  • 15
  • 16
  • 17
  • 18
  • 19
  • 20
  • 21
  • 22
  • ...

Ебукер (ebooker) – онлайн-библиотека на русском языке. Книги доступны онлайн, без утомительной регистрации. Огромный выбор и удобный дизайн, позволяющий читать без проблем. Добавляйте сайт в закладки! Все произведения загружаются пользователями: если считаете, что ваши авторские права нарушены – используйте форму обратной связи.

Полезные ссылки

  • Моя полка

Контакты

  • chitat.ebooker@gmail.com

Подпишитесь на рассылку: