Вход/Регистрация
120-мм миномет обр. 1938 г. Руководство службы
вернуться

Министерство обороны СССР

Шрифт:

Для придания миномету угла возвышения по квадранту необходимо повернуть диск и установить требуемое деление шкалы кольца (например, 45°) против указателя; поставить квадрант на контрольную площадку параллельно имеющейся на ней продольной риске так, чтобы острие стрелки д было обращено к дульному срезу, и, вращая маховик подъемного механизма, вывести пузырек уровня квадранта на середину.

На верхней части диска нанесено наименование квадранта (КМ-1), на нижней — наименование завода-изготовителя, а на левой стороне корпуса — номер квадранта.

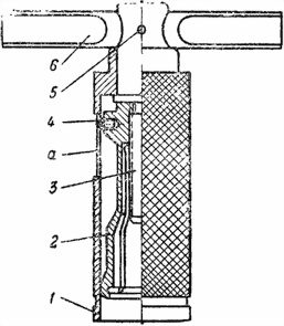
Квадрант хранится в футляре (рис. 55), внутри которого имеется колодка с вырезами для прилива в и гайки 6, а также цилиндрическое отверстие для запасной ампулы, которая входит в комплект квадранта. Квадрант следует укладывать в футляр с установкой шкалы на 90° (прилив в должен быть в вертикальном положении), основанием а вверх.

Рис. 55. Футляр для квадранта КМ-1

Правила проверки квадранта КМ-1 изложены во второй части, в разделе «Проверка прицельных приспособлений».

Экстрактор

Экстрактор предназначается для извлечения патрона основного заряда из трубки стабилизатора мины при замене его, например, в случае осечки.

Экстрактор состоит из захвата 2 (рис. 56), в который ввинчен ходовой винт 3. В таком виде винт с захватом вставлены в кожух 1, в котором имеется прорезь а, через которую в нарезное отверстие захвата ввинчен винт 4, препятствующий провороту захвата 2 при вращении ходового винта 3. В сквозное отверстие на конце ходового винта вставлена и закреплена цилиндрическим штифтом 5 рукоятка 6.

При вращении стержня ходового винта (против направления движения часовой стрелки) захват, имеющий четыре долевые прорези, разжимаясь, будет выходить из кожуха.

При вращения ходового винта в обратную сторону (захват прижат в торец трубки стабилизатора мины) захват своими лапками зацепится за кромку шляпки гильзы и будет извлекать ее вместе со всем патроном из трубки стабилизатора мины.

Разборка и сборка экстрактора

Разборка экстрактора производится для устранения неисправностей. Для разборки необходимо:

— выбить штифт 5;

— вынуть рукоятку 6;

— вывинтить винт 4;

— вынуть из кожуха захват 2 вместе с ходовым винтом 3;

— вывинтить ходовой винт из захвата.

Рис. 56. Экстрактор:

1 — кожух (51-1011); 2 — захват (51-1015); 3 — ходовой винт (51-1012); 4 — винт (51-1016); 5 — штифт (51-1014); 6 — рукоятка (51-1013); а — прорезь под винт

Сборку экстрактора производить в следующем порядке:

— ввинтить в захват ходовой винт 3;

— вставить винт с захватом в кожух 1 экстрактора;

— ввинтить винт 4 через прорезь а в нарезное отверстие захвата 2;

— вставить в отверстие ходового винта рукоятку 6;

— забить цилиндрический штифт 5 и раскернить его.

Экстрактор хранится и переносится в сумке батарейного ЗИП.

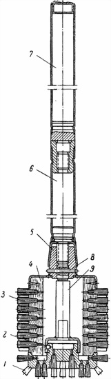
Банник

Банник предназначен для чистки и смазывания канала ствола миномета; он представляет собой головку (круглую щетку) 4 (рис. 57), навинчиваемую на металлическую рукоятку. Рукоятка изготовлена из пустотелой стальной трубы и состоит из двух свинчиваемых между собой частей — рукоятки 7 и рукоятки 6 банника, что позволяет перевозить банник в разобранном виде на модернизированном ходе миномета.

Головка банника состоит из торцовой щетки 1, колодка которой изготовлена из алюминиевого сплава, и двух щеток банника 3. На нарезной патрубок торцовой щетки навинчивается гайка с приваренной к ней шпилькой 9, на конце которой имеется резьба. Гайка на патрубке колодки стопорится винтом 2. На резьбу шпильки навинчивается своим конусом шайба крепления 5, после чего шайба крепления стопорится на шпильке шплинтом 8.

Кроме того, шайба крепления при помощи четырех шурупов крепится к боковым щеткам банника. Головка банника при помощи резьбы в конусе шайбы крепления соединяется с рукояткой банника.

Примечание. В войсках разборку и сборку головки банника производить не разрешается.

Банник с зачехленной головкой и разобранной на две части рукояткой перевозится на ходе миномета.

Рис. 57. Банник:

  • Читать дальше
  • 1
  • ...
  • 26
  • 27
  • 28
  • 29
  • 30
  • 31
  • 32
  • 33
  • 34
  • 35
  • 36
  • ...

Ебукер (ebooker) – онлайн-библиотека на русском языке. Книги доступны онлайн, без утомительной регистрации. Огромный выбор и удобный дизайн, позволяющий читать без проблем. Добавляйте сайт в закладки! Все произведения загружаются пользователями: если считаете, что ваши авторские права нарушены – используйте форму обратной связи.

Полезные ссылки

  • Моя полка

Контакты

  • chitat.ebooker@gmail.com

Подпишитесь на рассылку: