Вход/Регистрация
Как вырастить бройлеров и пекинских уток на даче за лето. Для работающих дачников
вернуться

Максимова Александра Олеговна

Шрифт:

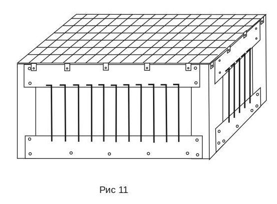
Верхняя сетка крепится к верхним пластинам с помощью петель.

Когда верхняя и нижняя сетки закреплены, вставляем в отверстия проволочные стойки ограждения. Рис 11.

Рис 12. Стойки ограждения вставлены. Боковая правая стенка.

Для того чтобы стойки не вышли из отверстий сверху закрепляем уголок или деревянный брусок. Рис 13.

Для доступа внутрь клетки несколько стоек сверху крепятся коротким уголком, который можно легко снять.

Конец ознакомительного фрагмента.

  • 1
  • 2
  • 3

Ебукер (ebooker) – онлайн-библиотека на русском языке. Книги доступны онлайн, без утомительной регистрации. Огромный выбор и удобный дизайн, позволяющий читать без проблем. Добавляйте сайт в закладки! Все произведения загружаются пользователями: если считаете, что ваши авторские права нарушены – используйте форму обратной связи.

Полезные ссылки

  • Моя полка

Контакты

  • chitat.ebooker@gmail.com

Подпишитесь на рассылку: