Вход/Регистрация
Научный орбитальный комплекс
вернуться

Феоктистов Константин Петрович

Шрифт:

Если оставаться на уровне середины 70-х годов, то оказывается, что только запасов средств по обеспечению жизнедеятельности требуется около 10 кг на человека в сутки. А к этому еще нужно прибавить топливо и оборудование, которое приходится заменять в ходе полета. Если все посчитать, то окажется, что для обеспечения работы станции в пилотируемом полете в течение двух лет потребовалось бы создать на борту станции запасы средств жизнедеятельности и топлива массой около 20 т. Но это превышает массу всей станции «Салют-6». А она ведь имеет еще корпус, оборудование и предназначена для работы на ее борту космонавтов.

Решить проблему длительной работы станции в пилотируемом режиме удалось за счет создания грузовых транспортных кораблей для доставки на станцию оборудования, пищи, воды, кислорода, топлива и т. п. Для того чтобы станция могла принимать эти грузовые корабли, на ней установили еще один причал со стыковочным узлом, размещенным со стороны агрегатного отсека, и новую объединенную двигательную установку, которая могла дозаправляться в полете топливом от грузовых кораблей. В результате этого советскими конструкторами был создан научный орбитальный комплекс «Салют-6» — «Союз».

Работы над станцией «Салют-6» и кораблем «Прогресс» начались в 1973 г. Станция запущена в 1977 г. За прошедшее время на станции побывало несколько экспедиций, в том числе и международных, к станции много раз прилетали грузовые корабли «Прогресс», которые доставляли оборудование и обеспечивали дозаправку двигательной установки станции топливом. Важнейшим достижением, полученным на станции «Салют-6», явилось существенное увеличение длительности полета человека в условиях невесомости, благодаря чему наша страна заняла лидирующее положение в этой области.

КОНСТРУКЦИЯ ОРБИТАЛЬНОГО КОМПЛЕКСА «САЛЮТ-6» — «СОЮЗ»

В состав орбитального комплекса «Салют-6» — «Союз» входят собственно орбитальная станция (или орбитальный блок), пилотируемые транспортные корабли «Союз» и грузовые транспортные корабли «Прогресс». Орбитальный блок является основой комплекса: он предоставляет возможность экипажу жить и работать в условиях космического полета, обеспечивает функционирование комплекса (снабжение станции и космических кораблей электроэнергией, обеспечение необходимых условий для работы экипажа и функционирования аппаратуры, поддержание высоты орбиты, ориентации, связь с Землей и т. п.) и, наконец, позволяет проводить научно-технические исследования и эксперименты.

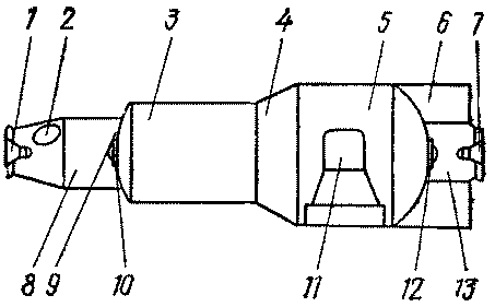
Рис. 3. Отсеки станции:

1 — передний стыковочный узел; 2 — выходной люк; 3 — зона малого диаметра рабочего отсека; 4 — коническая часть рабочего отсека; 5 — зона большого диаметра рабочего отсека; 6 — агрегатный отсек; 7 — задний стыковочный узел; 5 — переходный отсек; 9 — переднее днище; 10 — люк между переходным и рабочим отсеком; 11 — отсек научной аппаратуры; 12 — лют между промежуточной камерой и рабочим отсеком; 13 — промежуточная камера

Орбитальная станция для обеспечения необходимых условий жизни и работы на ней экипажа должна иметь внутренний герметичный объем с приемлемой для человека газовой атмосферой и с соответствующей температурой, средства питания, бытового обслуживания и т. п., средства связи с Землей, допускать возможность наблюдения за внешним пространством, иметь средства управления (ориентацией и бортовой аппаратурой), оборудование для научно-технических исследований и экспериментов, в проведении которых требуется непосредственное участие членов экипажа.

При этом желательно, чтобы герметичный объем и масса станции были как можно большими: в этом случае на ней разместится достаточно большое количество научного оборудования, кислорода, пищи, воды, топлива и т. п. Однако с увеличением внутреннего объема растут размеры и масса конструкции станции, что вступает в противоречие с возможностями современных ракет-носителей, имеющихся или специально создающихся для выведения орбитального блока.

Ракета-носитель, используемая для запуска станции «Салют-6», позволяет вывести орбитальный блок с максимальным диаметром 4,15 м и длиной около 13,5 м. Большие размеры станции (в длине или диаметре) привели бы к увеличению нагрузок на конструкцию ракеты-носителя и поэтому недопустимы. Кроме того, орбитальный блок размещается в верхней части ракеты-носителя, и, следовательно, соответствующая его «верхняя часть», там где размещается так называемый переходный отсек (рис. 3), должна укладываться в обводы конуса, которым заканчивается верхняя часть всего комплекса ракета—орбитальный блок. Это необходимо для обеспечения приемлемого уровня нагрузок на носитель и затрат топлива на преодоление аэродинамического сопротивления на участке движения комплекса в атмосфере.

Так определяются ограничения по размерам, а, следовательно, и по внутреннему объему. Масса орбитального блока, которая может быть выведена этой ракетой-носителем, составляет около 19 т, что и составляет ограничение по массе блока. При разработке станции приходится исходить из этих ограничений и следить за рациональным распределением объемов (и соответственно размеров) и масс между различными «потребителями»: объемами, необходимыми для жизни и работы экипажа; объемами и массами, выделяемыми под двигательные установки, оборудование, запасы средств жизнедеятельности, научную аппаратуру и т. п.

  • Читать дальше
  • 1
  • 2
  • 3
  • 4
  • 5
  • 6
  • 7
  • 8
  • ...

Ебукер (ebooker) – онлайн-библиотека на русском языке. Книги доступны онлайн, без утомительной регистрации. Огромный выбор и удобный дизайн, позволяющий читать без проблем. Добавляйте сайт в закладки! Все произведения загружаются пользователями: если считаете, что ваши авторские права нарушены – используйте форму обратной связи.

Полезные ссылки

  • Моя полка

Контакты

  • chitat.ebooker@gmail.com

Подпишитесь на рассылку: