Вход/Регистрация
Болезни свиней
вернуться

Дорош Мария

Шрифт:

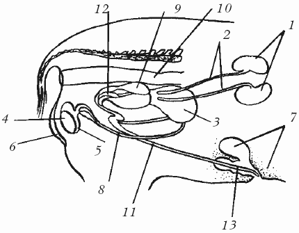
Половые органы самцов

Половые органы хряка представлены парными органами: семенниками (яичками) с придатками, семяпроводами и семенными канатиками, придаточными половыми железами; и непарными органами: мошонкой, мочеполовым каналом, половым членом и препуцием (рис. 18).

Рис. 18. Мочеполовой аппарат хряка:

1 – почки; 2 – мочеточники; 3 – мочевой пузырь; 4 – семенники; 5 – придаток семенника; 6 – мошонка; 7 – препуций; 8 – семяпровод; 9 – пузырьковидные железы; 10 – прямая кишка; 11 – половой член; 12 – луковичные, или куперовы, железы; 13 – головка, или концевая часть

Самцы вырабатывают около 250—500 мл серо-белой спермы в виде водянистых хлопьев, в 1 мм3 которой содержится 50-250 тыс. спермиев.

Семенник – основной половой парный орган самцов, в котором происходит развитие и созревание спермиев, является также железой внутренней секреции – вырабатывает мужские половые гормоны. У хряка этот орган очень крупный.

Семенник имеет яйцевидную форму, подвешен на семенном канатике и расположен в полости мешковидного выпячивания брюшной стенки – мошонке. С ним тесно связан его придаток, который является частью выводного протока. В придатке зрелые спермии могут сохраняться в неподвижном состоянии довольно длительное время, обеспечиваются в этот период питанием, а при спаривании животных перистальтическими сокращениями мышц придатка выбрасываются в семяпровод.

Мошонка – вместилище семенника и его придатка, представляющее собой выпячивание брюшной стенки. У хряка она расположена ближе к анальному отверстию.

Температура в мошонке ниже, чем в брюшной полости, что благоприятствует развитию спермиев. Кожа этого органа покрыта мелкими волосами, имеет потовые и сальные железы. Мышечно-эластичная оболочка расположена под кожей и формирует перегородку мошонки, в результате чего полость органа делится на две части. Мышечные образования мошонки обеспечивают подтягивание семенника к паховому каналу при низкой внешней температуре.

Семявыносящий проток, или семяпровод, представляет собой продолжение протока придатка в виде узкой трубки из трех оболочек. Он начинается от хвоста придатка, в составе семенного канатика через паховый канал направляется в брюшную полость, а затем в тазовую, где образует ампулу. Позади шейки мочевого пузыря семяпровод соединяется с выводным протоком пузырьковидной железы в короткий семяизвергательный канал, который открывается в начале мочеполового канала.

Семенной канатик – это складка брюшины, в которой заключены сосуды, нервы, идущие к семеннику, и лимфатические сосуды, выходящие из семенника, а также семявыносящий проток.

Мочеполовой канал, или мужская уретра, служит для выведения наружу мочи и спермиев. Начинается отверстием уретры от шейки мочевого пузыря и оканчивается наружным отверстием уретры на головке полового члена. Начальная, очень короткая часть уретры – от шейки до места впадения семяизвергательного канала – проводит только мочу. Стенка мужской уретры образована слизистой оболочкой, губчатым слоем и мышечной оболочкой.

Кроме желез, имеющихся в ампулах семяпроводов, к придаточным половым железам относят парные пузырьковидные, предстательную железу, парные луковичные железы, расположенные на верхней стенке шейки мочевого пузыря. Протоки этих желез открываются в уретру.

Пузырьковидные железы вырабатывают клейкий секрет, разбавляющий массу спермиев. У хряка эти железы довольно крупные – длиной до 15 см. Секрет предстательной железы активизирует подвижность спермиев. Эта железа небольшая, размером 2,5 см. Секрет луковичных желез способствует освобождению мочеполового канала от остатков мочи и смазыванию слизистой оболочки уретры перед прохождением спермиев. У хряка железа достигает 12 см в длину и 3 см в ширину.

Половой член, или пенис, выполняет функцию введения спермы самца в половые органы самки, а также выведения из организма мочи. Пенис состоит из пещеристого тела полового члена и половочленной (удовой) части мочеполового канала.

На половом члене различают корень, тело и головку. Корень и тело снизу покрыты кожей, последняя распространяется и на головку, образуя при переходе на нее складку – препуций, или крайнюю плоть.

Препуций – это кожная складка. При неэрективном состоянии полового члена препуций полностью прикрывает его головку, предохраняя ее от повреждений.

Половые органы самок

Половые органы самок свиньи включают парные органы: яичники, маточные трубы; и непарные: матку, влагалище, преддверие влагалища и наружные половые органы (рис. 19).

Рис. 19. Мочеполовые органы свиньи:

1 – яичник; 2 – широкая маточная связка; 3 – яйцепровод; 4 – рога матки; 5 – тело матки; 6 – шейка матки; 7 – отверстия преддверовых желез; 8 – влагалище; 9 – девственная плева; 10 – отверстие мочеполового канала; 11 – преддверие влагалища; 12 – половые губы; 13 – клитор

  • Читать дальше
  • 1
  • ...
  • 11
  • 12
  • 13
  • 14
  • 15
  • 16
  • 17
  • 18
  • 19
  • 20
  • 21
  • ...

Ебукер (ebooker) – онлайн-библиотека на русском языке. Книги доступны онлайн, без утомительной регистрации. Огромный выбор и удобный дизайн, позволяющий читать без проблем. Добавляйте сайт в закладки! Все произведения загружаются пользователями: если считаете, что ваши авторские права нарушены – используйте форму обратной связи.

Полезные ссылки

  • Моя полка

Контакты

  • chitat.ebooker@gmail.com

Подпишитесь на рассылку: