Вход/Регистрация
Большая Советская Энциклопедия (АВ)
вернуться

Большая Советская Энциклопедия

Шрифт:

Лит.: Иноземцев Н. В., Авиационные газотурбинные двигатели. Теория и рабочий процесс, М., 1955; Теория реактивных двигателей, М., 1958; Конструкция авиационных газотурбинных двигателей, М., 1961; Скубачевский Г. С., Авиационные газотурбинные двигатели. Конструкция и расчёт деталей, 2 изд., М., 1965; «Авиация и космонавтика», 1963, № 3, с. 6—13; 1966, № 2, с. 60—64; 1967, № 7, с. 57—61.

С. К. Туманский, Г. С. Скубачевский.

Рис. 1. Классификация авиационных двигателей.

Рис. 4. Принципиальная схема двухконтурного турбореактивного двигателя: 1 — первый (внутренний) контур; 2 — второй (внешний) контур.

Рис. 3б. Турбореактивный авиационный двигатель. Внешний вид.

Рис. 6. Изменение удельной массы турбореактивных двигателей по годам.

Рис. 2а. Турбовинтовой авиационный двигатель: Принципиальная схема; 1 — входное устройство; 2 — компрессор; 3 — камера сгорания; 4 — турбина; 5 — реактивное сопло; 6 — воздушный винт.

Рис. 2б. Турбовинтовой авиационный двигатель. Внешний вид.

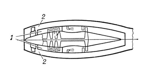
Рис. 3а. Турбореактивный авиационный двигатель: Принципиальная схема; 1 — входное устройство; 2 — компрессор; 3 — камера сгорания; 4 — корпус двигателя; 5 — сопловый аппарат; 6 — турбина; 7 — реактивное сопло.

Рис. 7. Сравнительная схема турбореактивного двигателя: ниже осевой линии для дозвуковых (ок. 850 км/ч) и выше осевой линии для сверхзвуковых (ок. 3000 км/ч) самолётов; 1 — воздухозаборник с регулируемыми размерами и формой; 2 — форсажная камера; 3 — сопло с регулируемыми размерами и формой; 4 — воздухозаборник нерегулируемый; 5 — сопло нерегулируемое.

Рис. 5. Изменения тяги Р турбореактивного двигателя в зависимости от М-числа.

Авиационный компас

Авиацио'нный ко'мпас, аэронавигационный прибор, указывающий пилоту курс самолёта относительно магнитного меридиана (магнитный компас, гиромагнитный компас), заданного направления (гирополукомпас) или направления на радиомаяк(радиокомпас, радиополукомпас) и относительно какого-либо небесного светила (астрономический компас).

Авиационный тыл

Авиацио'нный тыл, составная часть тыла вооружённых сил государства; включает тыловые соединения, части и учреждения. А. т. предназначен для материального инженерно-аэродромного, аэродромно-технического и медицинского обеспечения ВВС. Осуществляет снабжение авиационных частей и соединений всеми видами материальных средств, хозяйственно-бытовое обслуживание личного состава, строительство новых и восстановление непригодных для полётов аэродромов, аэродромно-техническое обеспечение полётов авиации, а также проведение санитарно-гигиенических, лечебно-эвакуационных и противоэпидемических мероприятий.

М. Н. Кожевников.

Авиационных материалов институт

Авиацио'нных материа'лов институ'т всесоюзный научно-исследовательский (ВИАМ), создан в 1932 в Москве на базе отдела испытания авиационных материалов Аэрогидродинамического института. Институт разрабатывает конструкционные, коррозионно-стойкие, жаропрочные, износостойкие стали и сплавы, пластмассы, герметики, уплотнительные, тепло-звукоизоляционные и другие материалы. Институт занимается также теоретической и экспериментальной разработкой проблем легирования и прочности сплавов, вопросами защиты металлов от коррозии, созданием методов механических испытаний и неразрушающего контроля качества сплавов и неметаллических материалов. При ВИАМе имеется аспирантура. Издаёт «Труды», тематические сборники. Награждён орденом Ленина (1945).

А. Т. Туманов.

Авиация

Авиа'ция (франц. aviation, от латинского avis — птица), летание на аппаратах тяжелее воздуха в околоземном воздушном пространстве. В 60-е гг. 20 в. в А. применяют самолёты, вертолёты, планёры. Различают А. гражданскую, осуществляющую перевозки людей и грузов, и военную (см. Гражданская авиация, Военно-Воздушные силы). Гражданская А. включает: транспортную, санитарную, учебно-спортивную и специального назначения (сельскохозяйственную, аэрофотосъёмки, связи, геологической разведки, разведки рыбных промыслов и др.). Для обеспечения регулярного грузопассажирского движения по авиалиниям гражданская А. располагает: парком турбореактивных, турбовинтовых и винтомоторных самолётов и вертолётов; службами управления и радиотехническими, метеорологическими, светотехническими (наземными и бортовыми) средствами обеспечения полётов; аэродромами и аэропортами.

Начальный период развития А. Практически А. начала развиваться лишь в 20 в. Но мечта человека подняться в воздух существовала на протяжении многих веков и нашла своё выражение в сказках и легендах народов многих стран мира. Изображения крылатого человека встречаются в наскальных рисунках пещерных людей. Известен древнегреческий миф о Дедале и его сыне Икаре, поднявшихся к Солнцу на крыльях из птичьих перьев, скреплённых воском. В древности и в средние века в Китае и других странах для военных целей применялись воздушные змеи. Итальянский художник, учёный и инженер Леонардо да Винчи оставил эскизные наброски летательных аппаратов, приводимых в действие мускульной силой, вертолёта с механическим приводом, предложил идею парашюта. Великий русский учёный М. В. Ломоносов в 1754 построил модель вертолёта с пружинным заводом и практически доказал осуществимость полёта такого аппарата.

  • Читать дальше
  • 1
  • ...
  • 18
  • 19
  • 20
  • 21
  • 22
  • 23
  • 24
  • 25
  • 26
  • 27
  • 28
  • ...

Ебукер (ebooker) – онлайн-библиотека на русском языке. Книги доступны онлайн, без утомительной регистрации. Огромный выбор и удобный дизайн, позволяющий читать без проблем. Добавляйте сайт в закладки! Все произведения загружаются пользователями: если считаете, что ваши авторские права нарушены – используйте форму обратной связи.

Полезные ссылки

  • Моя полка

Контакты

  • chitat.ebooker@gmail.com

Подпишитесь на рассылку: