Вход/Регистрация
Большая Советская Энциклопедия (ДЕ)
вернуться

Большая Советская Энциклопедия

Шрифт:

При настройке на дифференциальное деление штифт, закрепляющий лимб, вынимают. Расчёт производят по фиктивному числу частей x, близкому к заданному

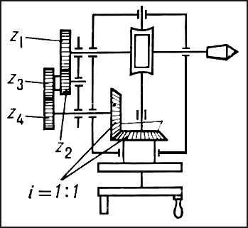
Для компенсации допущенного приближения осуществляется дополнительный поворот изделия через сменные зубчатые колёса Z1, Z2, Z3 и Z4 (рис. 2), т. е. поворот рукоятки происходит относительно лимба, который сам поворачивается.

При настройке Д. г. для нарезания (фрезерования) винтовых канавок (рис. 3) обеспечивают кинематическую связь вращения изделия с его поступательным (от винта продольной подачи стола) перемещением через сменные зубчатые колёса; рукоятка и лимб соединены фиксатором. Стол станка поворачивают на угол, равный углу наклона винтовой канавки w; ось шпинделя станка (ось фрезы) составляет с осью изделия угол Q = 90° — w,

где D — диаметр изделия, Н — шаг винтовой канавки. За один оборот изделие должно переместиться на Н, следовательно,

где tB — шаг винта продольной подачи.

Работа простой Д. г. основана на непосредственном повороте (вручную) лимба на определённый угол. Положение лимба фиксируется по имеющимся на нём вырезу или отверстию.

Оптическую Д. г. применяют для точных отсчётов. Она снабжена отсчётным микроскопом с ценой деления 1'. В отличие от механической, оптическая Д. г. не требует расчётов.

Лит.: Налган А. Г., Металлорежущие станки, М., 1956; Обработка металлов резанием, 2 изд., М., 1962.

Д. Л. Юдин.

Рис. 3. Кинематическая схема делительной головки при настройке на нарезание винтовых канавок.

Рис. 2. Кинематическая схема делительной головки при настройке на дифференциальное деление.

Рис. 1. Делительная головка: а — установка на фрезерном станке; б — кинематическая схема при настройке на простое деление: 1 — стол станка; 2 — задняя бабка; 3 — центры; 4 — оправка; 5 — делительная головка; 6 — раздвижной сектор; 7 — рукоятка настройки; 8 — фиксатор; 9 — делительный диск; 10 — штифт; 11 — шпиндель.

Делительная машина

Дели'тельная маши'на, служит для нанесения линий (штрихов) на линейках, шкалах приборов, сетках, растрах и т.д. На Д. м. нарезают продольные, круговые и специальные шкалы при дискретном (прерывистом) линейном или угловом перемещении детали, на которой наносится шкала, и прямолинейном перемещении резца. Д. м. разделяют на ручные, полуавтоматические и автоматические.

Продольные Д. м. предназначены для нарезания на заготовках равномерных шкал длиной от 100 до 2000 мм; на круговых Д. м. производят деление на диаметрах от 250 до 1000 мм. На специальных Д. м. наносят деления по логарифмическим, тригонометрическим и др. зависимостям на плоских, цилиндрических и др. поверхностях. Их действие основано обычно на принципе компарирования образцовых шкал. По точности работы Д. м. в зависимости от погрешности при нанесении делений делятся на 4 класса. К 1-му классу (наиболее точному) относят машины, на которых можно нарезать до 3600 делении на длине 1 м с погрешностью 1% для линейных шкал и 0,1'' для круговых. Д. м. 2—4-го классов имеют бо'льшие погрешности: например, для 2-го класса 1—5% и 10' соответственно для линейных и круговых шкал. Существуют особо точные Д. м., на которых изделие относительно резца устанавливают с помощью фотоэлектрического микроскопа по штрихам эталонной шкалы. Д. м. имеет коррекционное устройство для введения поправок. Погрешность Д. м. ± 0,1 мкм на штрих. Такие Д. м. устанавливают на виброизолированном фундаменте в кабине, в которой поддерживают температуру 20 ± 0,05°С. Машина работает в автоматическом режиме, когда в кабине нет оператора, при установившемся температурном режиме.

Лит.: Федотов А. И., Автоматизация делительных работ, Л., 1969; «Станки и инструмент», 1970, № 4, с. 40—44.

Н. Н. Марков.

Делительная окружность

Дели'тельная окру'жность, окружность зубчатого колеса, на которой его шаг и угол зацепления соответственно равны теоретическому шагу и углу зацепления инструмента (например, рейки). См. также Зубчатая передача.

Делительное устройство

Дели'тельное устро'йство в машиностроении, устройство для периодического поворота (или перемещения) изделия или узла машины на различные доли оборота (или отрезки). Д. у. применяются при обработке или измерении поверхностей изделия, расположенных под углом к направлению одного из рабочих движений оборудования или к плоскости базирования (установки), а также для нанесения делений на линейные и круговые шкалы инструментов и деталей машин. По принципу действия различают ручные и механические Д. у. Наиболее распространённый вид Д. у. — делительная головка. К Д. у. относятся также различные механизмы и приспособления для периодического осуществления прямолинейной подачи и поворота столов, барабанов и револьверных головок металлорежущих станков, поворота шпиндельных блоков многопозиционных машин, переключения рабочего хода на холостой (и обратно) и др. Д. у. имеет, как правило, храповой механизм или мальтийский механизм, поворотный диск (лимб) с отсчётными отверстиями или делениями; для более точных работ оно может быть снабжено отсчётным устройством.

Делич Фридрих

Де'лич (Delitzsch) Фридрих (3.9.1850, Эрланген, — 19.12.1922, Лангеншвальбах), немецкий учёный, один из основателей ассириологической школы в Германии. Явился пионером в изучении касситских и каппадокийских (староассирийских) клинописных документов, занимался аккадским, шумерским и хеттским языками, составлял словари и грамматики. Сторонник панвавилонизма, Д. в 1902—05 выступил с циклом лекций «Библия и Вавилон» (рус. пер. 1906), в которых утверждал, что на библейскую традицию оказала решающее влияние вавилонская.

  • Читать дальше
  • 1
  • ...
  • 65
  • 66
  • 67
  • 68
  • 69
  • 70
  • 71
  • 72
  • 73
  • 74
  • 75
  • ...

Ебукер (ebooker) – онлайн-библиотека на русском языке. Книги доступны онлайн, без утомительной регистрации. Огромный выбор и удобный дизайн, позволяющий читать без проблем. Добавляйте сайт в закладки! Все произведения загружаются пользователями: если считаете, что ваши авторские права нарушены – используйте форму обратной связи.

Полезные ссылки

  • Моя полка

Контакты

  • chitat.ebooker@gmail.com

Подпишитесь на рассылку: