Вход/Регистрация
Большая Советская Энциклопедия (ЖИ)
вернуться

Большая Советская Энциклопедия

Шрифт:

Лит.: Проблемы космической биологии, т. 5—7, Л. — М., 1967; Космическая биология и медицина, М., 1966.

О. Г. Газенко.

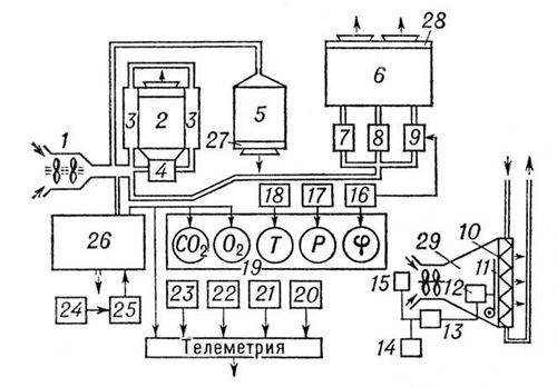
Принципиальная схема системы регенерации и кондиционирования воздуха корабля — спутника «Восток»: 1 — вентилятор; 2, 3, 4 — регенераторы с регулирующим устройством; 5, 6 — осушители; 7, 8 — краны с ручным управлением; 9 — автоматический кран; 10 — жидкостно-воздушный теплообменник; 11 — шторка радиатора; 12 — исполнительный механизм (привод шторки); 13 — усилитель; 14 — задатчик температуры; 15 — датчик температуры; 16 — сигнализатор и измеритель влажности; 17 — измеритель давления; 18 — измеритель температуры; 19 — приборная доска; 20, 21, 22, 23 — датчики давления, температуры, влажности; 24, 25, 26 — газоанализаторы O2 и CO2; 27 — фильтры вредных примесей; 28 — противопылевой фильтр; 29 — блок терморегулирования.

Жизнеспособность

Жизнеспосо'бность, 1) способность особи (или популяции) жить и давать потомство. Ж. популяции определяется плодовитостью, длительностью периода размножения и количеством достигших половозрелости особей. 2) Способность особи выживать до определённого момента жизненного цикла, например до начала периода размножения. Мерилом Ж. мутанта служит относительная частота доживания до этого периода мутировавших особей по сравнению с немутировавшими.

Жизнеспособность семян

Жизнеспосо'бность семя'н, свойство семян сохранять способность к прорастанию. Только что убранные или хранящиеся при низкой температуре семена часто не прорастают, хотя и имеют здоровый зародыш, т. е. жизнеспособны. Это вызывается периодом покоя, после прохождения которого семена могут дать нормальные всходы. Ж. с. определяют при контрольно-семенном анализе, число живых семян выражают в процентах от общего числа семян, взятых для анализа. Методы определения Ж. с. предусмотрены государственными стандартами.

Жизнь

Жизнь, высшая по сравнению с физической и химической форма существования материи, закономерно возникающая при определённых условиях в процессе её развития. Живые объекты отличаются от неживых обменом веществ — непременным условием Ж., способностью к размножению, росту, активной регуляции своего состава и функций, к различным формам движения, раздражимостью, приспособляемостью к среде и т. д. Однако строго научное разграничение на живые и неживые объекты встречает определённые трудности. Так, до сих пор нет единого мнения о том, можно ли считать живыми вирусы, которые вне клеток организма хозяина не обладают ни одним из атрибутов живого: в вирусной частице в это время отсутствуют метаболические процессы, она не способна размножаться и т. д. Специфика живых объектов и жизненных процессов может быть охарактеризована в аспекте как их материальной структуры, так и важнейших функций, лежащих в основе всех проявлений Ж. Наиболее точное определение Ж., охватывающее одновременно оба эти подхода к проблеме, дал около 100 лет назад Ф. Энгельс: «Жизнь есть способ существования белковых тел, и этот способ существования состоит по своему существу в постоянном самообновлении химических составных частей этих тел»- (Маркс К. и Энгельс Ф., Соч., 2 изд., т. 20, с. 82). Термин «белок» тогда ещё не был определён вполне точно и его относили обычно к протоплазме в целом. Все известные ныне объекты, обладающие несомненными атрибутами живого, имеют в своём составе два основных типа биополимеров: белки и нуклеиновые кислоты (ДНК и РНК). Сознавая неполноту своего определения, Энгельс писал: «Наша дефиниция жизни, разумеется, весьма недостаточна, поскольку она далека от того, чтобы охватить все явления жизни, а, напротив, ограничивается самыми общими и самыми простыми среди них... Чтобы получить действительно исчерпывающее представление о жизни, нам пришлось бы проследить все формы её проявления, от самой низшей до наивысшей» (там же, с. 84).

Ч. Дарвин в последних строках «Происхождения видов» пишет об основных законах, лежащих, по его мнению, в основе возникновения всех форм Ж.: «Эти законы, в самом широком смысле — Рост и Воспроизведение, Наследственность, почти необходимо вытекающая из воспроизведения, Изменчивость, зависящая от прямого или косвенного действия жизненных условий и от упражнения и неупражнения, Прогрессия размножения, столь высокая, что она ведет к Борьбе за жизнь и её последствию — Естественному Отбору...» (Соч., т. 3, М.—Л., 1939, с. 666). Если оставить в стороне роль упражнения, которое, по позднейшим данным, служит фактором ненаследственной изменчивости, обобщение Дарвина сохраняет силу и поныне, а его основные законы Ж. сводятся к двум ещё более общим. Это прежде всего способность живого ассимилировать полученные извне вещества, т. е. перестраивать их, уподобляя собственным материальным структурам, и за счёт этого многократно воспроизводить их (репродуцировать). При этом, если исходная структура случайно изменилась (см. Мутация), то она продолжает воспроизводиться в новом виде. Способность к избыточному самовоспроизведению лежит в основе роста клетки, размножения клеток и организмов и, следовательно,— прогрессии размножения (основное условие для естественного отбора), а также в основе наследственности и наследственной изменчивости. Советский биохимик В. А. Энгельгардт рассматривает воспроизведение себе подобного как фундаментальное свойство живого, которое ныне получает интерпретацию в терминах химических понятий на подлинно молекулярном уровне. Др. особенность живого заключается в огромном многообразии свойств, приобретаемых благодаря изменчивости материальными структурами живых объектов. Каждое из этих двух фундаментальных свойств связано в основном с функцией одного из двух биополимеров. «Запись» наследственных свойств, т. е. кодирование признаков организма, необходимое для воспроизведения, осуществляется с помощью ДНК и РНК, хотя в самом процессе репродукции непременно принимают участие белки-ферменты. Т. о., живой является не отдельная молекула ДНК, белка или РНК, а их система в целом. Реализация многообразной информации о свойствах организма осуществляется путём синтеза согласно генетическому коду различных белков (ферментных, структурных и т. д.), которые благодаря своему разнообразию и структурной пластичности обусловливают развитие самых различных физических и химических приспособлений живых организмов. На этом фундаменте в процессе эволюции возникли непревзойдённые по своему совершенству живые управляющие системы. Т. о., Ж. характеризуется высокоупорядоченными материальными структурами, содержащими два типа биополимеров (белок и ДНК или РНК), которые составляют живую систему, способную в целом к самовоспроизведения по принципу матричного синтеза. Характерная особенность химического состава известных нам форм Ж. — асимметрия оптически активных веществ, представленных в живых объектах левовращающими или правовращающими формами.

Ж. возможна лишь при определённых физических и химических условиях (температура, присутствие воды, ряда солей и т. д.). Однако прекращение жизненных процессов, например при высушивании семян или глубоком замораживании мелких организмов, не ведёт к потере жизнеспособности. Если сохраняется неповрежденной структура, она при возвращении к нормальным условиям обеспечивает восстановление жизненных процессов.

Ж. качественно превосходит др. формы существования материи в отношении многообразия и сложности химических компонентов и динамики протекающих в живом превращений. Живые системы характеризуются гораздо более высоким уровнем упорядоченности структурной и функциональной, в пространстве и во времени. Структурная компактность и энергетическую экономичность живого — результат высочайшей упорядоченности на молекулярном уровне. Одно из важных следствий этой компактности — универсальный эффект «усиления», характерный для всех живых систем. Так, в 5·10– 15г ДНК, содержащейся в оплодотворённом яйце кита, заключена информация для подавляющего большинства признаков животного, которое весит 5·107 г. Здесь, следовательно, при наличии необходимых условий масса возрастает на 22 порядка. «Именно в способности живого создавать порядок из хаотического теплового движения молекул, — пишет Энгельгардт, — состоит наиболее глубокое, коренное отличие живого от неживого. Тенденция к упорядочению, к созданию порядка из хаоса есть не что иное, как противодействие возрастанию энтропии» («Коммунист», 1969, № 3, с. 85). Живые системы обмениваются с окружающей средой энергией, веществом и информацией, т. е. являются открытыми системами. При этом, в отличие от неживых систем, в них не происходит выравнивания энергетических разностей и перестройки структур в сторону более вероятных форм, а наблюдается обратное.: восстанавливаются разности энергетических потенциалов, химического состава и т. д., т. е. непрерывно происходит работа «против равновесия» (Э. Бауэр). На этом основаны ошибочные утверждения, что живые системы якобы не подчиняются второму закону термодинамики. Однако местное снижение энтропии в живых системах возможно только за счёт повышения энтропии в окружающей среде, так что в целом процесс повышения энтропии продолжается, что вполне согласуется с требованиями второго закона термодинамики. По образному выражению австрийского физика Э. Шрёдингера, живые организмы как бы питаются отрицательной энтропией (негэнтропией), извлекая её из окружающей среды и увеличивая этим возрастание положительной энтропии в ней.

Ж. на Земле, зародившаяся не менее 1,5—2 млрд. лет назад (см. Происхождение жизни), представлена громадным числом организмов. Каждый организм может существовать только при условии постоянной тесной связи со средой, т. е. с др. организмами и неживой природой, причём связь эта носит двусторонний характер. Ж. со всеми её проявлениями произвела глубочайшие изменения в развитии нашей планеты, по крайней мере наружных её оболочек. Совершенствуясь в процессе эволюции, живые организмы всё шире распространялись по планете, принимая всё большее участие в перераспределении энергии и веществ в земной коре, а также в воздушной и водной оболочках Земли. Возникновение и распространение растительности привели к коренному изменению состава атмосферы, первоначально содержавшей очень мало свободного кислорода и состоявшей главным образом из двуокиси углерода и, вероятно, метана в аммиака. Растения, ассимилирующие углерод из CO2, привели к созданию атмосферы, содержащей свободный кислород и лишь следы CO2. Свободный кислород в составе атмосферы служил не только активным химическим агентом, но также источником озона, преградившего путь коротким ультрафиолетовым лучам к поверхности Земли («озоновый экран»). Одновременно углерод, веками скапливавшийся в остатках растений, образовал в земной коре грандиозные энергетические запасы в виде залежей органических соединений (каменный уголь, торф). Растительный покров изменил физические и химические характеристики планеты; изменился, в частности, коэффициент отражения поверхностью суши различных участков солнечного спектра. Развитие Ж. в Мировом океане привело к созданию осадочных пород, состоящих из скелетов и др. остатков морских организмов. Эти отложения, их механическое давление, химические и физические превращения изменили поверхность земной коры. Активное избирательное поглощение веществ организмами вызвало перераспределение веществ в верхних слоях коры. Всё это свидетельствует о наличии на Земле особой оболочки, названной сов. геохимиком В. И. Вернадским биосферой, в которой развёртывались и продолжаются поныне жизненные явления.

В ходе эволюции живых организмов всё более совершенствовались процессы регуляции и приспособления их к внешним условиям, что у свободно подвижных животных способствовало развитию центральной нервной системы. Развитие под влиянием общественного труда наиболее совершенной формы высшей нервной деятельности у предков человека создало предпосылки для перехода Ж. на новый — социальный — уровень, связанный с новой формой движения, свойственной человеку и качественно отличной от биологической, присущей остальным формам Ж. После перехода на этот уровень, с возникновением общественного сознания, становится возможным прогнозирование развития и создание новых форм регуляции и приспособления, которые способны обеспечить преимущества, невозможные в процессе чисто биологического развития.

  • Читать дальше
  • 1
  • ...
  • 20
  • 21
  • 22
  • 23
  • 24
  • 25
  • 26
  • 27
  • 28
  • 29
  • 30
  • ...

Ебукер (ebooker) – онлайн-библиотека на русском языке. Книги доступны онлайн, без утомительной регистрации. Огромный выбор и удобный дизайн, позволяющий читать без проблем. Добавляйте сайт в закладки! Все произведения загружаются пользователями: если считаете, что ваши авторские права нарушены – используйте форму обратной связи.

Полезные ссылки

  • Моя полка

Контакты

  • chitat.ebooker@gmail.com

Подпишитесь на рассылку: