Вход/Регистрация
Большая Советская Энциклопедия (ИЗ)
вернуться

Большая Советская Энциклопедия

Шрифт:

И. известно с древнейших времён. Пест и ступка из камня были известны за 8000 лет до н. э. За 3500 лет до н. э. ручные мельничные жернова применялись в Египте и Китае для И. зерна и лишь отчасти в горном деле. С 16 века для И. руд использовались толчеи (падающие песты). Машинное И. стало развиваться со 2-й половины 19 в. Принцип действия шаровой мельницы, основного измельчающего аппарата, был известен уже 150 лет тому назад; прототип современной мельницы изобретён в 70-х гг. 19 в.

Способы И. — раздавливание, удар, истирание, при которых основное значение имеют деформации сжатия и сдвига. По существу И. является процессом образования новых поверхностей. Под действием внешних сил в куске возникают напряжения, вызывающие микротрещины, которые способны частично закрываться (самозаживляться) при снятии нагрузки. Некоторая предельная концентрация микротрещин в единице объёма может вызвать возникновение по крайней мере одной большой трещины, которая приводит к распадению куска на части. Поверхностно-активные молекулы веществ, присутствующих в окружающей среде, адсорбируясь на стенках трещин, препятствуют их самозаживлению («эффект Ребиндера»). При повторном нагружении куска такие трещины могут дать начало большой трещине и т. д. Это явление концентрации вещества на поверхности трещин объясняет действие понизителей твёрдости, способствующих И. По мере уменьшения размера кусков в процессе И. их прочность возрастает, так как в мелких частицах оказывается меньше структурных дефектов. При очень тонком И. частицы размерами в несколько мкм и мельче могут под действием сил молекулярного сцепления образовывать хлопья и сростки. В этом случае при И. одновременно возникают новые мелкие кусочки, происходит их частичное укрупнение вследствие агрегатирования. Для предотвращения агрегатирования добавляют поверхностно-активные вещества, покрывающие частицы тончайшей плёнкой, которая препятствует слипанию. И. во многих случаях сопровождается химическими превращениями на поверхности частиц. Распределение частиц по крупности в продуктах И. обычно носит закономерный характер. Мерой крупности продукта может служить удельная поверхность, так как она обратно пропорциональна среднему размеру частиц.

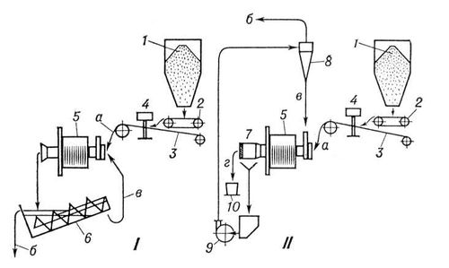
Для И. полезных ископаемых и материалов цементной и химической промышленности применяются в основном барабанные мельницы: шаровые, стержневые, галечные и самоизмельчения (см. Мельница ); в промышленности строительных материалов для И. глин, кварца, полевого шпата используют бегуны. В роликовых и кольцевых мельницах измельчаются мягкие и средней твёрдости неабразивные материалы (например, фосфориты, угли). Для очень тонкого И. небольших количеств материала с размерами зёрен от 1—2 мм до 0,05 мм применяют вибрационные мельницы. Сверхтонкое И. материалов крупностью 0,1—0,2 мм до частиц размером 2—10 мкм осуществляется в струйных мельницах. Показатели производительности машин для И. включают не только массу, но и крупность исходного материала и продукта. Расход энергии на И. зависит от прочности (измельчаемости) материала и крупности исходного материала, степени загрузки мельницы и др. Для повышения производительности мельниц и уменьшения переизмельчения материала И. часто осуществляют в замкнутом цикле с классифицирующим аппаратом; при этом из материала, разгружающегося из мельницы, выделяется готовый измельченный продукт, а крупный материал возвращается в мельницу (рис. 1 ). Мельницы эффективно работают только при определённой степени И. (см. Дробление ), поэтому для получения тонкого продукта И. часто ведут в два, реже в три приёма (стадии). При этом возможны разные схемы И.; например, при двухстадийной схеме мельница первой стадии может работать в открытом цикле, а мельница второй — в замкнутом (рис. 2 ). На рис. 3 в качестве примера показана распространённая схема мокрого И. руд в шаровой мельнице.

Получают развитие новые принципы И., основанные на использовании электрогидравлического эффекта (электрический разряд в воде), токов высокой частоты, соударения встречных потоков воздуха, несущих твёрдые частицы (так называемые струйные мельницы), и др.

Лит.: Ромадин В. П., Пылеприготовление, М. — Л., 1953; Моргулис М. Л., Вибрационное измельчение материалов, М., 1957; Ребиндер П. А., Физико-химическая механика, М., 1958; Олевский В. А., Размольное оборудование обогатительных фабрик, М., 1963; Дешко Ю. И., Креймер М. Б., Крыхтин Г. С., Измельчение материалов в цементной промышленности, 2 изд., М., 1966; Акунов В. И., Струйные мельницы, 2 изд., М., 1967; Козулин Н. А., Горловский И. А., Оборудование заводов лакокрасочной промышленности, 2 изд., М., 1968.

В. А. Перов.

Рис. 3. Схема мокрого измельчения в шаровой мельнице в замкнутом цикле со спиральным классификатором I и с гидроциклоном II: 1 — бункер дроблёной руды; 2 — питатель руды; 3 — конвейер ленточный; 4 — весы конвейерные; 5 — мельница шаровая: 6 — классификатор спиральный; 7 — грохот барабанный; 8 — гидроциклон; 9 — насос песковый; 10 — контейнер (а — дроблёная руда мельче 30 мм ; б — измельченная руда — слив мельче 0,2 мм ; в — пески, оборотный продукт; г — обломки шаров, куски руды).

Рис. 2. Схема двухстадийного измельчения.

Рис. 1. Схема замкнутого цикла измельчения.

Измельчитель кормов

Измельчи'тель кормо'в, машина для измельчения кормов перед их скармливанием с.-х. животным. В СССР для измельчения грубых кормов (солома, стебли кукурузы и др.) используют И. к. ИГК-ЗОА (производительность до 3 т/ч ), в котором дробление производится быстровращающимся диском и неподвижной декой со штифтами, расщепляющими солому вдоль волокон и измельчающими поперёк до мякинообразной массы. Корнеплоды, клубни картофеля, зелёную массу и др. измельчают (и перемешивают) в И. к. «Волгарь-5» (производительность 5—10 т/ч ). Основные рабочие органы его — режущий барабан с ножами и режущий аппарат. Измельчитель силоса ИС-2 (производительность 1,5—3,5 т/ч ) предназначен для измельчения зелёных растений и корнеклубнеплодов. Ножевой аппарат его превращает корм в мелкую сечку; при установке же сменной противорежущей пластины (в виде диска с отверстиями) можно получать пастообразную массу. Для измельчения кормов применяют И. к. других марок, а также дробилки кормов , корнерезки , соломосилосорезки , овощетёрки и др. машины с режущими или перетирающими рабочими органами.

Измельчитель кормов «Волгарь-5»: 1 — транспортёр (подаёт корм в машину); 2 — режущий барабан (измельчает корм на крупные фракции); 3 — шнек (подаёт измельченный корм в режущий аппарат): 4 — режущий аппарат (измельчает корм в крошку размером до 10 мм ).

Измельчитель минеральных удобрений

Измельчи'тель минера'льных удобре'ний, машина для измельчения с одновременным просеиванием слежавшихся минеральных удобрений перед внесением их в почву. И. м. у. можно также использовать для смешивания нескольких видов удобрений. Основные узлы выпускаемого в СССР И. м. у. — рабочий орган с ножами, решето, бункер ёмкостью 0,5 м3, транспортёр. И. м. у. навешивают на трактор «Беларусь». Рабочие органы его приводятся в действие от вала отбора мощности трактора. Слежавшиеся удобрения загружают в бункер погрузчиком. Ножи вращающегося рабочего органа измельчают удобрения. Пройдя сквозь отверстия решета, удобрения поступают на транспортёр, который сбрасывает их в формируемый бурт. Производительность И. м. у. 2—6 т/ч .

Измена Родине

Изме'на Ро'дине, по советскому праву особо опасное государственное преступление. Юридическое понятие И. Р. дано в Законе об уголовной ответственности за государственные преступления от 25 декабря 1958. И. Р. есть деяние (действие или бездействие), умышленно совершенное гражданином СССР в ущерб государственной независимости, территориальной неприкосновенности или военной мощи СССР: переход на сторону врага, шпионаж , выдача государственной или военной тайны иностранному государству, бегство за границу или отказ возвратиться из-за границы в СССР, оказание иностранному государству помощи в проведении враждебной деятельности против СССР, а равно заговор с целью захвата власти. В Законе дан исчерпывающий перечень деяний, являющихся И. Р., подчёркивается, что И. Р. может быть совершена лишь умышленно. Неосторожные действия (например, утрата документов, содержащих государственную тайну), а также умышленные деяния, совершенные без намерения причинить ущерб государственной независимости, территориальной неприкосновенности или военной мощи СССР (например, разглашение государственной тайны, незаконный переход государственной границы или незаконный выезд из СССР и т. п.) не рассматриваются как И. Р. Это иные составы преступлений, уголовная ответственность за которые предусмотрена соответствующими статьями УК.

И. Р. наказывается лишением свободы на срок от 10 до 15 лет с конфискацией имущества или смертной казнью с конфискацией имущества.

Г. З. Анашкин.

Изменение функции

Измене'ние фу'нкции, вариация функции, одна из важнейших характеристик функции действительного переменного. Пусть функция f (x ) задана на некотором отрезке [a , b ]; её изменением, или полным изменением, на этом отрезке называется верхняя грань сумм

  • Читать дальше
  • 1
  • ...
  • 25
  • 26
  • 27
  • 28
  • 29
  • 30
  • 31
  • 32
  • 33
  • 34
  • 35
  • ...

Ебукер (ebooker) – онлайн-библиотека на русском языке. Книги доступны онлайн, без утомительной регистрации. Огромный выбор и удобный дизайн, позволяющий читать без проблем. Добавляйте сайт в закладки! Все произведения загружаются пользователями: если считаете, что ваши авторские права нарушены – используйте форму обратной связи.

Полезные ссылки

  • Моя полка

Контакты

  • chitat.ebooker@gmail.com

Подпишитесь на рассылку: