Вход/Регистрация
Большая Советская Энциклопедия (ЛА)
вернуться

Большая Советская Энциклопедия

Шрифт:

Лалаян Ерванд Александрович

Лалая'н Ерванд Александрович [13(25).3.1864, Александрополь, ныне Ленинакан, — 24.2.1931, Ереван], советский этнограф, фольклорист и археолог. В 1894 окончил Женевский университет. В 1896—1916 выпускал этнографическое периодическое издание «Азгагракан андес» (вышло 26 томов). Один из организаторов Армянского этнографического общества (1906—17). В 1909 в Тбилиси по инициативе Л. был создан Этнографическо-археологический музей, в 1921 переведённый в Ереван: на его основе создан Государственный исторический музей Армении, директором которого стал Л. Основные работы по этнографии армян и по археологии Армении.

Лит.: Меликсет-Беков Л. М., Армянский этнограф-археолог Е. А. Лалаян, «Советская этнография», 1936, № 4 — 5 (имеется перечень осн. трудов Л.); Мелик-Пашаян К. В., Жизнь и деятельность Ерванда Лалаяна, там же, 1965, № 2.

Лалаянц Исаак Христофорович

Лалая'нц Исаак Христофорович (партийный псевдоним — Изоров, Инсаров, Карл, Колумб, Николай Иванович) [24.7(5.8).1870, Кизляр, ныне Дагестанской АССР, — 14.7.1933, Москва], деятель российского революционного движения. В 1888—89 член марксистского кружка Н. Е. Федосеева. В 1889 арестован и выслан из Казани. В 1892 вёл социал-демократическую пропаганду среди рабочих в Нижнем Новгороде, арестован и выслан в Самару. В 1893 вошёл в самарский кружок марксистов, созданный В. И. Лениным. В 1895 выслан в Екатеринослав (ныне Днепропетровск), где стал одним из основателей местного «Союза борьбы за освобождение рабочего класса». Участвовал в подготовке 1-го съезда РСДРП. Весной 1900 — один из редакторов 1-го номера нелегальной социал-демократической газеты «Южный рабочий»(Екатеринослав). В 1900 арестован, в 1902 выслан в Восточную Сибирь, откуда бежал за границу. В Женеве заведовал типографией «Искры». В 1903, после 2-го съезда партии, большевик, агент ЦК РСДРП в России. В 1904 член Одесского комитета РСДРП, участвовал в организации Южного бюро ЦК РСДРП. В 1905 входил в состав объединённого ЦК от большевиков, член военной организации при Петербургском комитете РСДРП. В ноябре 1906 делегат 1-й конференции военных и боевых организации РСДРП в Таммерфорсе. В декабре 1906 арестован и приговорён к 6 годам каторги (отбывал в Петербурге, Шлиссельбурге); в 1913 сослан на вечное поселение в Иркутскую губернию. Осенью 1914, надломленный тюрьмами, каторгой, тяжело больной, отошёл от партийно-политической деятельности. В 1914—17 работал в Иркутске статистиком. С 1922 заведующий отделом Главполитпросвета Наркомпроса РСФСР. С 1929 пенсионер. Автор воспоминаний «У истоков большевизма» (в. 1—2, 1930—1931).

Лалибела

Лалибе'ла, город на С.-В. Эфиопии, в провинции Волло, к В. от оз. Тана, на склонах г. Абуна-Йосеф. Средневековый религиозный центр, столица династии Загве (12—13 вв.). Известен построенными в 11—13 вв. монолитными, высеченными в вулканическом туфе трёхнефными церквами упрощённо-геометризированных форм (Бьет Мариам, Медани Алем, Бьет Эмманюэль, Бьет Меркуриос, Бьет Гиоргис, Бьет Габриель Рафаэль). В рельефах и настенной живописи этих храмов причудливо смешиваются христианские и языческие символы и мотивы.

Лит.: Monti della Corte A. A., Lalibela, Roma, 1940; Bidder J., Lalibela, L., 1959.

Лалибела. Церковь Медани Алем. 11—12 вв. Боковой фасад.

Ла-Линеа

Ла-Ли'неа (La Linea), город и порт на Ю. Испании, в Андалусии, в провинции Кадис, на берегу Альхесирасской бухты Гибралтарского пролива. 62 тыс. жителей (1970); входит в состав пограничного округа («Кампо де Гибралтар»). Нефтепереработка, нефтехимия; пищевые, металлообрабатывающие, цементные предприятия. Часть населения занята в английской колонии Гибралтар, отделённой от Л.-Л. нейтральной зоной.

Лалич Михаиле

Ла'лич (Лалић) Михаиле (р. 7.10.1914, Трепча, Черногория), югославский писатель, член Сербской академии наук и искусств (1967). Член Союза коммунистов Югославии с 1936. Изучал право в Белградском университете (с 1933). Сотрудничал в прогрессивной печати. Подвергался арестам и преследованиям. С 1941 участник Движения Сопротивления; был схвачен гестапо и приговорён к смертной казни; бежал из концлагеря в Салониках, присоединился к греческим партизанам. Профессиональным писателем стал в послевоенные годы. В 1948 выпустил сборник стихов «Тропы свободы», сборник новелл «Разведка». Широкое признание в Югославии и за рубежом получил цикл романов Л. о народно-освободительной борьбе против фашизма: «Свадьба» (1950, русский перевод 1964), «Злая весна» (1953), «Разрыв» (1955), «Лелейская гора» (1-я редакция 1957, 2-я редакция 1962; русский перевод 1968), «Облава» (1960, русский перевод 1969). В творчестве Л., обращенном к морально-этической проблематике, важное место занимает тема революционного гуманизма. Убеждённый сторонник принципов классического реализма, Л. стремится к психологической правде характеров. Л. принадлежат сборники новелл «Последняя высота» (1967),«Гости» (1967), «Пустынная земля» (1968), роман «Клочья тьмы» (1970).

Соч.: Дела, кн.1—4, Београд, 1965 — ; в рус. пер. — [Рассказы], в сборнике: Последняя высота, М., 1970.

Лит.: Злобин Ст., Славный образ героя, «Иностранная литература», 1965, № 5; Юркович М., Пути, опыт, горизонты, «Вопросы литературы», 1965, № 12; Калезич В., Роман о предательстве, «Иностранная литература», 1971, № 8.

А. Д. Романенко.

Лаллеман Шарль

Лаллема'н (Lallemand) Шарль (7.3.1857, Сент-Обен-сюр-Эр, — 1.2.1938, Бюсси, Верхняя Марна), французский геодезист, член Парижской АН (1910). В 1874 окончил Политехническую школу. В 1884—1928 начальник службы общего нивелирования Франции. Президент Международного геодезического и геофизического союза (1919—33). Основные работы по нивелированию высокой точности. Предложил новый прибор для определения среднего уровня моря.

Лит.: Perrier G., Charles Lallemand, «Bulletin g'eod'esique», 1938, № 52.

Лаллемана электронная камера

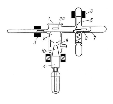
Лаллема'на электро'нная ка'мера, приёмник излучения, предназначенный для фотографирования слабых небесных объектов или их спектров; принцип её работы основан на преобразовании слабого оптического излучения в поток электронов (фотоэлектронов). Л. э. к. применяется как вспомогательный прибор к телескопу. Сконструирована французским астрофизиком А. Лаллеманом (A. Lallemand) в 50-х гг. 20 в. Представляет собой вакуумный прибор, в котором регистрация фотоэлектронов производится непосредственно на фотоэмульсию, заключённую в вакуумную колбу прибора вместе с фотокатодом (рис.). До начала работы фотокатод 2 помещается в герметичной колбе 7. После откачки воздуха из общей колбы прибора молоточек 5, управляемый электромагнитом 6, разбивает колбу 7, и катод электромагнитным приспособлением 3 передвигается в рабочее положение 2а. Излучение исследуемого объекта поступает через оптическое окно 1 и фокусируется на фотокатоде. Вылетающие из него фотоэлектроны фокусируются электростатическими линзами 8, 9 и 10 на фотоэмульсии 4. Обычно применяются мелкозернистые ядерные эмульсии, весьма чувствительные к электронам. При наблюдениях слабых объектов камера даёт выигрыш в чувствительности по сравнению с обычным фотографированием до 10 раз при коротких экспозициях и в 30—40 раз — при экспозициях около 1 ч.

Лит.: Методы астрономии, пер. с англ., М., 1967, гл. 16; Мартынов Д. Я., Курс практической астрофизики, 2 изд., М., 1967, § 13.

Э. В. Кононович.

Схема электронной камеры Лаллемана.

Лало Шарль

Лало' (Lalo) Шарль (24.2.1877, Перигё, — 1.4.1953, Париж), французский эстетик. Профессор Сорбонны (с 1933), президент Французского общества эстетики. Придерживаясь принципов позитивистской «формальной эстетики», разрабатывал в то же время социологический подход к искусству как эстетической реакции на различные явления обществ, жизни.

  • Читать дальше
  • 1
  • ...
  • 52
  • 53
  • 54
  • 55
  • 56
  • 57
  • 58
  • 59
  • 60
  • 61
  • 62
  • ...

Ебукер (ebooker) – онлайн-библиотека на русском языке. Книги доступны онлайн, без утомительной регистрации. Огромный выбор и удобный дизайн, позволяющий читать без проблем. Добавляйте сайт в закладки! Все произведения загружаются пользователями: если считаете, что ваши авторские права нарушены – используйте форму обратной связи.

Полезные ссылки

  • Моя полка

Контакты

  • chitat.ebooker@gmail.com

Подпишитесь на рассылку: