Вход/Регистрация
Большая Советская Энциклопедия (ЭЛ)
вернуться

Большая Советская Энциклопедия

Шрифт:

Рассмотренный пример показывает, что в движущейся среде характер взаимодействия заряженной частицы со средой меняется. В зависимости от скоростей частицы и среды потери энергии частицы могут иметь различную величину и даже менять знак, что соответствует уже не замедлению, а ускорению частицы средой.

После того как стали получать (с помощью сильноточных и плазменных ускорителей ) пучки заряженных частиц большой плотности движущиеся с релятивистской скоростью интерес к Э. д. с. возрос. Плотные пучки во многих отношениях ведут себя как макроскопическая движущаяся среда В связи с применением таких пучков появились новые возможности не только в Э. д. с. вообще, но также в изучении эффектов выше 1-го порядка по u/c, т. е. эффектов в которых величина u/c уже не мала по сравнению с единицей.

Лит.: Taмм И. Е. Основы теории электричества, 9 изд., М., 1976; его же, Собр. научных трудов, т. 1, М., 1975; Беккер Р., Электронная теория, пер. с нем., Л. — М., 1936; Болотовский Б. М., Столяров С. С., Современное состояние электродинамики движущихся сред (безграничные среды), в кн.: Эйнштейновский сборник. 1974, М., 1976.

Б. М. Болотовский.

Рис. 3. Излучение волн в движущейся среде в случае, когда скорость среды превышает фазовую скорость света. Источник излучения находится в начале координат. Расходящиеся от источника волны настолько сильно «сдувает по течению», что они все оказываются по одну сторону от источника.

Рис. 2. Распространение волн излучения в движущейся среде. Источник излучения находится в начале координат. Среда движется вправо со скоростью v . Видно, что волновые поверхности «сносит по течению». Скорость движения среды не превышает фазовой скорости света.

Рис. 1. Отражение света от движущегося зеркала. Угол отражения a2 не равен углу падения a1 , частота w2 отражённого света не равна частоте w1 падающего света. Зеркало движется с постоянной скоростью u навстречу падающему свету.

Электродинамика квантовая

Электродина'мика ква'нтовая, см. Квантовая электродинамика .

Электродинамическая устойчивость аппарата

Электродинами'ческая усто'йчивость аппара'та, способность электрического аппарата работать без повреждений, выдерживая электродинамические усилия, возникающие в нём в результате взаимодействия магнитных полей, создаваемых токопроводящими частями аппарата, и определяемых исходя из самых тяжёлых условий, возможных при его эксплуатации (обычно при коротком замыкании). Э. у. а. задаётся (и указывается в паспорте прибора) либо как максимально допустимая амплитуда сквозного тока, проходящего через аппарат, либо как наибольшее допустимое отношение этого тока к номинальному току аппарата, либо в виде максимально допустимого механического усилия в аппарате при коротком замыкании.

Лит.: Холявский Г. Б., Расчет электродинамических усилий в электрических аппаратах, М. — Л., 1962; Тамм И. Е., Основы теории электричества, 8 изд., М., 1966.

Р. Р. Мамошин.

Электродинамический громкоговоритель

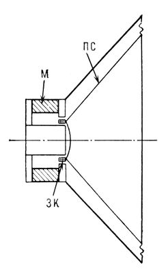
Электродинами'ческий громкоговори'тель,громкоговоритель , в котором для преобразования электрических колебаний звуковых частот в механические используют взаимодействие магнитного поля постоянного магнита с током в подвижной катушке, подключенной к источнику электрических колебаний. Катушка (располагаемая в зазоре магнита) и жестко связанная с ней диафрагма (см. рис. ) вместе с магнитной системой образуют т. н. головку Э. г. Взаимодействие тока с магнитным полем вызывает механические колебания диафрагмы, сопровождающиеся излучением звуковых волн либо непосредственно (в Э. г. прямого излучения), либо через рупор (в рупорных громкоговорителях ). Для обеспечения высокого качества звучания и эксплуатационной надёжности Э. г. головку помещают в корпус из дерева, пластмассы или металла. Э. г. используют в радиоприёмниках , электрофонах , магнитофонах и т. п. Мощность Э. г. зависит от его назначения и лежит в пределах от 0,05 до 100 ва ; кпд Э. г. прямого излучения обычно не более 1— 3%. Э. г. бывают узкополосные (обеспечивают воспроизведение в сравнительно узком интервале частот, например 300—5000 гц ) и широкополосные (например, 40—15000 гц ). Широкополосные головки сложны в изготовлении, поэтому в Э. г. часто применяют системы, состоящие из нескольких головок, каждая из которых производит звук в определённом участке частотного диапазона.

Лит.: Римский-Корсаков А. В., Электроакустика, М., 1973; Эфруси М. М., Громкоговорители и их применение, 2 изд., М., 1976.

Н. Т. Молодая, Л. З. Папернов.

Схема электродинамического громкоговорителя прямого излучения: М — магнит; ПС — подвижная система (диафрагма); ЗК — звуковая катушка.

Электродинамический микрофон

Эле'ктродинамический микрофо'н,микрофон , в котором для преобразования звуковых колебаний в электрические используют явление возникновения эдс индукции (см. Индукция электромагнитная ) в металлическом проводнике, совершающем под действием звуковых волн вынужденные колебания в поле постоянного магнита.

Электродинамический прибор

Электродинами'ческий прибо'р , измерительный прибор , принцип действия которого основан на механическом взаимодействии двух проводников при протекании по ним электрического тока. Э. п. состоит из измерительного преобразователя , преобразующего измеряемую величину в переменный или постоянный ток, и измерительного механизма электродинамической системы (рис. ). Наиболее распространены Э. п. с подвижной катушкой, внутри которой на оси со стрелкой расположена подвижная катушка. Вращающий момент на оси возникает в результате взаимодействия токов в обмотках катушек 1 и 2 и пропорционален произведению действующих значений этих токов. Уравновешивающий момент создаёт пружина, с которой связана ось. При равенстве моментов стрелка останавливается.

Э. п. — наиболее точные электроизмерительные приборы, применяемые для определения действующих значений тока и напряжения в цепях переменного и постоянного тока. При последовательном соединении обмоток катушек угол поворота стрелки пропорционален квадрату измеряемой величины. Такое включение обмоток применяется в Э. п. для измерения напряжения и силы тока (вольтметры и амперметры ). Электродинамические измерительные механизмы используют также для измерения мощности (ваттметры ). При этом через неподвижную катушку пропускают ток, пропорциональный току, а через подвижную — ток, пропорциональный напряжению в измеряемой цепи. Показания прибора пропорциональны активному или реактивному значению электрической мощности. В случае исполнения электродинамических механизмов в виде логометров их применяют как частотомеры, фазометры и фарадометры. Э. п. изготовляют главным образом переносными приборами высокой точности — классов 0,1; 0,2; 0,5. Разновидность Э. п. — ферродинамический прибор, котором для усиления магнитного поля неподвижной катушки применяют магнитопровод из ферромагнитного материала. Такие приборы предназначаются для работы в условиях вибрации, тряски и ударов. Класс точности ферродинамических приборов 1,5 и 2,5.

  • Читать дальше
  • 1
  • ...
  • 33
  • 34
  • 35
  • 36
  • 37
  • 38
  • 39
  • 40
  • 41
  • 42
  • 43
  • ...

Ебукер (ebooker) – онлайн-библиотека на русском языке. Книги доступны онлайн, без утомительной регистрации. Огромный выбор и удобный дизайн, позволяющий читать без проблем. Добавляйте сайт в закладки! Все произведения загружаются пользователями: если считаете, что ваши авторские права нарушены – используйте форму обратной связи.

Полезные ссылки

  • Моя полка

Контакты

  • chitat.ebooker@gmail.com

Подпишитесь на рассылку: