Вход/Регистрация
Отопление и водоснабжение загородного дома
вернуться

Смирнова Людмила Николаевна

Шрифт:

Обычно чугунные радиаторы рассчитаны на рабочее давление 6—9 атм, опрессовочное (испытательное) – 15—18 атм и максимальную температуру теплоносителя – 130° С. Они имеют следующие положительные свойства:

• большую тепловую мощность;

• высокую механическую прочность;

• хорошую коррозионную стойкость;

• невосприимчивость к плохому качеству теплоносителя.

К недостаткам этих отопительных приборов можно отнести:

• большую металлоемкость;

• высокую тепловую инерцию;

• нестойкость к гидравлическим ударам в системе;

• несоответствие санитарно-гигиеническим нормам;

• большие трудозатраты при транспортировке и установке из-за большого веса радиатора;

• неэстетичный внешний вид.

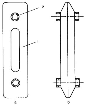
Рис. 35. Секция радиатора двухколончатая: а – вид в разрезе; б – вид сбоку; 1 – колонки; 2 – внутренняя резьба

Секционные алюминиевые радиаторы по популярности в нашей стране идут вторыми после чугунных. Они представляют собой прессованные секции и коллекторы, которые изготавливаются из алюминиевого сплава с добавлением кремния (он придает металлу необходимую прочность на разрыв). Алюминиевые радиаторы выпускаются в двух вариантах:

а) литые отопительные приборы (каждая секция отливается как отдельная деталь);

б) экструзионные радиаторы (каждая секция состоит из трех элементов, соединенных между собой специальными болтами). Герметичность соединений достигается за счет уплотнительных элементов или с помощью клеевого соединения.

У алюминиевых радиаторов также имеются свои плюсы и минусы. К положительным качествам можно отнести:

• повышенную теплоотдачу за счет оребрения секций;

• высокую скорость нагрева (нагреваются в несколько раз быстрее, чем чугунные);

• экономичность потребления энергии;

• возможность регулировки температуры воздуха в помещении;

• небольшую массу;

• простоту установки и транспортировки;

• современный дизайн.

Большинство алюминиевых радиаторов рассчитано на рабочее давление 6—25 атм, опрессовочное давление – 9—37 атм, максимальную температуру теплоносителя – 130° С.

К недостаткам алюминиевых радиаторов относятся:

• невысокая конвективная способность;

• повышенное газообразование, которое приводит к воздушным пробкам в системе отопления;

• высокая вероятность возникновения протечек между секциями;

• концентрация тепла на оребрении.

В продаже имеются также анодированные радиаторы, которые изготавливают из алюминия высшей степени очистки с последующим полным анодным оксидированием всей поверхности. Анодное оксидирование изменяет структуру алюминия, тем самым защищая радиатор от всех видов коррозии, а также других вредных воздействий. Для соединения элементов радиатора между собой применяются не ниппели, а сухие наружные муфты. Благодаря этому внутренняя поверхность отопительных приборов остается гладкой. Такой способ соединения исключает образование застоев теплоносителя и засоров системы. Теплоотдача анодированных радиаторов значительно выше, чем простых алюминиевых.

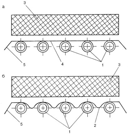
Рис. 36. Стальные панельные радиаторы: а – колончатой формы; б – змеевиковой двухходовой; в – змеевиковой четырехходовой; 1 – колонки

Анодированные радиаторы рассчитаны на рабочее давление 50—70 атм, а разрушаться они начинают только при давлении 215 атм!

Стальные панельные радиаторы (рис. 36) представляют собой два штампованных стальных листа толщиной 1,4—1,5 мм, соединенных между собой двумя способами:

а) горизонтальными коллекторами, соединенными вертикальными колонками (колончатая форма);

б) горизонтальными параллельно и последовательно соединенными каналами, приваренными к одной панели (форма змеевика).

Стальные панели бывают одно– и двухрядными с декоративным покрытием из термостойкой эмали и без него, с ребристой или гладкой поверхностью. Такого рода отопительные приборы рассчитаны на рабочее давление 6—10 атм и максимальную температуру теплоносителя 110—150° С.

Достоинствами стальных панельных радиаторов являются:

• высокая теплоотдача;

• малая тепловая инерция;

• соответствие санитарно-гигиеническим нормам;

• небольшой вес;

• эстетичный внешний вид.

Поскольку резьбовых соединений в таком радиаторе всего два, то протечки возникают гораздо реже, чем у секционных радиаторов.

Самыми главными недостатками таких отопительных приборов являются:

• небольшая площадь нагревательной поверхности;

• невысокая коррозионная стойкость.

В табл. 34 даны технические характеристики стальных панельных радиаторов отечественного производства.

  • Читать дальше
  • 1
  • ...
  • 20
  • 21
  • 22
  • 23
  • 24
  • 25
  • 26
  • 27
  • 28
  • 29
  • 30
  • ...

Ебукер (ebooker) – онлайн-библиотека на русском языке. Книги доступны онлайн, без утомительной регистрации. Огромный выбор и удобный дизайн, позволяющий читать без проблем. Добавляйте сайт в закладки! Все произведения загружаются пользователями: если считаете, что ваши авторские права нарушены – используйте форму обратной связи.

Полезные ссылки

  • Моя полка

Контакты

  • chitat.ebooker@gmail.com

Подпишитесь на рассылку: