Вход/Регистрация
Отопление и водоснабжение загородного дома
вернуться

Смирнова Людмила Николаевна

Шрифт:

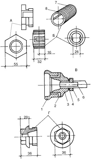
Монтаж стояков

Эту операцию выполняют в соответствии со следующими требованиями (рис. 59):

– стояки монтируют строго по отвесу;

– длину и диаметр стояков в целях уменьшения расхода металла сокращают;

– стояки целесообразно устанавливать в углах, образуемых наружными стенами;

– необходимо предусматривать отдельное расположение стояков для отопления лестничных клеток;

– скрытые стояки располагают в бороздах наружных стен, при этом не допускается примыкание стояков вплотную к поверхности строительных конструкций;

– на пересечении стояков и подводок скобы устанавливают на стояках, а не на подводках, с направлением изгиба в сторону помещения;

– в местах прохода стояков через перекрытия их вставляют в гильзы из кровельной жести или в обрезки труб большого диаметра. При этом края гильз, закрепленных в перекрытиях, должны выступать над уровнем пола (потолка) на 20—30 мм, что позволит предотвратить порчу штукатурки при удлинении и движении стояков во время нагревания;

– в местах прохода стояков через деревянные конструкции необходимо предусмотреть изоляцию;

– распределительные поэтажные и промежуточные трубы между стояками и подводками монтируют под отопительными приборами у пола на таком же расстоянии от поверхности пола, как и стояки (без уклона).

Однотрубные стояки с односторонними подводками по отношению к откосам оконных проемов должны находиться на расстоянии 16 см. В двухтрубных системах подающий стояк располагается с правой стороны, а обратный – с левой, если смотреть на стену.

Рис. 59. Монтаж стояков: а – с приоконными стояками и радиаторами; б – с замоноличенными стояками и конвекторами; 1 – стояк приоконный; 2 – радиатор; 3 – внутренняя стена; 4 – замоноличенный стояк; 5 – конвектор

К стене стояки крепятся с помощью хомутов на высоте 1,5—1,8 м от пола. На каждый этаж должна приходиться одна точка крепления.

Балансировка системы

При монтаже отопительной системы, как правило, возникает множество моментов, которые невозможно предусмотреть в процессе проектирования. Поэтому при запуске система работает и отдает тепло не так, как задумывалось.

Различные сбои и неэффективность работы отопительной системы связаны не столько с неправильным выбором оборудования, сколько с неправильным расходованием теплоносителя. При недостаточном его расходовании воздух в помещении не прогревается и температура остается низкой, а при перерасходе теплоносителя возникает перегрев воздуха. При этом перегрев в одном помещении ведет к недостатку тепла в других. Плохо поддаются регулировке однотрубные системы отопления. Чтобы наладить работу вновь смонтированной системы отопления, необходимо произвести ее балансировку.

Балансировка отопительной системы представляет собой гидравлическую регулировку, без которой невозможна ее долгая и эффективная работа. Результатом балансировки становится перераспределение теплоносителя по замкнутым участкам системы таким образом, чтобы через каждый отопительный прибор проходил расчетный объем теплоносителя.

Имеется мнение, что балансировку отопительной системы нужно производить только в больших многоэтажных зданиях. Но это далеко не так. Небольшие загородные дома, в которых расход тепла в разных помещениях неодинаков, балансировка отопительной системы жизненно необходима. Причем чем сложнее система, чем больше в ней отступлений от проекта или брака при монтаже, тем выше необходимость в балансировке.

Под балансировкой отопительной системы подразумевается настройка специальной запорно-регулирующей арматуры, которая управляет движением теплоносителя. Ни термостатические клапаны, ни системы автоматического регулирования не обеспечивают нужного распределения теплоносителя в системе, поэтому не только не могут выполнить операцию балансировки, но и сами нуждаются в хорошо сбалансированной системе отопления. А вот балансирующие клапаны, регуляторы расхода, регуляторы давления и перепускные клапаны – именно та арматура, без которой невозможно произвести гидравлическую балансировку системы. В них гасится избыточный перепад давления, вредный для термостатов и автоматики. Кроме того, они дают возможность выявить неполадки в системе и способствуют их быстрому устранению.

В разных отопительных системах используется специальная балансировочная арматура. В однотрубных системах применяются ручные балансировочные краны. Этого для них достаточно. А в двухтрубных системах с автоматическими терморегуляторами следует устанавливать автоматические балансировочные клапаны. Монтируют их так, чтобы длина прямого участка трубы перед клапаном и после него составляла не менее 5 диаметров трубы, а при установке сразу же за циркуляционным насосом – не менее 10 диаметров трубы. В противном случае возникают вихревые потоки, снижающие точность регулировки. Размер балансирующего клапана должен совпадать с диаметром трубы.

Существует несколько методов балансировки. Самый популярный и простой, но самый трудоемкий из них представляет собой многократные замеры на всех балансировочных клапанах. Самым эффективным считается метод, при котором отопительная система подразделяется на модули. Модулем может быть отдельный отопительный прибор, их группа, целая ветвь или стояк со всеми ветвями. На выходе каждого модуля монтируется один балансировочный клапан, позволяющий модулю работать автономно, независимо от других модулей. Таким образом, работу всех модулей можно сбалансировать по отношению друг к другу.

  • Читать дальше
  • 1
  • ...
  • 33
  • 34
  • 35
  • 36
  • 37
  • 38
  • 39
  • 40
  • 41
  • 42
  • 43
  • ...

Ебукер (ebooker) – онлайн-библиотека на русском языке. Книги доступны онлайн, без утомительной регистрации. Огромный выбор и удобный дизайн, позволяющий читать без проблем. Добавляйте сайт в закладки! Все произведения загружаются пользователями: если считаете, что ваши авторские права нарушены – используйте форму обратной связи.

Полезные ссылки

  • Моя полка

Контакты

  • chitat.ebooker@gmail.com

Подпишитесь на рассылку: