Вход/Регистрация
Отопление и водоснабжение загородного дома
вернуться

Смирнова Людмила Николаевна

Шрифт:

• дорогостоящая аппаратура, необходимая для настройки клапана;

• сложности сервисного обслуживания.

Балансировочные клапаны изготавливаются с муфтовым резьбовым, фланцевым, сварным и комбинированным соединением. В отличие от термостата они могут монтироваться в любом положении, но все-таки нижнее расположение измерительного входа более удобно для эксплуатации. Поток через клапан должен идти в направлении, указанном стрелкой на его корпусе.

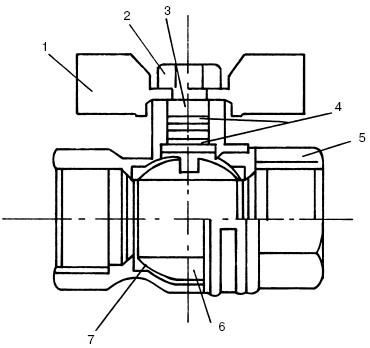
Шаровые краны (рис. 54). В настоящее время во всех отопительных системах, а также при холодном и горячем водоснабжении используются шаровые краны, которые заменили устаревшие вентили. Благодаря простоте внутреннего устройства они считаются более совершенными и долговечными видами запорно-регулирующей арматуры.

Шаровой кран – это устройство, состоящее из корпуса, внутри которого имеется шар с цилиндрическим отверстием, окруженный поясом тефлоновых колец. Шток выполнен в форме рычага или бабочки. Вращение шара вокруг своей оси выполняется при посредстве штока. Сальник штока, являющийся наиболее важным элементом крана, бывает разборным и неразборным.

Существует мнение, что шаровой кран с разборным сальником лучше, т. к. в случае протечки его можно быстро разобрать и починить. Но кран, имеющий неразборный сальник, надежнее, имеет большой срок службы и меньшую вероятность протечки, т. к. он герметичен.

По пропускной способности шаровые краны делят на:

– неполнопроходные – величина прохода 40—50%;

– стандартные – величина прохода 70—80%;

– полнопроходные – величина прохода 90—100%.

Рис. 54. Шаровой кран: 1 – ручка; 2 – гайка, фиксирующая ручку на штоке; 3 – шток; 4 – уплотнительные кольца; 5 – корпус клапана; 6 – шаровой затвор; 7 – уплотнительные тефлоновые кольца

В связи с тем что шаровые краны имеют только два положения – «открыто» и «закрыто», их не стоит монтировать на подводках к отопительным приборам.

Монтаж традиционной системы отопления

Как правило, монтаж начинается с установки отопительных приборов. Но при таком порядке сборки системы можно допустить множество ошибок с монтажом подающих и отводящих подводок. Поэтому некоторые специалисты сначала устанавливают стояки с подводками, а потом монтируют отопительные приборы.

Стоимость и сложность монтажных работ зависит от схемы циркуляции теплоносителя, конфигурации отопительной системы и трубной разводки. При прокладке систем с естественной циркуляцией используют трубы большого диаметра, что увеличивает стоимость трубопровода и усложняет монтаж.

Монтаж отечественных чугунных радиаторов

Поскольку отечественные чугунные радиаторы значительно отличаются от импортных, они требуют обязательной протяжки межсекционных соединений и дополнительной покраски перед установкой. С этого и начинается установка чугунного радиатора.

Монтаж чугунных радиаторов состоит из нескольких этапов:

1. Группирование секций (рис. 55, 56). Сначала чугунные радиаторы разбирают на секции. Делается это следующим образом. Радиатор закрепляют на верстаке и в открытые ниппельные отверстия вставляют два радиаторных ключа. С одной стороны радиаторного ключа выполнено ушко для ручки, с другой – плоская отвертка, ширина которой чуть меньше ниппельного отверстия. Оба ключа вставляют на соответствующую глубину в верхнее и нижнее ниппельные отверстия. Чтобы не было перекоса секций, ниппели следует развернуть одновременно, поэтому делать это нужно вдвоем.

С разных сторон радиатора у ниппелей выполнена разная резьба. Это влияет на вращение радиаторного ключа. Если отсоединение секций выполняется с той стороны, где ниппель с левой резьбой, то ключ вращается вправо; если разборка ведется со стороны правой резьбы, то ключ вращается влево.

Рис. 55. Группирование секций радиаторов: а – захват ниппелями резьбы секций на 2-3 нитки резьбы; б – доворачивание ниппелей и стыковка секций; в – подсоединение третьей секции; г – группировка двух радиаторов; 1 – секция; 2 – ниппель; 3 – прокладка; 4 – короткий радиаторный ключ; 5 – ломик; 6 – длинный радиаторный ключ

2. Гидравлическое испытание радиатора. Оно проводится на специально оборудованном стенде. Радиатор подключается к гидравлическому прессу и заполняется водой. Пресс создает в радиаторе нужное давление – от 4 до 8 кгс/см2. Если стрелка манометра станет падать, то секции собраны некачественно или в них образовались трещины. В этом случае с помощью радиаторных ключей ниппели подтягивают или заменяют бракованные секции. Если трещины небольшие, их можно заделать эпоксидным клеем. Иногда небольшие протечки устраняют, заменяя прокладки.

Рис. 56. Ниппель и пробки: А – проходная стальная пробка с самой крупной внутренней резьбой G1.B; Б – ниппель; В – подводка к радиатору; г – проходная чугунная пробка с минимальной резьбой G1/2.B, применяемой в радиаторах; 1 – секция; 2 – прокладка; 3 – проходная пробка; 4 – уплотнение; 5 – контргайка; 6 – труба подводки с удлиненной резьбой; 7 – левая резьба; 8 – правая резьба

3. Грунтовка и окраска радиатора.

4. Установка радиатора (рис. 57).

<
  • Читать дальше
  • 1
  • ...
  • 31
  • 32
  • 33
  • 34
  • 35
  • 36
  • 37
  • 38
  • 39
  • 40
  • 41
  • ...

Ебукер (ebooker) – онлайн-библиотека на русском языке. Книги доступны онлайн, без утомительной регистрации. Огромный выбор и удобный дизайн, позволяющий читать без проблем. Добавляйте сайт в закладки! Все произведения загружаются пользователями: если считаете, что ваши авторские права нарушены – используйте форму обратной связи.

Полезные ссылки

  • Моя полка

Контакты

  • chitat.ebooker@gmail.com

Подпишитесь на рассылку: