Вход/Регистрация
Отопление и водоснабжение загородного дома
вернуться

Смирнова Людмила Николаевна

Шрифт:

Обычно для каждого помещения монтируется своя автономная система напольного обогрева с отдельным терморегулятором. Не следует использовать общий кабель для всех комнат, потому что каждое помещение имеет свои теплопотери. Один и тот же кабель не может реагировать на разный уровень потери тепла.

Монтаж системы напольного кабельного обогрева

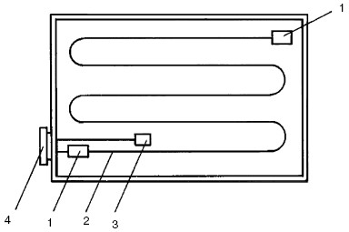
Все системы «теплых» полов имеют одну и ту же схему монтажа. Она показана на рис. 63.

Выполняется такая схема в следующей последовательности.

Рис. 63. Схема монтажа напольного кабельного обогрева: 1 – выключатель; 2 – дверь; 3 – регулятор; 4 – распаечная коробка; 5 – соединительные муфты; 6 – монтажная лента; 7 – датчик; 8 – нагревательная секция

1. На уровне 1,2—1,4 м от пола на стене наносится метка для установки терморегулятора. Если помещение имеет повышенную влажность, то терморегулятор устанавливают за его пределами (например, в соседней комнате).

2. От пола к месту установки терморегулятора проделывают канал, предназначенный для укладки токоведущих проводов нагревательного кабеля и температурного датчика.

3. Выполняют теплоизоляцию бетонного пола. Для этих целей берется пробка, жесткий пенопласт, полиуретан или фольгированный полипропилен.

4. В случае если теплоизоляционный материал имеет слой фольги, поверх него обязательно укладывают монтажную ленту. В остальных случаях выполняется только тонкая бетонная стяжка толщиной 1 см (рис. 64). На нее укладывается монтажная лента. Это делается для того, чтобы нагревательный кабель не соприкасался с теплоизолятором. В противном случае кабель может перегреться и выйти из строя. Монтажная лента закрепляется с помощью дюбелей.

5. После этого равномерно укладывается нагревательный кабель и закрепляется специальными приспособлениями в виде небольших хомутов, расположенных на монтажной ленте. Величина шага укладки нагревательного кабеля рассчитывается по формуле: h = S/L, где h – шаг укладки (мм); S – площадь укладки нагревательной секции (м2); L – длина нагревательного кабеля (м).

6. Температурный датчик помещается в гофрированную трубу и укладывается в 50 см от стены между витками кабеля таким образом, чтобы он оказался в открытой петле. Чтобы внутрь трубы не попал раствор, его заглушают. Гофрированная труба должна иметь такую длину, чтобы доставать до места установки терморегулятора. Впоследствии это облегчит ремонт вышедшего из строя датчика температуры.

Рис. 64. Нагревательный кабель в бетонной стяжке по теплоизоляции: 1 – перекрытие; 2 – теплоизоляция; 3 – датчик температуры; 4 – нагревательный кабель; 5 – бетонная стяжка; 6 – напольное покрытие; 7 – несущая стена

7. Токоведущие провода нагревательного кабеля и температурного датчика прокладывают в заранее выполненном канале и закрывают слоем цементного раствора.

8. Следующая операция – заливка нагревательного кабеля бетонной стяжкой толщиной не менее 3—5 см. Это нужно для того, чтобы тепло равномерно распределялось по поверхности пола. Чтобы обогреть комнату, имеющую высокий потолок, нужна система высокой удельной мощности. В этом случае толщина стяжки должна составлять 8—10 см. Соединительные муфты нагревательных секций также заливаются бетоном.

Рис. 65. Укладка в одной комнате (20 м2) двух нагревательных секций: 1 – нагревательная секция мощностью 800 Вт на площадь 8 м2; 2 – нагревательная секция мощностью 1200 Вт на площадь 12 м2; 3 – разграничительная зона секций

9. После того как стяжка высохнет, можно укладывать напольное покрытие (линолеум, плитку и пр.).

10. По завершении всех отделочных работ монтируется терморегулятор.

11. Примерно через месяц, когда бетонная стяжка окончательно отвердеет и просохнет, систему напольного кабельного обогрева можно запускать в эксплуатацию. Преждевременно включать ее очень опасно!

12. Поворотом ручки терморегулятора задается нужный уровень температуры пола.

Прежде чем укладывать нагревательный кабель, помещение следует освободить от тяжелых предметов мебели и стационарного оборудования (кухонной плиты, холодильника, стиральной и посудомоечной машин и т. д.). Комнату делят на участки, соответствующие по размерам одной нагревательной секции. Количество, длина и шаг укладки секций определяются с учетом удельной мощности обогрева и технических характеристик нагревательных кабелей (рис. 65).

Новинкой последнего времени в области напольного кабельного обогрева являются «теплые» маты. Они представляют собой тонкий кабель, уложенный в пластиковую арматурную сетку. Такого рода отопительную систему укладывают по бетонному основанию пола, а сверху облицовывают керамической плиткой. При этом общая толщина «теплых» полов составляет не более 2 см.

Достоинства и недостатки кабельной системы обогрева

По сравнению с другими отопительными системами напольный кабельный обогрев обладает рядом преимуществ.

  • Читать дальше
  • 1
  • ...
  • 39
  • 40
  • 41
  • 42
  • 43
  • 44
  • 45
  • 46
  • 47
  • 48
  • 49
  • ...

Ебукер (ebooker) – онлайн-библиотека на русском языке. Книги доступны онлайн, без утомительной регистрации. Огромный выбор и удобный дизайн, позволяющий читать без проблем. Добавляйте сайт в закладки! Все произведения загружаются пользователями: если считаете, что ваши авторские права нарушены – используйте форму обратной связи.

Полезные ссылки

  • Моя полка

Контакты

  • chitat.ebooker@gmail.com

Подпишитесь на рассылку: