Вход/Регистрация
Военное дело чукчей (середина XVII—начало XX в.)
вернуться

Нефедкин Александр Константинович

Шрифт:

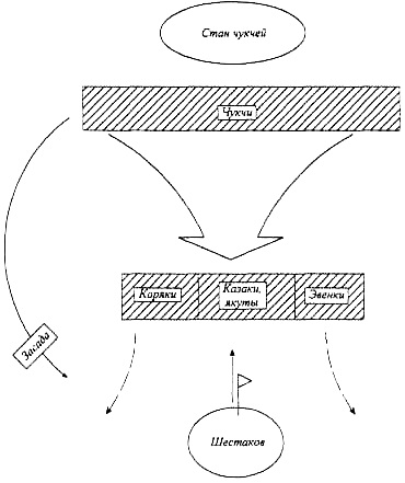
О построении чукчей ничего не сообщается, но, по-видимому, воспользовавшись ночью, они сделали засаду за левым флангом войска противника или же, воспользовавшись большей протяженностью по фронту, просто зашли в тыл корякам.

Сражение началось сразу, без взаимной ругани и поединков, для чего, очевидно, противники сблизились. Бой начался традиционно: перестрелкой, от которой обычно было много раненых, но мало убитых. Чукчи, не дав русским перезарядить ружья и выстрелить повторно, пошли в атаку, решив использовать свое численное превосходство и мастерство индивидуальных воинов. Вероятно, по всей линии фронта стали переходить врукопашную. У чукчей это обычно фехтование на копьях. Первыми дрогнули коряки. Хотя в целом неясно, была ли рукопашная между чукчами и коряками или коряки сразу пустились в бегство. Увидев отходящих коряков, чукчи выскочили из засады и с двух сторон окончательно разгромили противника, после чего направились к «вагенбургу», против А. Ф. Шестакова. Правый фланг также сопротивлялся недолго, увидев, что левый бежит. Бой шел в центре, где сражались русские и якуты, на помощь выскочил и голова, которого, по-видимому, окружили враги. Сопротивляющихся, видимо, чукчи брали в кольцо. В ходе рукопашной стрела попала А. Ф. Шестакову в шею. Он, выдернув стрелу, хотел спастись бегством и влез на первые попавшиеся оленьи нарты, однако силы его, по-видимому, иссякали, и он не мог управлять оленьими нартами (а возможно, не очень-то и умел), которые привезли его к хозяину. Причем в тексте говорится только об одном направляющем правом олене, тогда как в ездовой чукотской нарте было два оленя, вряд ли речь шла о грузовой нарте, запряженной одним животным, их чукчи обычно оставляли в лагере, а не рядом со строем воинов, подъезжавших к месту боя именно на ездовых санях. Хозяин нарты вместе с тремя другими воинами заколол Шестакова. Чукчи не преследовали разбитых врагов. Всего был убит 31 человек: сам А. Ф. Шестаков, дворянин Б. Жертин, 9 казаков, столько же якутов и 11 прочих [92] ; чукчи захватили в острожке знамя, 12 фузей, 3 винтовки, 12 ручных гранат, 12 железных куяков (Сгибнев 1869: 16) [93] . Уже в следующем году во время своего первого похода против чукчей Д. И. Павлуцкий отбил часть этой добычи.

92

По другим данным, погибло 11 русских, 11 эвенов, 6 якутов, один коряк (Гольденберг 1984: 72).

93

А. С. Зуев (2002: 63) полагает, что погибло 10 служилых, 6 якутов, 11 эвенов, 1 новокрещеный коряк.

На примере данного сражения мы можем рассмотреть некоторые особенности тактики обеих сторон. Россияне строились в обычный линейный порядок: сами располагались в середине, а союзники — на флангах. При этом расчет делался на силу ружейного огня и отражение атаки неприятеля. Ведь из-за значительного численного перевеса противника тактика отряда А. Ф. Шестакова должна была быть оборонительной. Чукчи также использовали приемы боя, которые вырабатывались у них в борьбе с русскими: во-первых, окружить противника, в данном случае путем засады; во-вторых, не дать врагу использовать свое преимущество (если такое было) от огнестрельного оружия и скорее перейти к рукопашному бою, где можно использовать свое как численное, так и физическое превосходство (ср.: Две записки… 1873: 362; Окунь 1935а: 78); и, наконец, в-третьих, не преследовать врага, избегая тем самым лишних потерь.

Другим достаточно хорошо известным сражением русских с чукчами является бой на реке Орловой 14 марта (по старому стилю) 1747 г. Сражение освещено в источниках с разных сторон. Официальные рапорты о смерти майора, естественно, показывают бой с российской стороны, представляя факты в выгодном для нее свете (КПЦ. № 65-66). Несколько дополняет сухие отчеты информация работавших с документами сибирских архивов А. С. Сгибнева (1869а: 59), П. А. Словцова (1886. Кн. 1: 253-254) и Г. Л. Майделя (1894: 560). Подробности о гибели майора можно найти даже в преданиях колымчан, марковцев и анадырцев (Майдель 1925: 23-24; Олыксандрович 1884. № 11: 295; Дьячков 1893: 37-39). И наконец, чукотскую точку зрения на эти события мы можем видеть в ряде сказаний о Якунине, по-разному трактовавших гибель майора (Богораз 1900. № 127-129; 146). Неясно, почему тут Павлуцкий именуется Якуниным, ведь имя его было Дмитрий Иванович. В. Г. Богораз предполагает, что у майора была кличка Яков, откуда и произошло прозвище Якуня (Тан-Богораз 1930: 64).

Итак, 12 марта ясачные коряки, которых должны были защищать как своих подданных русские власти, пожаловались коменданту Анадырской крепости майору Д. И. Павлуцкому на чукчей, которые в этот день угнали у них и у казаков семь табунов оленей и захватили в плен восемь человек (КПЦ. № 65-1: 169). Д. И. Павлуцкий бросился в погоню, не дожидаясь подхода подкреплений. Он «собрался с лехкими людьми с солдатами и служилыми всего» 97 человек, в том числе четверо казачьих детей, один колымский служилый, двое посадских. Они отправились вперед на собачьих нартах и оленях. Также в походе приняли участие 35 оленных коряков, которые, соответственно, и ехали на оленьих нартах. Позади на лыжах шли 202 солдата и казака под командованием сотника А. Котковского, неся на себе оружие и везя нарты. Для охраны Анадырска осталось всего 53 человека.

Утром 14 марта авангардный отряд майора догнал чукчей. Последние, в количестве около 500 человек, расположились на воз- вышенности. Майор собрал совет. Один из сотников предложил стать табором, огородившись нартами, и ждать остальную команду, тогда как сотник Кривошапкин посоветовал напасть на чукчей немедленно, пока они сконцентрированы в одном месте и не разбрелись по окрестностям (Словцов 1886. Кн. 1: 253-254). Д. И. Павлуцкий, последовав второму совету, отдал приказ начать бой. В показании ясачных коряков от 17 марта 1747 г. так описываются последующие события: «И как они, неприятели, рассмотрели, что малолюдно, едва через великую возможность дали выпалить из ружей один раз и то не всем, бросились вдруг на копья и не дали никакой неправы, стали побивать наше войско и много ружей отбили» (КПЦ. № 65-2: 169). Рапорт А. Котковского в иркутскую канцелярию от 3 апреля 1747 г. описывает ситуацию с русской точки зрения: «…а больше и ружей заправить было некогда, понеже пошли неприятели чюкчи на копьях, так же и они [казаки] насупротив их, неприятелей чюкоч, пошли на копьях же и бились с ними не малое время… они, неприятели, у служилых и служилые у них друг у друга отнимали из рук копья, а протчие служилые, у которых отбиты были ружья, оборонялись и ножами» (КПЦ. № 66: 173-174). Сам майор храбро сражался. Согласно преданиям анадырцев, он дрался, держа саблю в правой руке, а ствол от ружья — в левой (Майдель 1925: 24). Часть «чукчей, обойдя сопку, явилась с тыла» (Словцов 1886. Кн. 1: 254). Чтобы не подвергнуться окружению, коряки и русские стали быстро отступать, а некоторые — на оленях спасаться бегством. Далее, по свидетельству коряков: «…достальные служилые, также и мы, стали отбиватца отходным боем и тогда с нашей стороны много ранено служилых и до смерти побито, также и коряк много ж убито, затем что по вступлении с неприятелями в баталию отбито у служилых ружей, а у коряк луков, и отбивались тем отходным боем с оставшимися с нами служилыми до своего осадного коряцкого острогу, который был из наших возовых санок, с великим трудом» (КПЦ. № 65-3: 170). Только при отходе было ранено 13 служилых и 15 коряков. Чукчи преследовали отступавших до «вагенбурга» из санок, но, увидев спешащее на помощь русским подкрепление (около 50 человек), отступили. Сам майор также отступал с немногими оставшимися с ним. «Чукча, попавший в плен чуванцев, следующим образом описывал кончину майора. После побега изменников чукчи долго не могли убить Павлуцкого, потому что он носил панцирь. Чукчи долгое время стреляли в него из луков и кололи копьями, а все-таки не могли его ранить; наконец, обступив его, как волки оленя, запутали ремнями, уронив на землю, и нашли место заколоть, под самым подбородком>> (Дьячков 1893: 39). Г. Майдель (1925: 24) приводит еще некоторые подробности, которые также рассказали чукчи чуванцам, а те анадырцам. Майор трижды нападал на врагов, однако чукчи не могли его ранить, поскольку он был в кольчуге и шлеме. Затем его свалили арканами и стали душить, «тут он сам открыл железный нагрудник и ударом копья кончилось дело». Об этом же рассказывает и предание колымчан, согласно которому, майор расстегнул ворот кольчуги (Олыксандрович 1884. № 11: 295). Согласно чукотским сказаниям, майор сначала был ранен стрелой в глаз, а затем добит (Богораз 1900. № 127: 332) или же, после данного ранения, его взяли в плен и замучили в отместку за страдания, причиненные чукчам (Богораз 1900. № 128: 333; № 129: 334; № 146: 390; pro: Тан-Богораз 1930: 64). В данном случае это просто фольклорный сюжет, основанный на обычае подобного бесчеловечного обращения с пленным военачальником. Существовало и предание о том, что чукчи, отрезав майору голову, берегли ее как реликвию (Сгибнев 1869: 34; 1869a. № 5: 59), а жители Нижнеколымска верили, что чукчи разрезали тело майора на куски, засушили их и хранили как память (Олыксандрович 1884. № 11: 295). Совершенно верно образное замечание И. Шкловского (1892: 99) о характере преданий о Д. И. Павлуцком: «Этот капитан — самый популярный герой на крайнем северо-востоке Сибири. Он местный Роланд».

Схема сражения на р. Орловой 14 марта 1747 г. между отрядом Д. И. Павлуцкого и чукчами.

Выполнена А. В. Сильновым

Когда авангард основного отряда русских, шедших к майору, встретил беглецов, они решили, что майор уже убит, поэтому не стали спешить [94] . На поле боя пришли на следующий день и обнаружили там тело майора без шлема и панциря. Последние были взяты чукчами в качестве трофеев. Всего чукчи захватили одного служилого, знамя, пушку, барабан, 40 ружей, 51 копье, множество оленей. В бою было убито 32 служилых, 11 коряков и 8 начальных людей, в том числе и сам майор (КПЦ. № 66: 173; Вдовин 1965: 123). В 1870 г. чукотский старшина подарил колымскому исправнику барону Г. Майделю (1894: 264) кольчугу Д. И. Павлуцкого, которая досталась ему от деда (Нейман 1871. Т. I: 18).

94

Согласно нижнеколымскому преданию, колымчане спешили на помощь майору, но встретившиеся им казаки, шедшие от Д. И. Павлуцкого (Березкин и Криговорницын), велели им не торопиться, посему и помошь запоздала (Олыксандрович 1884. № И: 295; Богораз 1902: 148; 1902а: 71). В чуванском предании вместо русских-колымчан на помощь не успели сами чуванцы (Дьячков 1893: 37-38).

Итак, майор допустил три тактические ошибки. Во-первых, он не подождал основной части своего отряда и вступил в бой лишь с авангардом; во-вторых, для боя была избрана неблагоприятная позиция: враг находился наверху, а он — внизу; в-третьих, отряд был оторван от «вагенбурга», который мог бы прикрыть его тыл. Возможно, все это объяснялось самоуверенностью и излишней поспешностью.

Оставив позади себя в тылу «вагенбург» из корякских нарт, майор двинулся вперед на сближение с неприятелем. Какова была диспозиция, неясно. Вероятно, русские успели развернуться в линию. Казаки были вооружены ружьями и копьями, причем, судя по сообщению А. Котковского, некоторые служилые имели еще и ножи. Коряки имели свое обычное оружие, в частности луки. Чукчи действовали весьма умело. Они воспользовались своим почти пятикратным численным превосходством и выгодным тактическим расположением на возвышенности. Дав возможность русским выстрелить только раз, чукчи кинулись с возвышенности врукопашную, увеличив силу своего натиска быстрым спуском с холма. В ближнем бою они могли эффективно воспользоваться как своим численным превосходством, так и своим фехтовальным мастерством. Так, К. Мерк (1978: 141) замечает о поведении чукчей: «Эти мужчины храбры, когда им противостоит масса, меньше боятся смерти, чем трусости». Бой стал представлять собой фехтование на копьях. Вероятно, русские казаки также умели достаточно искусно сражаться именно копьями. Ведь предметы чукотского искусства представляют нам, как чукчи сражаются с русскими на копьях. Копье держали двумя руками: правая рука, сжимавшая древко у заднего конца, была поднята и согнута в локте, она направляла удар, левая рука держала древко у середины, корректируя удар. Стойка бойца при этом была левосторонней (Иванов 1954: Рис. 28, фиг. 29; Широков 1968: Рис. 7; 9). В бою старались вырвать, выбить или сломать противнику копье, чтобы оставить его без оружия. Причем умели фехтовать на копьях как сами казаки, так и солдаты, ведь, по сообщению В. Шатилова (1751), россияне не использовали шпаги и штыки при штурмах, оставляя это оружие в лагере (КПЦ. № 42: 117-118). Вероятно, и в полевом бое ситуация была схожей.

Дальнейший ход боя можно восстановить следующим образом. Русские, теснимые неприятелем, стали, отбиваясь, отступать к «вагенбургу» из саней коряков. Вероятно, строй был потерян, возникла сумятица, а затем и бегство, и именно в это время служилые понесли наибольшие потери. Причем, судя по потерям, отбивались особенно яростно казаки, тогда как коряки сражались менее доблестно. Впрочем, часть россиян, имея под рукой упряжки, просто бежала на них с поля боя. Отступающих спасло от уничтожения то, что они успели подойти к полевому укреплению, и то, что чукчи, испугавшись нового подкрепления, отступили. Местоположение «нартебурга» и расстояние от него до строя отряда майора неясно. Вряд ли коряки спешились для боя за несколько километров до встречи с противником: обычно с саней сходили непосредственно перед боем. Хотя, с другой стороны, речь могла идти о нартах с обозом («возовые сани»), которые могли быть оставлены в тылу на более дальнем расстоянии. П. А. Словцов (1886. Кн. 1: 254), базируясь на архивных данных, сообщает, что казаки отступали вместе с майором пять миль (около 7,5 км), но все во время этого отхода были убиты. Данное свидетельство выпадает из общей канвы происходящего: майор с арьергардом отбивался, а основная масса его войск бежала к острожку или вообще прочь. Возможно, имеются в виду убегавшие, которые, проследовав данное расстояние, встретили основные силы, коим и поведали о гибели майора. Вряд ли это была часть отряда, которая сражалась вместе с майором в арьергарде отступающих и не смогла войти в укрепление из саней коряков. Майор был фактически брошен на поле боя остальными силами, часть которых убежала, а часть скрылась в острожке из нарт.

  • Читать дальше
  • 1
  • ...
  • 50
  • 51
  • 52
  • 53
  • 54
  • 55
  • 56
  • 57
  • 58
  • 59
  • 60
  • ...

Ебукер (ebooker) – онлайн-библиотека на русском языке. Книги доступны онлайн, без утомительной регистрации. Огромный выбор и удобный дизайн, позволяющий читать без проблем. Добавляйте сайт в закладки! Все произведения загружаются пользователями: если считаете, что ваши авторские права нарушены – используйте форму обратной связи.

Полезные ссылки

  • Моя полка

Контакты

  • chitat.ebooker@gmail.com

Подпишитесь на рассылку: