Вход/Регистрация
Вегетососудистая дистония. Самые эффективные методы лечения
вернуться

Васильева Александра Владимировна

Шрифт:
Функциональные боли в области сердца

Для устранения этих болей делайте массаж рефлекторных зон стопы. Его можно проводить с помощью бусины или шарика. С помощью этих предметов проведите массаж средней трети стопы в течение 2 минут для каждой ступни. Боль, если она не была вызвана серьезным сердечным заболеванием, должна пройти через 3–4 минуты.

Корейская школа массажа, в отличие от китайской, практикует массаж не всего тела, а только кистей и стоп, которые (как и ушная раковина) считаются проекцией всего человеческого организма. Ведущими массажными школами мира признано, что раздражение рефлекторных зон стопы является отличным профилактическим средством. Это подтверждено многовековой практикой. Не случайно врачи говорят, что полезно ходить босиком (особенно по росе), мыть ноги холодной водой. Существует также масса приспособлений, воздействующих на рефлекторные зоны, — это магнитные и массажные стельки, резиновые массажеры и тому подобное. Так, если вы возьмете за правило, придя домой, обмывать ноги прохладной водой, прежде чем надеть домашнюю обувь, то убережете себя от массы заболеваний.

Помните, что массаж поможет вам нормализовать сердцебиение или уменьшить одышку только в том случае, если они не вызваны серьезными заболеваниями сердечно-сосудистой системы.

Головная боль

Такой мучительный вид головной боли, как мигрень, вызывается резким сужением сосудов. Врачи считают, что причина этого заболевания кроется в наследственности. Часто мигрень наблюдается у густоволосых женщин, причем для того, чтобы избавиться от навязчивых головных болей, страдалице достаточно остричь длинные тяжелые волосы. Мигренями также страдают люди с повышенной мнительностью, которые перенесли какое-либо эмоциональное потрясение. Мигрень также может быть вызвана переохлаждением или, наоборот, возникнуть в результате перегрева. Все это следствия нарушения регуляции сосудов. Попытайтесь улучшить свое самочувствие с помощью массажа нескольких точек, расположенных на руках.

• В течение 3 минут энергично подвигайте большими пальцами рук, а затем тщательно помассируйте точки, расположенные на ладонной стороне кисти на сгибах обоих суставов большого пальца. Общий тщательный массаж больших пальцев рук хорошо помогает при головной боли.

• Согните руки в локтях. На внешней стороне предплечья, в конце локтевой складки находится точка, которую можно массировать указательными, средними и безымянными пальцами руки. Эти же точки следует массировать при появлении шума в ушах.

• Также может помочь массаж рефлекторных зон, которые расположены в средней трети стопы. Массируйте эту область с помощью шарика в течение 2 минут.

Головокружение

Для того чтобы предотвратить приступы головокружения, массируйте ту же точку на ладони, которую нужно массировать при учащенном сердцебиении и отдышке (рис. 1). Массаж производите подушечкой большого пальца другой руки; он должен длиться не менее 1 минуты. Проводите его каждый день утром и вечером.

Ухудшение умственной деятельности

ВСД может стать причиной рассеянности, невнимательности, невозможности сосредоточиться, и это мешает человеку доводить до конца начатые дела. Эти неприятные явления вызываются нарушениями кровообращения. Те, у кого диагностирована ВСД, обычно жалуются на то, что у них «ватная голова», а мозг «совершенно отказывается думать». Предлагаем вам для улучшения памяти активизировать точки, связанные с разными зонами мозга.

• Сложите вместе кончики большого и указательного пальцев и прижмите их друг к другу. Выполните то же большим и средним пальцами, большим и безымянным, большим и мизинцем, для каждой руки по 20 раз. Затем кончиком большого пальца по 20 раз надавите на основание каждого пальца каждой руки с наружной стороны, где находятся активные точки, связанные с мозгом.

Скачки артериального давления

Одно из проявлений ВСД — скачки давления, которое то снижается, то повышается в зависимости от погоды, настроения и других факторов. Внезапные приступы слабости, головокружения, потемнения в глазах и даже потеря сознания, к сожалению, явления для ВСД обычные. Бороться с ними не так-то просто.

Если вам трудно проснуться утром, у вас часто возникают головокружения, вы очень быстро утомляетесь, у вас плохой аппетит, ощущение тяжести в голове, холодные руки и ноги, вы можете поднять низкий тонус своих сосудов и повысить артериальное давление с помощью массажа нескольких активных точек (их называют также точками «скорой помощи»). Проводите массаж этих точек, если вам станет плохо. На точку нажимайте сильно (чтобы было больно) в течение 10–15 секунд (не дольше). Запомните, что точки «скорой помощи» нельзя использовать повторно во время одного и того же приступа.

• У основания ногтя второго пальца ноги (сразу же за околоногтевым валиком у корня ногтя 2-го пальца со стороны 3-го пальца) находится одна из активных точек, использующихся при самомассаже (рис. 2). Раздражение ее до боли повышает давление и предупреждает головокружение.

Рис. 2

• Нормализации давления способствует раздражение точки в подошвенной впадине недалеко от большого пальца ноги.

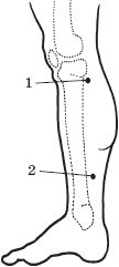
• На внутренней стороне ноги между коленом и подколенной ямкой расположена активная точка (рис. 3, точка 1), раздражение которой (утром и вечером по 20 раз для каждой ноги) благотворно воздействует на организм при пониженном давлении.

• Подушечкой большого пальца не менее 3 минут массируйте активную точку, расположенную на внутренней поверхности голени, в месте перехода ахиллова сухожилия в икроножную мышцу, выше верхнего края лодыжки на 7 см (рис. 3, точка 2).

Рис. 3

Упадок сил

Для каждого человека очень важно уметь расслабиться, чтобы дать своему телу полноценный отдых. Однако не менее важно сохранить выносливость, которая помогает сохранить нормальную работоспособность организма в любой ситуации. Повысить свои физическую силу и эмоциональный тонус вы можете при помощи массажа активных точек.

  • Читать дальше
  • 1
  • ...
  • 19
  • 20
  • 21
  • 22
  • 23
  • 24
  • 25
  • 26
  • 27
  • 28
  • 29
  • ...

Ебукер (ebooker) – онлайн-библиотека на русском языке. Книги доступны онлайн, без утомительной регистрации. Огромный выбор и удобный дизайн, позволяющий читать без проблем. Добавляйте сайт в закладки! Все произведения загружаются пользователями: если считаете, что ваши авторские права нарушены – используйте форму обратной связи.

Полезные ссылки

  • Моя полка

Контакты

  • chitat.ebooker@gmail.com

Подпишитесь на рассылку: