Вход/Регистрация
Водоснабжение, канализация и отопление загородного дома
вернуться

Никитко Иван

Шрифт:

Рис. 1.6.Расположение колодца: 1 – колодец; 2 – выгребная яма; 3 – поверхностный водоносный горизонт («верховодка»); 4 – водоупорный слой глины; 5 – защищенный водоносный горизонт

Площадка поблизости от шахты (2–3 м от устья) должна быть очищена и освобождена от различных тяжелых предметов, которые могут упасть в шахту.

Не используйте в качестве каната для бадьи с грунтом старые веревки: они порваться в самый ответственный момент. Канат должен быть максимально прочным, и его прочность следует проверять ежедневно перед началом работ (подобную проверку нужно производить не только утром, с началом работ, но и после обеденного перерыва) и после их окончания. Если глубина шахты составляет более 6 м, то необходимо использовать два каната – предохранительный канат является дополнительным гарантом безопасности работ.

Если при рытье шахты используется ворот, то он должен иметь вертикальный вал. Вороты с горизонтальным валом могут быть использованы только при рытье неглубоких (до 6 м) шахт. Ворот должен быть снабжен канатным тормозом и зубчатым остановом.

Если при рытье шахты используется механический подъемник, то в приводе допустимо применение только червячных редукторов с эффектом самоторможения. При этом на первичный вал редуктора требуется установить тормоз, чтобы уменьшить инерционный выбег механизма – в качестве еще одной меры предосторожности в дополнение к эффекту самоторможения червячного редуктора. Помните, что предосторожность никогда не бывает лишней!

Если в колодезной шахте работают люди, то их необходимо предупреждать каждый раз, когда в шахту что-либо опускается (не стоит без предупреждения бросать в шахту даже мелкие предметы – маленький камушек или карандаш точно так же могут повредить, например, глаз, как и большой булыжник).

В шахте можно работать только в касках – чтобы исключить травматизм при случайном падении в шахту каких-либо предметов.

Деревянный колодец

Деревянные колодцы сейчас строятся довольно редко: все дело в высокой цене на качественную древесину, которая требуется для их сооружения. К тому же далеко не каждая порода дерева подходит для использования: большая часть не выдерживает длительного контакта с водой, быстро гниет или придает воде неприятный привкус. Следует учитывать, что вкус колодезной воды во многом определяется древесиной, из которой изготовлен сруб колодца. Поэтому к выбору древесины – не только по качественным показателям, но и породы – следует подходить очень внимательно и не пытаться сэкономить, приобретая древесину «второй свежести».

Лучшим материалом для изготовления срубов деревянных колодцев считается дуб – его минимальный срок службы как в надводной, так и в подводной части составляет 25 лет, а в подводной части он может прослужить и больше столетия. Для увеличения срока службы колодца используют мореный дуб – для этого древесину сушат (естественная сушка не менее полугода), затем изготавливается и собирается колодезный сруб, все детали сруба маркируются, сруб разбирается, и его части укладываются в проточную воду на два года. Прошедший подобную обработку дубовый сруб – самый надежный и долговечный.

Наравне с дубом для изготовления колодезных срубов используется граб. Еще допустимо использовать для подводной и надводной части колодца вяз, ольху, лиственницу, березу, вербу, но срок службы этой древесины существенно ниже (10–20 лет в подводной части, а березы и вербы и вообще 5–10 лет).

Сосна пользуется популярностью из-за дешевизны и легкости обработки, но подходит только для сооружения надводной части колодца, постоянного контакта с водой эта древесина не выдерживает.

Древесину других пород применять не рекомендуется, особенно для изготовления подводной части колодца: несмотря на то что существуют древесные породы, которые могут так же, как и дуб, долговременно выдерживать без гниения и разрушения контакт с водой, они придают воде неприятный вкус и запах (например, есть удивительно водостойкие и долговечные тропические породы древесины, которые выделяют эфирные масла, и вода приобретает соответствующий аромат, вкус и не слишком полезные свойства, а отечественные осина и пихта придают воде горьковатый привкус). Оптимальный выбор: дуб для подводной части и сосна для надводной – лучшее соотношение «цена/качество».

Не допускается применять для строительства колодцев древесину, имеющую какие-либо пороки. Требования к лесу строги: не сухостойный, здоровый, прямой, отсутствие трухлявости, грибка, червоточин, плесени и других пороков. Применение не слишком качественной древесины для строительства колодцев – это не только сокращение срока их службы, но и отрицательное воздействие на здоровье (не всякую воду можно не только пить, но даже использовать для полива растений, особенно тех, которые употребляются в пищу).

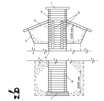
Традиционные деревянные колодцы строятся из целых бревен (диаметром 150–200 мм), но теперь для строительства начали использовать и брус (150 x 150 мм), и пластины (распущенные вдоль бревна диаметром 200–220 мм) (Рис. 1.7). При сооружении сруба колодца из пластин плоская сторона обращается внутрь колодца (Рис. 1.8).

Рис. 1.7.Деревянный колодец с зумпфом: 1 – колодезная крышка; 2 – оголовок; 3 – насыпь под отмостку; 4 – венцы; 5 – отмостка; 6 – водоприемная часть; 7 – зумпф; 8 – вертикальные доски для фиксации венцов

Дерево должно быть тщательно просушено. Когда древесина намокает (что, естественно, и происходит в колодезной шахте), она разбухает и, таким образом, уплотняются пазы и угловые соединения. Если же использовать не абсолютно сухую древесину, а влажную, то нужная степень разбухания не будет достигнута и пазы и угловые соединения останутся неуплотненными. Данное требование очень важно, ведь использовать при сооружении колодезного сруба какие-либо уплотняющие и изоляционные материалы (например, пеньку, которой конопатят пазы при строительстве бревенчатых домов) категорически запрещается – подобные материалы не выдерживают повышенной влажности, в них быстро развивается гниль, а это делает воду в колодце непригодной для использования.

  • Читать дальше
  • 1
  • ...
  • 5
  • 6
  • 7
  • 8
  • 9
  • 10
  • 11
  • 12
  • 13
  • 14
  • 15
  • ...

Ебукер (ebooker) – онлайн-библиотека на русском языке. Книги доступны онлайн, без утомительной регистрации. Огромный выбор и удобный дизайн, позволяющий читать без проблем. Добавляйте сайт в закладки! Все произведения загружаются пользователями: если считаете, что ваши авторские права нарушены – используйте форму обратной связи.

Полезные ссылки

  • Моя полка

Контакты

  • chitat.ebooker@gmail.com

Подпишитесь на рассылку: