Вход/Регистрация
Водоснабжение, канализация и отопление загородного дома
вернуться

Никитко Иван

Шрифт:

Рис. 1.12.Башмак в нижней части сруба: 1 – клин; 2 – башмак

Чтобы гарантировать строго вертикальный ход сруба в колодезной шахте, можно применять специальные направляющие (Рис. 1.13). Угловые направляющие изготавливаются из толстых досок и крепятся гвоздями к каждому венцу сруба. Посередине каждой стороны сруба устанавливаются дополнительные средние направляющие, также изготовленные из толстых досок и прикрепленные гвоздями к каждому венцу сруба. Средние направляющие придают всей конструкции дополнительную жесткость, что позволяет сохранять строгую вертикальность при опускании сруба. После того как все направляющие установлены, к ним вплотную укладываются толстые бревна, а в углы вбиваются длинные колья. Подобная конструкция гарантирует, что сруб будет идти в шахту без перекосов.

Рис. 1.13.Направляющие для гарантии вертикального осаживания сруба в колодезной шахте: 1 – угловые направляющие; 2 – дополнительная средняя направляющая; 3 – бревна; 4 – колья

Примечание

Конструкция направляющих после завершения работ из шахты не извлекается, а остается в грунте.

При рыхлом и сыпучем грунте могут возникать проблемы при осаживании сруба колодца в шахту – он застревает. В этом случае приходится ударять по верхнему венцу, чтобы миновать проблемное место. Это не всегда помогает, и, чтобы продолжить осаживание сруба, приходится сооружать на верхнем венце платформу для груза. Масса груза может составлять несколько тонн, и под таким весом сруб оседает. Но бывает, что и такое давление не дает результата, и тогда сооружение колодца выполняется самым сложным и непроизводительным способом – наращиванием сруба снизу. При этом в стенках шахты необходимо устраивать углубления для закладывания концов бревен (эти углубления называются «закладами» или «печурами»), выступающих за габариты сруба на 50–70 мм, – для наращивания сруба снизу через каждые 4–5 венцов делается венец, имеющий такие выступающие бревна («пальцы»). «Пальцы» поджимаются в углублениях домкратами и подклиниваются. Подобный способ применим только в том случае, если грунт достаточно плотный. В рыхлых грунтах и плывунах наращивание сруба снизу невозможно, так как нельзя надежно закрепить «пальцы» в грунте. Поэтому прежде чем браться за строительство деревянного колодца, необходимо определить, с каким грунтом придется иметь дело, и, исходя из этого, выбирать способ монтажа сруба в шахте колодца.

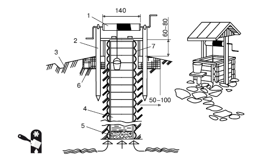
После того как закончены работы в шахте, сруб наращивается над поверхностью земли на 0,6–0,8 м. Эта надземная конструкция называется оголовком колодца (Рис. 1.14). Оптимально, если он снабжен крышкой или навесом, чтобы исключить попадание в колодец мусора.

Рис. 1.14.Оголовок колодца и способы подъема воды

Внимание

Если вода в колодце предназначена для питья, то крышка обязательна!

Вокруг оголовка сооружается отмостка. Ее строительство рекомендуется начинать не ранее чем через два года после завершения строительства колодца – из-за возможной усадки грунта. После того как грунт осядет, по периметру оголовка устраивается глиняный замок глубиной 1–1,5 м и шириной около 0,5 м, а поверх замка строится отмостка. Проще всего и надежнее соорудить отмостку из железобетона.

Готовый шахтный колодец из дерева выглядит таким образом (Рис. 1.15).

Рис. 1.15.Деревянный шахтный колодец: 1 – ворот; 2 – спайка; 3 – водоотводная труба; 4 – сруб; 5 – гравийная подушка; 6 – глиняный замок; 7 – обшивка оголовка колодца (выполняется из досок)

Бетонный колодец

Основной недостаток деревянных колодцев – сложность их строительства. Поэтому теперь их строят редко. Гораздо чаще сооружаются бетонные колодцы. Срок их службы – около 25 лет, а стоимость существенно ниже стоимости деревянных. К тому же бетонные колодцы гораздо проще строить. Бетонный колодец может быть выполнен из железобетонных колец, построен с помощью монолитного литья или сооружен из бетонных пластин.

Наиболее распространенный вариант – колодцы из железобетонных колец. Такие колодцы очень просто монтируются (особенно по сравнению с деревянными), и даже над материалом не нужно особенно задумываться: бетонные кольца приобретаются готовыми. Колодец из железобетонных колец можно построить буквально за несколько дней, а при легком грунте и наличии опыта в строительстве колодцев – даже за один день.

Чаще всего для железобетонных колодцев используются кольца типа КС 10-9 (высота – 900 мм, внутренний диаметр – 1000 мм, внешний диаметр – 1160 мм, вес – 700–750 кг). Возможно использование колец и других размеров: с высотой 400–900 мм (легче устанавливать кольца с меньшей высотой), внутренним диаметром 1000–1200 мм аналогичного типа. Кольца выбираются в зависимости от запланированного размера колодца и личных предпочтений (кто-то предпочитает железобетонные кольца, а кто-то просто бетонные – у этих колец разная толщина (50–90 мм и 80–120 мм соответственно) (Рис. 1.16).

Рис. 1.16.Стандартное железобетонное кольцо типа КС 10-9 ГОСТ 8020-90

Бетонные и железобетонные кольца изготавливаются в двух вариантах: с замками (такие кольца парные: на одном выемка, а на втором бортик, соответствующий по размерам выемке первого кольца) и без них, с гладкими плоскими торцами. Рекомендуется для сооружения колодцев использовать кольца с замками – таким образом минимизируются подвижки колец относительно друг друга в водонасыщенных «плавающих» грунтах, в то время как обычные гладкие кольца могут быть просто выломаны из конструкции. Для фиксации плоских колец в конструкции колодезной шахты необходимо использовать стальные скобы. Толщина скоб – около 5 мм, ширина – от 50 до 80 мм. Форма скоб может быть различной (Рис. 1.17).

Рис. 1.17.Стальные скобы для фиксации плоских колец

Укладка бетонных колец в шахту напоминает сооружение деревянного колодца – применяется аналогичный опускной метод, то есть шахта постепенно углубляется, а на ее дно по мере ее углубления опускаются новые кольца. Такой метод сооружения колодца из бетонных колец называется закрытым. При этом сначала котлован роется на глубину около 2 м, затем в него опускаются два кольца (для установки колец в котловане используется лебедка или мощный ворот, с помощью которого можно манипулировать довольно солидной массой колец). При отсутствии подъемного механизма, с помощью которого можно опускать кольца в шахту, кольца просто сбрасываются в нее. При этом необходимо подкладывать на первое кольцо (на которое требуется установить следующее) доски (толщина 20–25 мм), которые служат амортизатором и не допускают появления трещин в бетоне. Сброшенное кольцо обычно не становится точно на место, и его нужно поправить ломиком. После установки второго кольца доски-амортизаторы удаляются. Остальные кольца накатываются на нужное место. Рекомендуется устанавливать последующее кольцо тогда, когда предыдущее немного выступает над уровнем земли (до 10 см) – так удобнее.

  • Читать дальше
  • 1
  • ...
  • 7
  • 8
  • 9
  • 10
  • 11
  • 12
  • 13
  • 14
  • 15
  • 16
  • 17
  • ...

Ебукер (ebooker) – онлайн-библиотека на русском языке. Книги доступны онлайн, без утомительной регистрации. Огромный выбор и удобный дизайн, позволяющий читать без проблем. Добавляйте сайт в закладки! Все произведения загружаются пользователями: если считаете, что ваши авторские права нарушены – используйте форму обратной связи.

Полезные ссылки

  • Моя полка

Контакты

  • chitat.ebooker@gmail.com

Подпишитесь на рассылку: