Вход/Регистрация
Практичные самоделки для дачи своими руками
вернуться

Коллектив авторов

Шрифт:

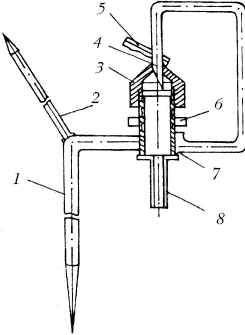
Разбрызгиватель направленного действия.1 – стойка, 2 – штырь, 3 – корпус, 4 – игла, 5 – козырек, 6 – контргайка, 7 – сгон, 8 – штуцер.

Приспособления для уборки урожая

В этом деле без помощников не обойтись, поскольку уборка урожая – важный период в жизни садовода, наглядно демонстрирующий, что его усилия не пропали даром. На приусадебном участке плоды, как правило, убирают вручную, а чтобы потери яблок, груш, слив, персиков и т.д. были минимальными, используют различные приспособления.

Съемник фруктов

Габариты приспособления 260x100x85 мм; вес – 0,26 кг; максимальный захват – 110 мм. В устройство входят алюминиевый стержень, стальные втулки, захваты, тяги и проводочная пружина. Чтобы не повредить плод, на захваты надевают резиновые трубки. Плодосъемник состоит из обруча и прикрепленного к нему мешка. К обручу приварены 2 ножа в форме буквы «V» (один из них представляет собой единое целое с втулкой для шеста). Сверху ножи соединены 2 дугами, позволяющими захватывать плод.

Плодосборная сумка

Модель с самораскрывающимся дном делают из картона. Оно представляет собой короткий рукав из мягкого и влагостойкого материала. Его верхнюю часть закрепляют на высоте 90 мм от нижней кромки корпуса. Жесткий каркас, охватывающий корпус стойки, образуют верхнее и нижнее кольца, соединенные 4 проволочными стойками. Их, для присоединения дужки с крючком, снабжают кольцами.

Шнуром с крючком стягивают дно. В этом положении крючок зацепляют за верхнее кольцо. Под весом плодов крючок и кольцо разъединяются, дно раскрывается, и они сыплются в тару.

Плодосборная сумка.1 – подвеска, 2 – дужка, 3 – стойка, 4 – крючок, 5 – крючок дужки, 6 – стойка с ушком, 7 и 11 – верхнее и нижнее кольца, 8 – конический корпус, 9 – стягивающий шнур, 10 – самораскрывающееся дно.

Плодосъемник с пружинящими пальцами

Рабочим органом в этом приспособлении являются пружинящие сдвоенные пальцы из проволоки толщиной 10 мм, прокаленной в местах сгиба.

Корпус плодосъемника делают из легкого материала. С помощью болтов крепят алюминиевый патрубок (для шеста). В корпусе делают отверстия. В нижней части пальцы фиксируют на наружной поверхности корпуса мягкими проволочными скобами в 3 точках. Продев скобы в отверстия, их концы загибают внутрь – с тем расчетом, чтобы они обхватывали проволочные кольца, вставленные в корпус. По окружности корпуса, с одинаковым интервалом (20 – 25 мм), размещают 8 пар пружинящих пальцев. Вверху пальцы сгибают в виде колец и продевают через них стягивающую леску.

Плодосборный мешок (диаметром 170 – 180 мм) шьют из мягкой ткани. Его длина от нижнего торца корпуса до стягивающей части составляет 200 мм. Мешок верхней частью вставляют в корпус и прикрепляют (за отверстия и пальцы).

Плод захватывают при помощи шнура, расположенного параллельно шесту, и лески, которую продевают через верхние концы пальцев. Один ее конец привязывают к кольцу пальца, у патрубка, а второй продевают через кольца пальцев (всех или части) и привязывают к ограничительному кольцу. К нему же прикрепляют необходимой длины шнур. Роль пальцев заключается еще и в том, что они не дают плоду выпасть из приспособления. Применяют плодосъемник следующим образом. Пружинистые пальцы подводят к плоду; для его захвата натягивают шнур. Затем шестом отрывают плод, и он попадает в мешок.

Плодосъемник с пружинящими пальцами.1 – короткая трубка, 2 – стягивающая леска, 3 – ограничительное кольцо, 4 – шнур, 5 – отверстия для крепления мешка, 6 – болты крепления патрубка, 7 – патрубок для шеста, 8 – шест, 9, 11 и 13 – малые и большие кольца, 10 – стягивающий шнур, 12 – зажим, 14 – быстродействующий узел, 15 – плодосборный мешок, 16 и 18 – нижнее и верхнее проволочные кольца, 17 – скобы, 19 – корпус, 20 – отверстия для крепления пальцев, 21 – сдвоенные пружинящие пальцы, 22 – удлиненная трубка.

Механический плодосъемник

Для сбора плодов с нежной кожицей (как, например, груши) удобнее именно это приспособление. Высота падения плода в нем сведена к минимуму, благодаря чему их целостность сохраняется. Изготавливают конструкцию по размерам, указанным на рисунке.

Механический плодосъемник.1 – планка с лезвием, 2 – нож-захват, 3 – мешочек, 4 – шест.

Оригинальный сниматель фруктов из консервной банки

Из консервной банки (емкостью 1 л) делают кольцо. А него вставляют (в виде клетки) шпильки П-образной формы. Их верхние концы загибают в кольца, а в них протягивают крепкий шнур (или толстую леску).

Оригинальный сниматель фруктов.1 – клетка с подвижными стенками, 2 – шнур, 3 – кольцо клетки, 4 – прутья, 5 – мешочек, 6 – шест, 7 – нож.

Фрукт заводят в клетку и тянут за шнур. После того как верхний край клетки сойдется, сниматель тянут вниз, и плод падает в мешочек. Приспособление можно сделать проще, прикрепив на конце шеста нож (вместо клетки).

  • Читать дальше
  • 1
  • ...
  • 11
  • 12
  • 13
  • 14
  • 15
  • 16
  • 17
  • 18
  • 19
  • 20
  • 21
  • ...

Ебукер (ebooker) – онлайн-библиотека на русском языке. Книги доступны онлайн, без утомительной регистрации. Огромный выбор и удобный дизайн, позволяющий читать без проблем. Добавляйте сайт в закладки! Все произведения загружаются пользователями: если считаете, что ваши авторские права нарушены – используйте форму обратной связи.

Полезные ссылки

  • Моя полка

Контакты

  • chitat.ebooker@gmail.com

Подпишитесь на рассылку: