Вход/Регистрация
Сварка
вернуться

Банников Евгений

Шрифт:

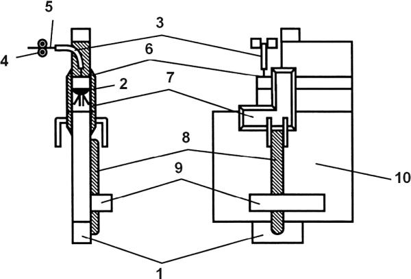
Рис. 91. Подача защитных газов в зону сварки:

а – центральная одним концентрическим потоком; б – центральная двумя концентрическими потоками; в – боковая; г – в подвижную камеру (насадку); 1 – электрод; 2 – защитный газ; 3, 4 – наружный и внутренний потоки защитных газов; 5 – насадка; 6 – распределительная сетка

Сварку в защитных газах можно осуществлять вручную, полуавтоматически и автоматически. Ручная сварка применяется при соединении кромок изделий толщиной до 25–30 мм при выполнении коротких и криволинейных швов. Полуавтоматическая и автоматическая сварки применяются при массовом и крупносерийном производствах. Сварка в защитных газах производится как неплавящимся, так и плавящимся электродом.

Неплавящиеся электроды служат только для возбуждения и поддержания горения дуги. Для заполнения разделки кромок в зону дуги вводят присадочный металл в виде прутков или проволоки. Применяются вольфрамовые, угольные и графитовые неплавящиеся электроды.

Вольфрамовые электроды изготовляют из проволоки марки ВТ–15 диаметром 0,8–6 мм, содержащей 1,5–2,0 % диоксида тория. Торий способствует более легкому возбуждению и устойчивому горению дуги. Однако торий является радиоактивным веществом и его применение сопряжено с соблюдением специальных санитарных правил. Для сварки алюминия и его сплавов успешно применяют электроды из проволоки марки ВЛ–10 (вольфрам с присадкой лантана). Лантан снижает расход вольфрама и повышает устойчивость горения дуги. Расход вольфрама при сварке незначителен и составляет при сварочном токе 300–400 А около 0,05–0,06 г на метр сварного шва.

Угольные и графитовые электроды применяют редко, так как они не обеспечивают достаточно устойчивого горения дуги и сварной шов получается пористым с темным налетом.

Плавящиеся электроды применяют в виде соответствующих сварочной или порошковой проволоки.

Защитные газы

Аргон – одноатомный инертный газ без цвета и запаха, тяжелее воздуха. Получают аргон из воздуха. Поставляется аргон двух сортов: высшего и первого. Высший сорт содержит 99,992 % аргона, не более 0,006 % азота и не более 0,0007 % кислорода. Первый сорт содержит аргона 99,987 %, азота до 0,01 % и кислорода не более 0,002 %.

Аргон поставляется в газообразном виде в баллонах типа А под давлением 15 МПа. Баллоны окрашены в серый цвет с зеленой полосой и зеленой надписью «Аргон чистый».

Аргон применяют при сварке ответственных сварных швов и при сварке высоколегированных сталей, титана, алюминия, магния и их сплавов.

Гелий – одноатомный инертный газ без цвета и запаха. Газообразный гелий также производится двух сортов: гелий высокой чистоты (99,985 % гелия) и гелий технический (99,8 %). Транспортируется и поставляется в баллонах типа А при максимальном давлении 15 МПа. Баллоны окрашены в коричневый цвет с белой надписью «Гелий». Гелий используют так же, как аргон, но значительно реже ввиду высокой стоимости.

Углекислый газ (CO2) не имеет цвета и запаха. Получают его из газообразных продуктов сгорания антрацита или кокса, при обжиге известняка и т. д. Поставляется в сжиженном состоянии в баллонах типа А вместимостью 40 л, в баллон при максимальном давлении 7,5 МПа вмещается 25 кг углекислоты (при испарении образуется около 12 750 л газа). Для сварки используют сварочную углекислоту. Чистота углекислоты первого сорта должна быть не менее 99,5 %, а высшего сорта – 99,8 %. Баллоны с углекислотой окрашивают в черный цвет с желтой надписью «СО2 сварочный». Применяется при сварке низкоуглеродистых и некоторых конструкционных и специальных сталей.

Для снижения влажности углекислого газа рекомендуется установить баллон вентилем вниз и после отстаивания в течение 15 мин. осторожно открыть вентиль и выпустить из баллона влагу. Перед сваркой необходимо из нормально установленного баллона выпустить небольшое количество газа, чтобы удалить попавший в баллон воздух.

Часть влаги задерживается в углекислоте в виде водяных паров, ухудшая при сварке качество шва. Кроме того, при выходе из баллона от резкого расширения происходит снижение температуры углекислоты и влага, конденсируясь в редукторе, забивает каналы и даже полностью закрывает выход газа.

Для предупреждения замерзания влаги между баллоном и редуктором устанавливают электрический подогреватель. Окончательное удаление влаги после редуктора производится специальным осушителем, наполненным прокаленным медным купоросом, хромистым кальцием или другим осушающим веществом.

Сварочные полуавтоматы и автоматы

Аргонодуговая сварка неплавящимся или плавящимся электродом производится на постоянном и переменном токе. Установка для ручной сварки постоянным током состоит из сварочного генератора постоянного тока или сварочного выпрямителя, балластного реостата, газоэлектрической горелки, баллона с газом, редуктора и контрольных приборов (амперметра, вольтметра и расходомера газа) (рис. 92).

Рис. 92. Электрическая и газовая схемы сварки в защитных газах:

а – неплавящимся электродом в инертных газах на постоянном токе прямой полярности; б – то же на переменном токе; в – плавящимся электродом на постоянном токе обратной полярности; 1 – сварочный преобразователь; 2 – амперметр; 3 – вольтметр; 4 – балластный реостат; 5 – горелка; 6 – вольфрамовый электрод; 7 – редуктор-расходомер для защитного газа; 8 – баллон с защитным газом; 9 – сварочный трансформатор; 10 – осциллятор; 11 – механизм подачи проволоки; 12 – плавящаяся сварочная проволока; 13 – контактор; 14 – катушка с проволокой; 15 – изделие

  • Читать дальше
  • 1
  • ...
  • 75
  • 76
  • 77
  • 78
  • 79
  • 80
  • 81
  • 82
  • 83
  • 84
  • 85
  • ...

Ебукер (ebooker) – онлайн-библиотека на русском языке. Книги доступны онлайн, без утомительной регистрации. Огромный выбор и удобный дизайн, позволяющий читать без проблем. Добавляйте сайт в закладки! Все произведения загружаются пользователями: если считаете, что ваши авторские права нарушены – используйте форму обратной связи.

Полезные ссылки

  • Моя полка

Контакты

  • chitat.ebooker@gmail.com

Подпишитесь на рассылку: