Вход/Регистрация
Печи для бань и саун своими руками
вернуться

Калюжный С. И.

Шрифт:

Для приготовления известкового раствора известковое тесто необходимо процедить через сито, смешать с заранее просеянным через мелкую сетку песком, затем добавить немного воды, не переставая перемешивать смесь. Таким образом раствор следует довести до необходимой густоты.

Для 1 части известкового теста понадобятся 2–3 части песка. Свежеприготовленные известковые растворы, в отличие от цементных растворов, сохраняют свои свойства в течение нескольких суток. Для большей прочности в раствор рекомендуется добавлять цемент, а для уменьшения времени застывания (например, при оштукатуривании) лучше всего добавить гипс.

Известковый раствор различают и по степени жирности. Чтобы правильно ее определить, уже готовый раствор необходимо перемешивать деревянной лопаткой в течение нескольких минут, затем посмотреть на степень его прилипания. Тощий раствор не прилипает к лопатке, жирный раствор покрывает ее поверхность толстым слоем, а нормальный ложится тонким слоем или останется на ней местами.

Известковый раствор нормальной жирности является идеальным вариантом для кладки. Для того чтобы изменить степень жирности раствора, рекомендуется добавить в него недостающие компоненты. Так, например, для увеличения жирности тощего раствора необходимо добавить известковое тесто, а для снижения жирности в качестве добавки используется песок.

Печи для бани

Основные конструкции печей-каменок

Конструкция печи-каменки (рис. 10, 11) зависит от многих факторов. Рассмотрим основные из них.

В зависимости от вида используемого топлива различают:

— твердотопливные печи, в которых в качестве топлива используются дрова, каменный или бурый уголь, сланец, торф и другие твердые органические материалы;

— жидкотопливные печи, для топки которых используется керосин, дизельное топливо, мазут или печное дистиллированное топливо;

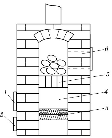
Рис. 10. Банная печь-каменка: 1 — топочная дверца; 2 — поддувальная дверца; 3 — решетка колосниковая; 4 — топливник; 5 — щелевая арка; 6 — огнеупорный кирпич

Рис. 11. Банная печь-каменка в разрезах: 1 — топливник; 2 — камера; 3 — задвижки; 4 — змеевик; 5 — дверка для чистки; 6 — дымовая труба; 7 — опускные каналы

— печи на газообразном топливе, где применяется сжиженный или природный газ;

— печи с электрическим типом нагрева.

По режиму работы печи бывают постоянного (длительного) и периодического действия.

В зависимости от материалов, использующихся для возведения печей, различают кирпичные и металлические конструкции без футеровки топливника или футеровка которых выполнена из огнеупорного кирпича.

Также печи различаются наличием или отсутствием водогрейного котла.

Банные печи-каменки возводятся в парильных отделениях бань с целью получения пара и отопления помещения парилки. С их помощью удается поддерживать необходимую температуру от 40 до 100 °C.

Печь-каменка состоит из топливника для дров и закрытой камеры. На своде топливника располагаются булыжник и чугунные чушки, толщина слоя которых составляет 20–22 см. Добавление чушек к булыжнику необходимо для ускорения разогрева печи-каменки, так как нагрев чугуна происходит быстрее, чем булыжника.

В своде находятся щели, через которые проходят дымовые газы. Затем они пронизывают толщу булыжника и чушек и проникают в два опускных канала, расположенных сбоку. Оттуда они выходят в дымовую трубу.

В верхней части топливника под аркой располагается «змеевик», в котором происходит нагрев воды для мытья. Для того чтобы корпус печи-каменки был более прочным, его заключают в металлический каркас.

Совет мастера

В больших парильных отделениях, где вода для банных процедур готовится в котельных централизованно, можно не производить монтаж змеевика.

Пар в таких банях можно получать, обливая раскаленный булыжник водой через специально устроенное окно.

Компактная печь-каменка

Компактная печь-каменка (рис. 12) непрерывного действия может быть устроена на основе так называемой печи-прачки. Для этого в бак вместо воды необходимо загрузить камни, а нагрев воды можно производить в ведре, установленном на камнях. Печь-каменка может быть соединена через дымовую трубу со стальной бочкой, заполненной камнями. Таким образом, получится печь, способная и производить запас тепла в камнях, и осуществлять нагрев воды.

  • Читать дальше
  • 1
  • ...
  • 12
  • 13
  • 14
  • 15
  • 16
  • 17
  • 18
  • 19
  • 20
  • 21
  • 22
  • ...

Ебукер (ebooker) – онлайн-библиотека на русском языке. Книги доступны онлайн, без утомительной регистрации. Огромный выбор и удобный дизайн, позволяющий читать без проблем. Добавляйте сайт в закладки! Все произведения загружаются пользователями: если считаете, что ваши авторские права нарушены – используйте форму обратной связи.

Полезные ссылки

  • Моя полка

Контакты

  • chitat.ebooker@gmail.com

Подпишитесь на рассылку: