Вход/Регистрация
Печи для бань и саун своими руками
вернуться

Калюжный С. И.

Шрифт:

Для движения горячих газов в печке существуют два направления: через каменку или напрямую в трубу. В обоих вариантах горячий газ проникает в канал, расположенный вблизи водогрейного бака. Одна его сторона выходит в раздевалку, позволяя осуществлять контроль нагрева. Холодная вода поступает в бак под давлением из верхней емкости. Так как печка топится со стороны раздевалки,

помещение моечной можно использовать в любое время. К тому же, если открыть топочную дверку, то печка будет выполнять роль небольшого камина.

Дополнительную подачу пара можно производить, не прекращая топки печи, которая в это время осуществляет нагрев бака. Кроме того, сухой горячий воздух можно получить, нагревая камни без полива.

Для наибольшего прогрева моечного помещения дополнительно рекомендуется использовать электронагреватель.

Совет мастера

Не следует допускать перегрева печи. Топить ее необходимо по 1,52 часа утром и вечером. Температура печных стенок не должна превышать 70–8 °C. Чем дольше происходит нагрев печи, тем больше тепла выйдет на улицу.

При оптимальном режиме горения цвет пламени становится светло-желтым, а дым из трубы — бесцветным. При этом печь может слегка гудеть.

Печь-каменка без водонагревателя

При устройстве печи-каменки без водонагревателя (рис. 21) в качестве непроницаемой перегородки можно использовать металлический ящик или чугунный котел.

Камни будут очень быстро нагреваться, так как его поверхность омывается горячими дымовыми газами. Благодаря обложенному огнеупорным кирпичом топливнику печь можно топить каменным углем.

Рис. 21. Печь-каменка без водонагревателя (а — с использованием металлического ящика; б — с использованием бывшего в употреблении котла): 1 — дверка поддувальная; 2 — колосниковая решетка;3 — дверка топливника; 4 — плита; 5 — задвижка;6 — металлический ящик; 7 — камни, 8 — дверка для пара; 9 — огнеупорные кирпичи; 10 — котел

Кирпичная печь-каменка периодического действия

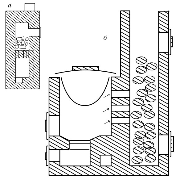
Рассмотрим подробнее технику возведения кирпичной печи-каменки периодического действия (рис. 22). Топливник такой печи выполняется из огнеупорного кирпича и имеет щелевой свод, предназначенный для каменной засыпки. Ширина щелей может варьироваться от 5 до 8 см.

Рис. 22. Кирпичная печь-каменка периодического действия: а — без водогрейной емкости; б — с водогрейным котлом

Печь должна быть оборудована дымоходами в виде опускных колодцев. Для придания большей прочности ее рекомендуется отделать стальными уголками. Камера для камней, как правило, снабжена двумя дверками.

Нередко устройство дымоходов происходит таким образом, что они пропускают дымовые газы из области вокруг канала в нижнюю часть камеры для камней.

Возведение массивной кирпичной печи-каменки должно начинаться с закладки ее фундамента. Для предотвращения оседания печи и ее наклонения из-за увлажнения или промерзания грунта фундамент необходимо заглублять не менее чем на 0,5 м. Его поперечные размеры должны быть больше печных на полкирпича в каждую сторону, т. е. в целом на кирпич. Расстояние от фундамента печи до фундамента стены должно составлять не менее 5 см, а зазор между ними необходимо заполнить песком. Дно котлована следует утрамбовать и выровнять, используя специальный уровень. Наиболее подходящим фундаментом считается бетонный или бутобетонный. В сухом грунте его можно приготовить из кирпичей с использованием известкового, цементного или известково-цементного раствора.

Совет мастера

Для приготовления известкового раствора используется гашеная известь и просеянный песок в соотношении от 1: 2 до 1: 3. Цементный раствор, в котором соотношение цемента и песка составляет 1: 3, рекомендуется готовить небольшими порциями, чтобы успеть применить его до схватывания.

Для замешивания известковоцементного раствора понадобится цемент, известь и песок в соотношении 1: 2: 10.

Поверхность фундамента следует залить цементным раствором, выровнять с помощью рейки и покрыть сверху гидроизоляционным толем или рубероидом в два слоя.

Главным материалом для кладки таких печей является обыкновенный полнотелый кирпич первого сорта. Категорически запрещено использовать дырчатые и силикатные кирпичи, так как они быстро разрушаются. Для кладки и футеровки топливника печи больше всего подходят тугоплавкие и огнеупорные кирпичи. Тугоплавкие кирпичи используются для сжигания дров, а огнеупорные (шамотные) кирпичи — для сжигания каменного угля, жидкого топлива, газа.

Основой качественной кладки является обеспечение плотности швов. Это необходимо для того, чтобы в помещение бани не проникали продукты сгорания, которые могут стать причиной отравления угарным газом. Швы кладки следует заполнять раствором на всю глубину. Их толщина должна быть минимальной. Если используется обычный кирпич, то толщина шва не должна превышать 5 мм, а для тугоплавкого и огнеупорного кирпича она должна составлять не более 3 мм на всю глубину. Раствор можно расстилать рукой, с мастерка его разрешено выкладывать лишь до пола топливника и дна дымовых каналов.

  • Читать дальше
  • 1
  • ...
  • 15
  • 16
  • 17
  • 18
  • 19
  • 20
  • 21
  • 22
  • 23
  • 24
  • 25
  • ...

Ебукер (ebooker) – онлайн-библиотека на русском языке. Книги доступны онлайн, без утомительной регистрации. Огромный выбор и удобный дизайн, позволяющий читать без проблем. Добавляйте сайт в закладки! Все произведения загружаются пользователями: если считаете, что ваши авторские права нарушены – используйте форму обратной связи.

Полезные ссылки

  • Моя полка

Контакты

  • chitat.ebooker@gmail.com

Подпишитесь на рассылку: