Вход/Регистрация
Печи для бань и саун своими руками
вернуться

Калюжный С. И.

Шрифт:

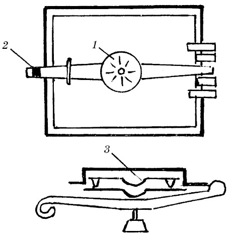
Рис. 28. Топочные герметические дверки: 1 — планка; 2 — прижимной винт; 3 — отражатель

Размеры топочной герметической круглой дверки составляют 285 х 285 мм, а у прямоугольной дверки они могут быть разными: 280 х 235, 220 х 225, 250 х 250, 270 х 225 мм.

Поддувальные дверки необходимы для регулирования силы тяги и подачи воздуха под колосниковую решетку.

Количество воздуха, проникающего через нее, во многом зависит от силы тяги дымовой трубы. Тягу можно регулировать путем изменения положения движка чугунной задвижки и полотна поддувальной дверки.

Через дымовую трубу производят удаление золы, которая образуется в зольнике печи. Поддувальные герметические дверки бывают овальными и прямоугольными. Размеры овальной дверки составляют 205 х 165 мм, а у прямоугольной дверки они могут различаться: 250 х 190, 240 х 160, 250 х 185 мм.

Колосниковые решетки

Колосниковые решетки и одинарные чугунные колосники (рис. 29) необходимы для обеспечения равномерного притока воздуха в топливник печи через нижние слои горящего топлива.

Благодаря этому в печах, работающих на твердом топливе, создаются благоприятные условия для поддержания процесса горения, который протекает во взаимодействии разогретых частей топлива с кислородом воздуха.

Колосниковые решетки могут быть уложены цельными или состоять из отдельных одинарных колосников. Для больших топок чаще всего применяют одинарные колосники, так как редко встречаются цельные конструкции подходящего размера.

В цельных конструкциях проделывают специальные прорези, через которые воздух будет подаваться в зону горения.

Колосниковые решетки или одинарные колосники должны быть уложены таким образом, чтобы их прорези были направлены вдоль топливника.

Рис. 29. Колосниковые решетки и колосники: а — обыкновенная колосниковая решетка; б — решетка для угля; в — одинарный колосник

Величина зазора между отдельными звеньями или одинарными колосниками зависит от типа применяемого топлива.

При использовании для топки каменного угля общая площадь зазоров, необходимых для прохода воздуха, должна быть больше, чем в печах, работающих на дровах.

Печи для сауны

Электропечи

При возможности проведения электрической сети с напряжением в 380 Вт рекомендуется использовать в сауне каменку, которая будет нагреваться с помощью электричества. Такая конструкция является наиболее удобной, так как нет необходимости в заготовке дров, чистке дымохода от сажи и выполнении других процедур. Электрическая печь для сауны удобна в использовании, она снабжена таймером, к тому же в большинстве моделей есть пульт управления. Нагрев камней происходит с помощью специальных приборов — ТЭНов.

Совет мастера

В использовании ТЭНов есть и свои недостатки, так как они имеют определенный ресурс использования. Обычно он составляет от 5 000 до 20 000 часов. Но не следует сразу отказываться от их установки, так как замену перегоревшего элемента можно произвести самостоятельно.

Существует еще один вариант нагревательного элемента — низкотемпературная лента-пластина. Температура нагрева ТЭНов составляет 600800 °C, а ленты — 200–400 °C. Такие ленты-пластины обладают более высоким рабочим ресурсом, к тому же они способны создать более комфортные с точки зрения состава воздуха условия в сауне. Еще одним преимуществом их использования является низкий расход электроэнергии.

Особое внимание следует обратить на технику безопасности при установке электрокаменок. Во-первых, в сауне обязательно должен быть собственный раздельный контур заземления, а не нулевой провод с подстанции. Если возможности его установки нет, то следует сделать зануление: нулевую клемму распределительного щита соединить с проводом заземления электропечи. Электрокаменки всегда должны быть оборудованы устройством аварийного отключения, которое срабатывает при коротких замыканиях или других проблемах. Такие печи должны иметь подсоединение с помощью влагостойкого и термостойкого кабеля, который способен выдерживать различные температурные режимы и их колебания. Расчет необходимых размеров электрокаменки производят исходя из площади помещения сауны. Так, на 1 м2 необходимо от 1,4 до 1,8 кВт мощности печи.

Дровяные печи

Классическая сауна отапливается дровами (рис. 30). При этом печь может быть как непрерывного горения, когда она постоянно топится в течение всего процесса, так и периодического, когда печь протапливается, а после этого держит тепло в течение длительного времени.

Рис. 30. Дровяная печь для сауны: 1 — дымоход;2 — водяной бак; 3 — газоходные каналы; 4 — зольник; 5 — колосниковая решетка; 6 — наружный кожух; 7 — топливный канал; 8 — дверца; 9 — выдвижной зольный ящик

  • Читать дальше
  • 1
  • ...
  • 20
  • 21
  • 22
  • 23
  • 24
  • 25
  • 26
  • 27
  • 28
  • 29
  • 30
  • ...

Ебукер (ebooker) – онлайн-библиотека на русском языке. Книги доступны онлайн, без утомительной регистрации. Огромный выбор и удобный дизайн, позволяющий читать без проблем. Добавляйте сайт в закладки! Все произведения загружаются пользователями: если считаете, что ваши авторские права нарушены – используйте форму обратной связи.

Полезные ссылки

  • Моя полка

Контакты

  • chitat.ebooker@gmail.com

Подпишитесь на рассылку: