Вход/Регистрация
Системы полива сада, огорода, теплиц, парников своими руками
вернуться

Drongelen Wim Van

Шрифт:

Место, где подземные воды залегают на небольшой глубине, можно определить и по внешним признакам. Например, над таким местом к вечеру может появиться плотный туман, среди растений преобладают влаголюбивые камыш и осока, в воздухе здесь роем вьются комары и мошки, на фоне увядшей травы под палящими лучами солнца долго сохраняется свежая зеленая растительность.

И все же необходимо проконсультироваться со специалистами, прежде чем начинать работы. Самым надежным (но и наиболее дорогостоящим) способом поиска подземных вод является разведочное бурение. Информацию о наличии и глубине расположения водоносного слоя можно получить из выкопировки геодезического плана участка, который имеется в отделе главного архитектора района. Если такого плана нет, чтобы определить возможную глубину будущего колодца, необходимо обследовать все действующие колодцы в округе, изучить окрестные овраги, балки, выяснить места выхода ключей и родников.

В соответствии с требованиями санитарных норм вода должна иметь прозрачность не менее 30 см; цветности – не более 30°; не обладать никакими запахами и привкусами, не содержать нитратов. Показатель присутствия кишечной палочки в 1 л не должен превышать 10. Но все это касается питьевой воды, а качество воды для полива никак не регламентируется, и для этой цели могут быть использованы воды верховодки, близлежащего пруда или озера.

Итак, атмосферная вода проникает в почву на разную глубину, достигая водонепроницаемого слоя грунта, состоящего из плотных глинистых отложений. Вода может накапливаться в больших и малых объемах, образуя водоносные горизонты с примесью земли, песка и глины. Водоносных горизонтов в одном месте может быть несколько, что зависит от строения почвенного грунта. Водоносные горизонты находятся на разной глубине залегания, и в зависимости от этого различают верховодку – на глубине до 4 м; почвенные воды – на глубине до 10 м; грунтовые – на глубине до 40 м; артезианские – более 40 м. Колодцы оборудуют как раз для того, чтобы добыть воду из водоносных горизонтов. Даже если на участке имеется водопровод с хорошей питьевой водой, колодец никогда не будет лишним.

Во все времена колодец являлся важным сооружением на дачном и приусадебном участке. Дворовый колодец всегда выручит в случае прекращения подачи воды или ее слабого напора в водопроводе, поможет обеспечить полив сада и огорода в самые засушливые летние дни. Да и по вкусу прохладная колодезная вода не идет ни в какое сравнение с водопроводной.

Колодцы могут быть шахтными или трубчатыми. При небольшой глубине залегания водоносного слоя (8–10 м) предпочтительнее сооружение шахтного колодца.

Устройство шахтного колодца

Преимущества шахтного колодца заключаются в том, что его можно строить из подручных материалов, используя обычные инструменты.

Кроме того, он обеспечивает гарантированный объем чистой воды, а извлекать ее можно с помощью различных насосов и механических подъемных устройств. Шахтный колодец более практичен, чем трубчатый, так как позволяет даже при отсутствии электричества обеспечивать хозяйство водой, поднимая ее бадьей или ведром.

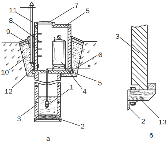
Оголовок колодца можно снабдить технической камерой для размещения в ней инженерного оборудования – насосной установки, гидропневматического бака или ручного насоса (рис. 10). Учитывая, что высота бытовых насосов некоторых типов не превышает 6 м, сооружение технической камеры позволяет обеспечить оптимальные условия их работы, кроме того, является утепленным помещением для использования колодца в зимних условиях.

Техническую камеру делают из тех же материалов, что и сам колодец. Диаметр колодца выбирают в зависимости от того оборудования, которое хотят установить для подъема воды, но не более 1,5 м. Чуть ниже уровня промерзания на оголовок колодца кладут бетонную плиту с отверстием для доступа к воде. На это перекрытие устанавливают расширенный оголовок с ходовыми ступенями. Сверху колодец закрывают откидывающимся люком или крышкой. Снаружи камеру покрывают гидроизоляционным слоем глины толщиной 30—50 см и оборудуют вентиляционный стояк диаметром 10 см. Вокруг оголовка устраивают отмостку или утепленный короб, если в этом есть необходимость.

Рис. 10. Шахтный колодец с технической камерой для гидропневматического бака: а – общий вид (в разрезе); б – устройство ножа (разрез); 1 – вибрационный насос; 2 – нож; 3 – бетонное кольцо; 4 – гидропневматический бак; 5 – плита перекрытия; 6 – подающий трубопровод; 7 – крышка; 8 – ходовые скобы; 9 – отмостка; 10 – глиняный замок; 11 – вентиляционный стояк; 12 – гидроизоляция; 13 – деревянная обойма.

Основная часть каптажа шахтного колодца – стенки шахты, укрепленные с помощью бетонных колец, природного камня, кирпичной кладки или деревянного сруба. Шахту для колодца заглубляют в водоносный горизонт на 1,5–2 м, чтобы обеспечить объем чистой, отстоявшейся воды на глубину не менее 1 м. Для нижней части сруба колодца, которая постоянно находится в воде, используют крепкую древесину, не влияющую на вкус воды (дуб, вяз, лиственница, ольха, береза). Часто весь сруб выполняют из сосновой древесины, которая сохраняется в течение 20 лет (рис. 11). Срок службы соснового сруба можно увеличить, пропитав предварительно древесину антисептиком, например крепким раствором марганца. Вяжущий привкус от дуба и смолистый от сосны постепенно исчезает.

Диаметр поперечного сечения сруба выбирают в зависимости от глубины колодца. Обычно это 1 х 1 м или 1,5 х 1, 5 м. Венцы рубят из бревен диаметром 12—18 см или деревянного бруса с сечением 10 х 13 см. При этом отдельные венцы сруба подгоняют заранее, обтесывая внутреннюю стенку колодца на плоскость. Венцы вбивают по горизонтали в пазы, по углам соединяют в «косую лапу», а по вертикали крепят дубовыми шпонками.

Строительство колодца начинают с того, что готовят сруб высотой 1,7–2 м. Затем размечают место для шахты и глиняного замка и начинают копать. Когда грунт будет вынут на глубину 1–1,5 м, в яму опускают собранный заранее деревянный сруб. Затем делают водоупорный замок со всех сторон из утрамбованной глины глубиной и шириной около 1 м.

  • Читать дальше
  • 1
  • ...
  • 5
  • 6
  • 7
  • 8
  • 9
  • 10
  • 11
  • 12
  • 13
  • 14

Ебукер (ebooker) – онлайн-библиотека на русском языке. Книги доступны онлайн, без утомительной регистрации. Огромный выбор и удобный дизайн, позволяющий читать без проблем. Добавляйте сайт в закладки! Все произведения загружаются пользователями: если считаете, что ваши авторские права нарушены – используйте форму обратной связи.

Полезные ссылки

  • Моя полка

Контакты

  • chitat.ebooker@gmail.com

Подпишитесь на рассылку: