Вход/Регистрация
Строим печи и камины
вернуться

Борисов Кирилл

Шрифт:

6-й ряд – установка духовки и колосниковой решетки (рис. 79, а).

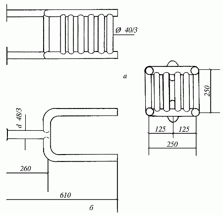
Рис. 79. Колосниковая решетка (а) и змеевик (б)

7-й ряд – установка змеевика (рис. 79, б), формирование топочной камеры и канала между духовкой и левой стенкой плиты.

8-й ряд – установка топочной дверки.

9–10-й ряды – завершение формирования топочной камеры и дымового канала между духовкой и левой стенкой плиты.

11–12-й ряды – кладка ведется в соответствии с порядовкой. Верхняя часть духовки промазывается глиняным раствором толщиной 15–20 мм.

13-й ряд – установка чугунной плиты и рамки, изготовленной из стального уголка.

Камины

«Камин» в переводе с латинского означает «очаг». Он представляет собой каменную нишу с выложенным в ней костром, дым от которого отводится через специально оборудованный для этой цели канал. По сравнению с отопительными печами коэффициент теплоотдачи каминов составляет всего лишь 15–20%, поэтому полностью заменить печь камины не могут.

В наши дни камины служат, как правило, не для отопления, а для украшения жилых помещений, создания комфорта и уюта. Они создают в жилище особую атмосферу спокойствия. Такое изменение функционального назначения каминов позволило строителям изобрести конструкции, которые не только прекрасно вписываются в интерьеры комнат, но и сравнительно просты в исполнении, так что их строительство стало под силу большинству мастеров-любителей.

Принцип работы камина основан на излучении теплоты от горящего топлива и разогретых стен топочного пространства, а также на быстрой отдаче лучистого тепла. В отличие от устройства печи конструкция камина не предусматривает наличия петлевых дымооборотов, поэтому горячие газы, не встречая на своем пути никакого препятствия, напрямую выходят в дымовую трубу.

Камин не аккумулирует теплоту, вследствие чего обладает малой теплоемкостью. Греет он в основном только во время горения топлива. При этом он начинает отдавать тепло сразу, поэтому обеспечивает быстрый обогрев холодного помещения. Кроме того, камин способствует перемещению воздуха, а следовательно, и вентиляции комнаты, в которой он установлен. Благодаря этому воздух не застаивается, что препятствует образованию сырости. Для того чтобы камин быстро прогревался и начинал излучать теплоту, его стены рекомендуется делать массивными.

Открытый камин должен располагаться в центре помещения, чаще всего гостиной, столовой, реже спальни. При выборе места для его установки следует учесть тот факт, что камин, хотя и создает сквозняки, сам их «не любит», поэтому размещать его необходимо в стороне от дверных и оконных проемов.

Перед камином следует оставить достаточно свободного пространства, где могли бы разместиться отдыхающие. Сам камин не должен загораживать проходы. С эстетической точки зрения не рекомендуется устанавливать непосредственно над камином ярко горящие светильники, потому что на их фоне горящий в камине огонь будет выглядеть не так эффектно, как хотелось бы. Низкий тепловой КПД камина объясняется тем, что при топке в его открытый проем попадает в 10–20 раз больше воздуха, чем это необходимо теоретически. Воздух уносит в атмосферу значительную часть теплоты. К сожалению, это явление сохраняется даже в модернизированных вариантах каминов.

Общая характеристика каминов

Исторически камины первыми пришли на смену открытому очагу и переняли от него некоторые достоинства и недостатки. К несомненным достоинствам камина относится, конечно же, доступный для наблюдения огонь, украшающий интерьер помещения, особенно в вечерние часы. Так как камин обладает малой теплоемкостью, растопить его можно довольно быстро, поэтому он обычно используется в качестве средства отопления в периодически посещаемых помещениях гостиниц, турбаз, комнатах отдыха в банях и саунах, а также в садовых домиках.

Среди недостатков камина необходимо назвать следующие: во-первых, он быстро остывает, как только в нем полностью сгорает топливо; во-вторых, в случае необходимости длительного обогрева камин приходится топить непрерывно, а это очень неудобно. К тому же даже во время топки он обогревает только видимую зону, поэтому у сидящего рядом человека обращенные к камину части тела подвергаются перегреву, а расположенные с теневой стороны не обогреваются совсем.

Попытки усовершенствования конструкции камина с целью повышения его теплоотдачи предпринимались еще в XVII веке, когда в России был создан камин со встроенным в топливник вентиляционным калорифером (рис. 80, в). Он представлял собой глухую коробку (1), снабженную патрубками для входа холодного (2) и выхода нагретого (3) воздуха. В результате нагрева приточного воздуха часть вырабатываемой таким камином теплоты утилизировалась, что способствовало некоторому повышению теплового КПД.

Рис. 80. Камины и каминопечи: а – камин: 1 – дымовая труба; 2 – под; б – камин с чугунной решеткой: 1 – дымовая труба; 2 – решетка; 3 – таган; 4 – под; в – камин с воздушным калорифером: 1 – коробка; 2, 3 – входной и выходной воздушные патрубки; г – камин с трубой: 1 – душник; 2 – дымовая труба; 3 – воздушный канал; д – печь-камин: 1 – подъемный газоход; 2 – топочная дверка; 3 – опускной газоход; 4 – душник

Позднее камины начали оснащать дымооборотами, превратив их тем самым в каминопечи (рис. 80, г), которые первоначально снабжали дымооборотами, изготовленными из металлических насадных труб. Насадная дымовая труба (2) проходила внутри воздушного канала (3). Циркулировавший наружный или комнатный воздух, поднимаясь вдоль раскаленной трубы, нагревался и через жаровой душник (1) попадал в помещение. Такая конструкция имела два недостатка: насадная труба обладала малой теплоемкостью, а в результате сильного ее разогрева при топке печи воздушная пыль пригорала на ее поверхности.

  • Читать дальше
  • 1
  • ...
  • 58
  • 59
  • 60
  • 61
  • 62
  • 63
  • 64
  • 65
  • 66
  • 67
  • 68
  • ...

Ебукер (ebooker) – онлайн-библиотека на русском языке. Книги доступны онлайн, без утомительной регистрации. Огромный выбор и удобный дизайн, позволяющий читать без проблем. Добавляйте сайт в закладки! Все произведения загружаются пользователями: если считаете, что ваши авторские права нарушены – используйте форму обратной связи.

Полезные ссылки

  • Моя полка

Контакты

  • chitat.ebooker@gmail.com

Подпишитесь на рассылку: