Вход/Регистрация
12,7-мм снайперская винтовка ОСВ-96. Руководство по эксплуатации
вернуться

Коллектив авторов

Шрифт:

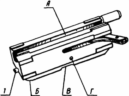
2.1.2. Коробка 14, в соответствии с рисунком 2.1, соединена с казенником ствола осью 12 и замком, состоящим из рукоятки 3, в соответствии с рисунком 2.2, и двух серег 4. Наличие замка позволяет складывать винтовку относительно оси.

Коробка имеет:

— сверху — планку 13, в соответствии с рисунком 2.1, для установки оптического прицела, на планке имеется штифт для ограничения перемещения оптического прицела вперед при его установке на винтовку;

— сзади — приклад 15 с резиновым затыльником 16, прикрепленным к торцевой стенке винтом. В стенке имеется паз для фиксации корпуса спускового механизма и конус для захода трубки возвратной пружины;

— снизу — окно А, в соответствии с рисунком 2.2, для установки магазина; окно В для установки спускового механизма; отражающий выступ Б;

— слева — зацеп 17, в соответствии с рисунком 2.1, для фиксации рукоятки в походном положении;

— справа — окно для выброса гильзы.

2.2. Рама затворная

2.2.1. Рама затворная 6, в соответствии с рисунком 1.3, предназначена для приведения в действие затвора и спускового механизма.

Рис. 2.3 — Рама затворная.

1 — затвор; 2 — поршень; 3 — рукоятка; 4 — фиксатор; 5 — штифт; 6 — остов; 7 — ось выбрасывателя; 8 — пружина выбрасывателя; 9 — выбрасыватель; 10 — боек; А — выборка; Б — выступы боевые; В —. выступ ведущий; Г — паз фигурный; Д — зацеп

Рама затворная, в соответствии с рисунком 2.3, состоит из затвора 1 и остова 6.

2.2.2. Затвор предназначен для запирания канала ствола, производства выстрела, извлечения стреляной гильзы, досылания очередного патрона в патронник.

Затвор состоит из собственно затвора 1, бойка 10, выбрасывателя 9, пружины выбрасывателя 8 и оси выбрасывателя 7.

Затвор имеет четыре боевых выступа Б, которые входят в зацепление с упорами казенника при запирании канала ствола и воспринимают силу давления пороховых газов на дно гильзы при выстреле.

Боек 10 размещается внутри затвора и предназначен для разбития капсюля-воспламенителя патрона.

Ведущий выступ В обеспечивает поворот затвора в остове. В выборке А размещается выбрасыватель 9, извлекающий своим зацепом Д стреляную гильзу из патронника. Выбрасыватель расположен на оси выбрасывателя 7 и подпружинен пружиной выбрасывателя 8.

2.2.3. Остов 6 является основным звеном автоматики и управляет работой затвора 1, размещенного в передней части остова. Остов имеет:

Рис. 2.4 — Остов (вид справа).

1 — толкатель; А — полость; Б — скос; В — лунка; Г — отверстие

— поршень 2, воспринимающий давление пороховых газов. Для обеспечения надежной работы поршень установлен в остове с люфтом;

— рукоятку 3, установленную на штифте 5, для взведения винтовки. Подпружиненный фиксатор 4 удерживает рукоятку от складывания;

— фигурный паз Г для принудительного поворота затвора при запирании или отпирании канала ствола;

— толкатель 1, в соответствии с рисунком 2.4, для передачи энергии удара от ударника к бойку. Толкатель удерживается в остове штифтом, расположенным в отверстии Г;

— скос Б, которым взводится ударник;

— полость А для размещения возвратной пружины.

— лунку В для удержания затворной рамы в промежуточном положении при складывании винтовки в походное положение и при разборке.

2.3. Пружина возвратная

2.3.1. Пружина возвратная 3, в соответствии с рисунком 1.3, служит для возвращения затворной рамы в переднее положение, сообщения затворной раме энергии, необходимой для досылания патрона и запирания канала ствола.

Рис 2.5 — Пружина возвратная.

1 — шайба; 2 — трубка; 3 — пружина

Возвратная пружина состоит из пружины 3, в соответствии с рисунком 2.5, трубки 2 и двух шайб 1.

2.4. Механизм спусковой

2.4.1. Механизм спусковой 4, в соответствии с рисунком 1.3, предназначен для управления стрельбой винтовки.

Спусковой механизм включает в себя корпус 9, в соответствии с рисунком 2.6, ударник 2, крючок спусковой 13, пружину боевую 7, трубку 8, предохранитель 3, рукоятку 11, защелку 16, флажок 10, скобу 14.

2.4.2. Корпус 9 служит для размещения в нем деталей спускового механизма, находящихся на осях, функции которых выполняют концы изогнутой скобы 14.

  • Читать дальше
  • 1
  • 2
  • 3
  • 4
  • 5
  • 6
  • 7
  • 8
  • ...

Ебукер (ebooker) – онлайн-библиотека на русском языке. Книги доступны онлайн, без утомительной регистрации. Огромный выбор и удобный дизайн, позволяющий читать без проблем. Добавляйте сайт в закладки! Все произведения загружаются пользователями: если считаете, что ваши авторские права нарушены – используйте форму обратной связи.

Полезные ссылки

  • Моя полка

Контакты

  • chitat.ebooker@gmail.com

Подпишитесь на рассылку: