Вход/Регистрация
Техника и вооружение 2007 05
вернуться

Коллектив авторов

Шрифт:

Рис. 4. Установка универсальной ДЗ «Контакт-5» на башне и ВЛД корпуса танков Т-72Б и Т-90.

Рис. 5. Установка универсальной ДЗ «Реликт» на башне и ВЛД корпуса танков Т-72Б «Рогатка».

Рис. 6. Установка универсальной ДЗ на крыше башни танка (варианты исполнения контейнера):

1 – металлический корпус; 2 – верхняя стенка; 3 – металлическая пластина; 4 – ЭДЗ; 5 – упругий элемент (например, полиуретан) прочностью не менее 900 кг/м^3 ; 6 – пластина из стали высокой твердости.

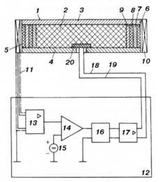
Рис. 7. Схема поражения БОПС с предконтактным подрывом перед броней, предложенная НИИ Стали:

1 – контейнер; 2 – взрывчатое вещество; 3,4 – защитные пластины; 5, 6, 7,8,9 – боковые стенки контейнера (материалы для изготовления слоев выбраны так, чтобы соотношение их акустических жесткостей для соседних слоев 6,7 \л 8,9 составляло не менее 2); 10 – катушка индуктивности; 11 – экранированная линия связи; 12 – формирователь; 13 – усилитель; 14 – устройство сравнения; 15 – стабилизированный источник порогового напряжения; 16 – формирователь прямоугольных импульсов; 17 – усилитель мощности; 18, 19 – двухпроводная линия связи; 20 – электродетонатор.

Нанесение специального предохранительного покрытия из неметаллических материалов на стенки корпуса, металлические пластины и на внутренние поверхности полости также позволяет увеличивать время функционирования броневой защиты и предотвращает волнообразование. Происходит «скольжение» пластин вдоль поверхности соударения, их отражение и, в конечном счете, повторное воздействие на ПТС.

Преимущества от применения неметаллических материалов в конструкции ЗУДТ позволяют увеличить время функционирования устройства за счет динамического обжатия его материала.

Последовательное действие стальных метаемых пластин и неметаллических элементов (керамика, стеклопластик, полиуретан и др.), размещенных между не связанными между собой зарядами ВВ, осуществляет дополнительное воздействие на ПТС и увеличивает время функционирования устройства за счет динамического обжатия его материала, а затем и воздействие второго заряда ВВ, что приводит к значительному снижению бронепробивания. Такие решения применены в серийных отечественных ЗУДТ (рис. 6) [6].

Одним из вариантов развития универсальных ЗУДТ можно назвать инициирование ВВ при помощи электрического импульса (рис. 7) [7]. Изменение магнитного поля, обусловленное движением средства поражения, преобразуется в электрический сигнал. Полученный сигнал сравнивают с пороговым уровнем, и в момент превышения электрическим сигналом порогового уровня формируется электрический импульс, который воздействует на электродетонатор взрывчатого вещества ЗУДТ.

В предложенном НИИ Стали способе пороговый уровень устанавливают в соответствии со скоростными и массогабаритными характеристиками средств поражения. Преобразование магнитного поля в электрический сигнал производят с помощью катушки индуктивности, которую размещают в зоне установки контейнера с защитной пластиной. Встреча защитной пластины с носовой частью подкалиберного снаряда происходит на расстоянии 200-250 мм от контейнера. Удар пластины по корпусу снаряда приводит к его частичному разрушению и дефрагментации на несколько частей, которые приобретают угловую скорость вращения, в результате чего снижается их бронепробивное действие.

Так как взаимодействие пластины с подкалиберным снарядом происходит на расстоянии 200-250 мм от контейнера, когда пластина уже имеет скорость движения, равную V, на снаряд воздействует кинетическая энергия движущейся пластины, которая составляет m-V2/2, где m – масса движущейся пластины.

Для кумулятивных боеприпасов применение такого способа защиты приводит к преждевременному срабатыванию взрывателя не на фокусном расстоянии, разрушению кумулятивной облицовки или заряда, что значительно ухудшит условия формирования кумулятивной струи.

При реализации предложенного способа защиты требуется меньшая (при адекватном защитном эффекте) масса ВВ, помещаемого в контейнер. Это, в свою очередь, обеспечивает снижение динамической ударной перегрузки, воздействующей на корпус защищаемого объекта при срабатывании устройства защиты, что существенно улучшает условия работы экипажа защищаемого объекта и позволяет эффективно защищать легкобронированные проекции. Подобный вариант ЗУДТ может применяться для защиты как тяжелой, так и легкобронированной военной техники.

Рис. 8. Краевые ослабленные участки ЗУДТ с плоским зарядом ВВ и метаемыми пластинами.

Изображение фактической зоны перекрытия (защиты) ЗУДТ типа «Контакт-1» и аналогичных ей типов.

Наибольший уровень защиты возможен только при встрече с заштрихованными участками: 1 – головная часть реактивной струи, оптимальная точка попадания; 2 – головная часть кумулятивной струи, нижняя точка попадания; 3 – защитный модуль; 4 – основная броня; 5 – верхняя отлетевшая пластина; 6 – слой ВВ.

  • Читать дальше
  • 1
  • ...
  • 7
  • 8
  • 9
  • 10
  • 11
  • 12
  • 13
  • 14
  • 15
  • 16
  • 17
  • ...

Ебукер (ebooker) – онлайн-библиотека на русском языке. Книги доступны онлайн, без утомительной регистрации. Огромный выбор и удобный дизайн, позволяющий читать без проблем. Добавляйте сайт в закладки! Все произведения загружаются пользователями: если считаете, что ваши авторские права нарушены – используйте форму обратной связи.

Полезные ссылки

  • Моя полка

Контакты

  • chitat.ebooker@gmail.com

Подпишитесь на рассылку: