Вход/Регистрация
Секреты домашнего копчения
вернуться

Бестужев Валерий

Шрифт:

Посол говядины является одним из самых простых, доступных и надежных способов сохранения мяса в домашних условиях в течение длительного времени. Кроме того, посол говядины необходим при изготовлении колбасных изделий и различных видов копченостей. От назначения говядины зависит и способ посола. Однако необходимо следить за тем, чтобы мясо равномерно просаливалось, поэтому большое значение имеет правильность надрубки костей, тщательная обработка надрезов в мышечной ткани мяса посолочной смесью и т. д.

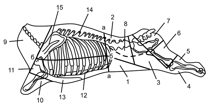
Схема разрубки говяжьей полутуши представлена на рис. 4. Вначале следует разрубить полутушу пополам (по линии «а – а») – получатся задняя и передняя части, то есть четвертины. Затем нужно разрубить каждую из них по очереди.

Рис. 4. Схема разрубки говяжьей полутуши: 1 – пашина; 2 – филейная часть; 3 – оковалок с щупом; 4 – голяшка; 5 – подбедерок; 6 – огузок; 7 – кострец; 8 – вырезка (обозначена пунктиром); 9 – шейная часть; 10 – рулька с голяшкой; 11 – лопатка; 12 – грудинка; 13 – челышко; 14 – толстый и тонкий край; 15 – подплечный край

Разрубка задней четвертины. От четвертины следует отделить пашину, филейную часть, оковалок с щупом; отрубить голяшку и разделить оставшийся отруб на подбедерок, огузок и кострец. Из филейной части с внутренней стороны нужно отделить вырезку, прилегающую к позвоночнику (на рисунке это показано пунктирной линией).

Разрубка передней четвертины. Отрубив шейную часть, рульку с голяшкой, нужно отделить ножом лопатку, оставшийся отруб разрубить поперек ребер (по линии «б – б»). Затем грудную часть следует разделить на два отруба: грудинку и челышко. Оставшуюся часть также надо разрубить на два отруба: толстый и тонкий края и подплечный край.

Для приготовления посолочной смеси на 1 кг мякоти говядины берут 75–85 г соли, 0,5–1 г аскорбиновой кислоты в порошке, измельченные пряности (18 горошин черного перца, 4–5 лавровых листа, 3 ягоды можжевельника).

Для просаливания крупных кусков на 10 кг мякоти говядины используют 1 кг соли, 3 г аскорбиновой кислоты в порошке и 15 г мелкокристаллического сахара.

Для посола лучше использовать свежую охлажденную мякоть говядины, зачищенную от сухожилий. Куски мяса как можно тщательнее натрите посолочной смесью. Обращайте внимание на зарезы и карманы – тщательно натирайте их посолочной смесью. Расход посолочной смеси должен составить 1/10 от массы мяса. Сначала небольшое количество посолочной смеси насыпьте на дно посуды для посола, плотно уложите на нее натертые смесью куски мяса и посыпьте их сверху посолочной смесью. Затем уложите следующий слой мяса, снова посыпьте его смесью и так далее. Посыпав посолочной смесью верхний слой мяса, положите на него хорошо промытый ошпаренный деревянный круг, сверху установите легкий гнет и поставьте в прохладное место (погреб, подвал) с температурой 4–6 °С. Через 2–3 суток залейте мясо рассолом. Крепость рассола зависит от того, насколько длительно предполагается хранить солонину. Если солонина предназначена для продолжительного хранения, приготовьте более крепкий рассол: на 10 л воды – 2 кг соли, 25 г селитры (или 15 г аскорбиновой кислоты) и 100 г сахара. Для слабого посола количество соли уменьшите до 1,5 кг. После растворения компонентов рассола процедите его через сложенную в четыре слоя марлю и охладите до температуры 2–4 °С. Охлажденным рассолом залейте мясо так, чтобы оно было полностью им покрыто. На мясо положите деревянный круг и тяжелый гнет и поставьте в помещение с температурой 0–3 °С. Процесс просаливания мяса длится 25–30 суток. За это время надо несколько раз переместить верхние куски мяса вниз, а нижние – наверх. Постоянно следите за уровнем рассола, контролируйте качество и степень просола мяса.

Этот вид солонины можно использовать для приготовления колбас, в качестве добавки к свежему мясу, а также для приготовления отдельных мясных блюд.

В посолочную смесь для говядины рекомендуется добавлять пряности еще и для того, чтобы солонина получилась более нежной.

Если солите мясо в бочке или бочонке, следите за тем, чтобы тара была целой: при вытекании рассола через щели засоленное мясо очень быстро портится.

Для получения деликатесной солонины используйте спинную часть туши (толстый и тонкий края) и грудинку. Сначала осторожно отделите мякоть от костей и охладите ее. Затем охлажденную мякоть натрите посолочной смесью из расчета 1 стакан смеси (вместимостью 250 см3) на 5 кг мяса. Чтобы приготовить стакан посолочной смеси, смешайте 175 г соли, 2 г аскорбиновой кислоты в порошке и 65 г мелкокристаллического сахара. Можно добавить несколько измельченных лавровых листьев и немного молотого черного перца и гвоздики. Натертые смесью тонкие куски говядины сверните в рулеты и обвяжите шпагатом, а затем уложите их слоями (не более 3–4 слоев) в посуду, на дно которой предварительно насыпьте посолочную смесь и пряности. Накройте последний слой мяса хорошо промытым и ошпаренным деревянным кругом, сверху на него поставьте легкий гнет. В таком виде выдерживайте мясо в помещении при температуре 1–3 °С в течение 2 недель, после чего деликатесная солонина будет готова к использованию.

Перед приготовлением каких-либо блюд солонину следует вымочить. Крупные куски перед вымачиванием разрезают на 2–4 части. Затем заливают солонину холодной водой (2 л на 1 кг солонины) и вымачивают в течение 24 часов, меняя воду 5 раз: первый раз – через 1 ч после замачивания, а затем с промежутками в 2, 3, 6 и 12 ч. Температура воды для вымачивания не должна превышать 15 °С. Содержание соли при этом удается снизить до 2 %. Деликатесную солонину вымачивают не так долго – от 18 до 20 ч. Мелкие куски солонины (50–60 г) можно не вымачивать, а сразу варить в пятикратном объеме воды.

Для засолки крупных кусков мяса на костях в большой таре, например в бочке, необходимо разрубить говяжьи полутуши на крупные части: лопатку, грудинку и т. д. При посоле в более мелкой таре разрубите отрубы еще на 3–4 части. Перед посолом кости следует надрубить: реберные и трубчатые – поперек, позвонковые – косыми надрубами по позвонкам, а кости суставов – крест-накрест. В толстых мышцах (задние конечности, лопатка, бедро) сделайте ножом 2–3 надреза (кармана) глубиной до 10 см и длиной около 5 см. Дальнейший процесс обработки мяса – такой же, как и при приготовлении мякотной солонины. Старайтесь тщательно обрабатывать места надрубов и разрубки костей, как можно больше и плотнее заполняя их посолочной смесью. Натертые смесью куски мяса укладывайте в тару костями вверх. Продолжительность посола солонины на костях составляет 40–45 суток.

  • Читать дальше
  • 1
  • 2
  • 3
  • 4
  • 5
  • 6
  • 7
  • 8
  • 9
  • 10
  • 11
  • ...

Ебукер (ebooker) – онлайн-библиотека на русском языке. Книги доступны онлайн, без утомительной регистрации. Огромный выбор и удобный дизайн, позволяющий читать без проблем. Добавляйте сайт в закладки! Все произведения загружаются пользователями: если считаете, что ваши авторские права нарушены – используйте форму обратной связи.

Полезные ссылки

  • Моя полка

Контакты

  • chitat.ebooker@gmail.com

Подпишитесь на рассылку: