Вход/Регистрация
Простые роботы своими руками или несерьёзная электроника
вернуться

Мамичев Дмитрий Иванович

Шрифт:

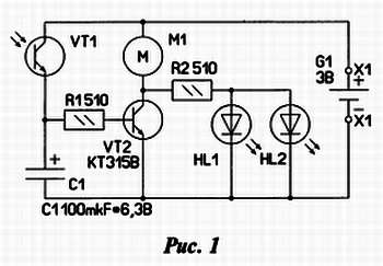
Напряжение на электродигатель M1 — виброзвонок от сотового телефона, поступает через транзистор VT2, который в свою очередь, открывается и закрывается в зависимости от освещённости фототранзистора VT1. Сам фототранзистор установлен так, что реагирует на освещённость подстилающей поверхности. Когда «жук» находится под непрозрачным колпаком или на чёрном поле, сопротивление фототранзистора велико, транзистор VT2 закрыт и тока, протекающего через электромотор недостаточно для вращения ротора последнего. В этом случае через обмотку электромотора проходит только небольшой ток светодиодов HL1 и HL2. Поэтому «жук» неподвижен и его глаза светятся. При освещении фототранзистора через него начинает протекать ток, который открывает транзистор VT2. На электромотор поступает питающее напряжение, светодиоды гаснут, будучи зашунтированы открытым транзистором VT2. «Жук» станет перемещаться по белому полю до границы с чёрным, где и останавливается, поскольку ток через фототранзистор резко уменьшается. Конденсатор С1 обеспечивает плавные старт «жука» и остановку после пересечения границы между белым и чёрным полем.

Отличие ходовой части состоит в том, что виброход имеет один ряд ножек и два опорных уса (рис. 1А) — элементы 1 и 2 соответственно.

На подобной основе можно реализовать другой вариант изделия. Схема представлена на рисунке 2.

Этот виброход получил имя Жучок-сверчок. Он трещит, перебегает и мигает, в общем, три в одном. И происходит это всё с ним только в тёмное время суток.

Основой схемы является блокинг-генератор, реализованный на транзисторе VT3 и трансформаторе Т1. Резистор R1 ограничивает базовый ток. Такое схемное решение позволяет питать игрушку от одной «таблетки — элемента». Фототранзистор VT2 управляет работой блокинг-генератора. При хорошей внешней освещённости сопротивление перехода фототранзистора мало и транзистор VT3 закрыт — жук недвижим и тих. При попадании в плохо освещённое помещение или на улице вечером жук оживает. Сопротивление фототранзистора увеличивается, «разрешая» работу блокинг-генератора. Он имеет две нагрузки: с одной стороны это мигающий светодиод HL1, с другой конденсатор С1. Эти нагрузки взаимозависимы. Так, когда вспыхивает светодиод, вся энергия, накопленная в трансформаторе за «период колебаний в блокинге» расходуется на него. В паузах между вспышками светодиода происходит периодическая зарядка конденсатора С1, то есть энергия, накопленная в трансформаторе расходуется на его зарядку. При нарастании напряжения на конденсаторе до величины 9-11В происходит лавинообразное открывание транзистора VT1 и разряд конденсатора на телефон TL1. В капсуле раздастся щелчок. Так как ёмкость конденсатора относительно мала, частота щелчков будет таковой, что они сольются в единый звук, напоминающий стрекотание кузнечика.

При очередном вспыхивании светодиода стрекотание прекращается, ток идёт по цепочке VD2, HL1, база-эмиттер VT4. Транзистор открывается и через двигатель Ml идёт ток. Виброход приходит в импульсное движение. Диоды VD1, VD2 выпрямительные, конденсатор С2 накопительный и нужен для обеспечения нормальной работы светодиода (без него светодиод не будет вспыхивать). Сердечник трансформатора Т1 взят из «схемы» энергосберегающей лампы. Его обмотки содержат по 30 витков провода ПЭЛ-0,3. Звукоизлучатель изъят из материнской платы старого компьютера.

Элементы удобно монтировать на плате овальной формы с размерами в пределах 30 мм на 40 мм.

Ещё одна разновидность жуков представлена на схеме рис. 3.

Это жук-светоед. Он живёт на открытых солнечных подоконниках. И через определённые промежутки времени приходит в движение. Его отличие состоит в том, что он не имеет химического источника питания и использует в своей жизни энергию солнца.

Трансформатор Т1 и транзистор VT1 образуют блокинг-генератор. После замыкания ключа (выключатель SA1), в моменты времени когда транзистор закрыт, импульсы тока индуцированного суммарного напряжения обмоток трансформатора через развязывающий диод VD1 заряжают конденсатор С1. Резистор R1 ограничивает импульсы тока, управляющие работой транзистора. С течением времени напряжение на конденсаторе растёт. При его значении около 22 В происходит лавинообразное открывание транзисторов VT2, VT3. Через развязывающий диод VD2 заряжается конденсатор С4. Роторы последовательно включённых двигателей M1, М2 начинают вращаться. При снижении напряжения конденсатора С1 до 16 В транзисторы закрываются, однако открывается транзистор VT4. Происходит дальнейший разряд конденсатора С1 на обмотки двигателей. Для предохранения двигателей от перегорания (в зависимости от имеющихся экземпляров виброзвонков) последовательно в цепь с ними желательно включать ограничительный резистор номиналом 27–56 Ом. Далее цикл работы схемы повторяется. Конденсаторы С2, СЗ обеспечивают устойчивый «лавинный пробой» транзисторов.

Игровые электронные кубики в схемах

Электронная версия игрового кубика довольно часто встречается в радиолюбительской литературе и имеет много разнообразных схемных решений. Все грани реального кубика можно имитировать светодиодным индикатором, состоящим из семи светодиодов. Светодиоды объединяются в четыре сегмента — три парных и один одиночный светодиод. Переключаясь в различных сочетаниях они, имитируют выпавшую грань при остановке переключений. Рассмотрим наиболее «популярную схемотехнику» данного типа изделий.

Принципиальная схема варианта устройства изображена на рис. 4.

На элементах DD1.1— DD1.3 микросхемы DD1 по стандартной схеме собран генератор импульсов. Импульсы подаются на вход С2 (вывод 1) счетчика, выполненного на микросхеме DD2. Благодаря обратным связям на входы & и R (выводы 3 и 2) счетчик работает с коэффициентом пересчета 6. Диоды VD1—VD5, элемент DD1.4 и элементы микросхемы DD3 образуют преобразователь двоичного кода в «код граней кубика». Сигналы последнего подаются на светодиоды HL1—HL7, индицирующие выпавшее число. Для ограничения тока через светодиоды установлены резисторы R2—R8.

Работает устройство так: пока контакты кнопочного выключателя SB1 разомкнуты, генератор подает тактовые импульсы на счетчик и на индикаторе с большой частотой переключаются светодиоды, индицируя «грани кубика» последовательно от 1 до 6. Как только контакты SB1 замкнут, нажав на кнопку, генерация импульсов прекратится. На выходах микросхемы DD2 зафиксируется число в двоичном коде, а на индикаторе — соответствующее «выпавшее число». Таким образом, чтобы «запустить» кубик, надо включить его выключателем SA1, а чтобы остановить — нажать кнопку выключателя SB1.

Теперь скажем несколько слов о конструкции и деталях устройства: микросхемы DD1 и DD3 — К155ЛАЗ, К555ЛАЗ; DD2 — К155ИЕ5, К555ИЕ5; диоды VD1 — VD5 — КД522Б или серий КД102, КД103; резисторы R2—R8 любые, подходящие по размерам, номиналом от 120 до 470 Ом (от их сопротивления зависит яркость свечения диодов индикатора); конденсатор С1 должен быть керамическим, его допустимо заменить оксидным емкостью 1…2 мкФ. При отсутствии таких конденсаторов можно использовать два оксидных полярных (электролитических), включив их последовательно, «навстречу» друг другу.

  • Читать дальше
  • 1
  • ...
  • 21
  • 22
  • 23
  • 24
  • 25
  • 26
  • 27
  • 28

Ебукер (ebooker) – онлайн-библиотека на русском языке. Книги доступны онлайн, без утомительной регистрации. Огромный выбор и удобный дизайн, позволяющий читать без проблем. Добавляйте сайт в закладки! Все произведения загружаются пользователями: если считаете, что ваши авторские права нарушены – используйте форму обратной связи.

Полезные ссылки

  • Моя полка

Контакты

  • chitat.ebooker@gmail.com

Подпишитесь на рассылку: