Вход/Регистрация
Простые роботы своими руками или несерьёзная электроника
вернуться

Мамичев Дмитрий Иванович

Шрифт:

Если один двигатель вращается быстрее второго, кораблик станет поворачивать в сторону. Чтобы устранить этот недостаток более «быстрый» двигатель можно развернуть к внешней стороне кораблика на 15…45 градусов или параллельно выводам виброзвонка подключить резистор сопротивлением 130…220 Ом, а последовательно — резистор сопротивлением 10…24 Ом. Осадка и крен вперёд или назад можно выровнять наклейкой на дно дополнительных поплавков 7 или балластных металлических шайб 8. Соответствие направления движения даваемым командам устанавливают экспериментально подключением подводящих проводов к виброзвонкам.

Управляют корабликом с помощью жезла (изготовленного из любого материала), на конце которого закреплён круг из непрозрачного материала диаметром 4…6 см, закрашенный чёрной краской.

Игрушка-сувенир «Конический маятник»

Внешний вид игрушки представлен на рисунке 24.

Два шарика на стержнях шарнирно закреплены к оси вращения. При её движении стрежни расходятся на некоторый угол, образуя конус вращения — отсюда и название маятника.

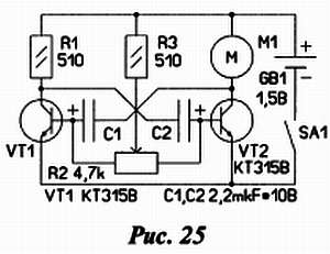
Схема конструкции дана на рисунке 25.

Работой двигателя M1 управляет мультивибратор, реализованный на транзисторах VT1, VT2. Резистором R2 регулируется длительность и скважность импульсов тока, питающих двигатель, а следовательно скорость вращения маятника и угол отклонения шариков.

Конструкцию сувенира поясняет рисунок 24. Подвижная часть состоит из оси вращения 11 (отрезок стальной проволоки диаметром 0,5–0,7 мм и длиной около 6 см), перекладины 10 из того же материала и двух стержней 9 с шариками и шарнирами на концах. Декоративные элементы 12 выполнены из медной проволоки ПЭЛ-0,35 и приклеены к стержням «секундным клеем». Ось вращения 11 соединяется с двигателем 7 посредством отрезка изоляции 8 (длина 10–12 мм) тонкого 3 мм (дно компьютерной клавиатуры). Сама рамка приклеивается к кольцу — основанию 2. Внизу к рамке приклеивается контактная панель 13 — прямоугольный отрезок фольгированного гетинакса. Выводы двигателя с панелькой соединяют витой проволокой 5 (ПЭЛ-0,15 намотанная на стержень-оправку диаметром 3 мм). Готовый маятник приклеивают к основанию 3 (оргстекло толщиной 4 мм и размером 30х105 мм). Снизу в углах приклеены четыре «ножки» 1 (отрезки резиновой трубки из привода автомобильного CD-проигрывателя).

Плата 4 с смонтированными элементами и проводными выводами к контактной панели 13 также приклеивается к основанию 3 через четыре резиновые опоры 1. В заключение производится электрическое соединение платы и двигателя маятника (панелька 13).

Большинство элементов схемы монтируется на плату из односторонне фольгированного текстолита. Эскиз топологии печатных проводников дан на рис. 26.

В конструкции применены резисторы МЛТ. Переменный резистор — импортный. Транзисторы можно использовать любые данного типа проводимости. Двигатель взят от виброзвонка сотового телефона, электролитические конденсаторы тоже импортные.

Звонница на основе жестких дисков

В октябрьском номере журнала РАДИО за 2009 г. на с. 52 опубликована моя статья «Колокольный звон… из жестких дисков». Хочу предложить твоему вниманию читатель новый, изменённый вариант конструкции с другой схемой управления.

Внешний вид устройства представлен на рис. 27.

Основным элементом конструкции (помимо двух дисков) являются молоточки, закреплённые на шестерне, которая совершает колебательные движения. Поэтому молоточки поочерёдно ударяют по дискам, создавая перезвон.

Схема управления устройством представлена на рис. 28.

Работает оно следующим образом. Если фототранзистор VT1 освещён, после включения питания транзистор VT2 закрыт, реле обесточено, его контакты реле К1.1 замкнуты и двигатель М1 подключен к источнику питания. Мигающий светодиод HL1 периодически вспыхивает и в момент вспышки ток через него резко возрастает, что приводит к открыванию транзистора VT3. Поэтому транзисторы VT4, VT5 будут поочередно открываться, меняя направление тока в обмотке электродвигателя M1, который приводит в движение шестерню и молоточки колеблются. При затенении фототранзистора напряжение на базе транзистора VT2 возрастёт, он откроется, реле сработает и контакты реле К1.1 разомкнутся — электродвигатель будет отключен от батареи и звон прекращается. Так с помощью фототранзистора можно управлять работой звонницы.

Большинство элементов схемы управления смонтированы на односторонней печатной плате из фольгированного стеклотекстолита толщиной 1,5 мм. Чертёж платы представлен на рис. 29.

В устройстве применены резисторы МЛТ, С2-23, транзисторы КТ315В можно заменить транзисторами КТ315Б, КТ315Г или любыми из серии КТ3102, а 2SA1267 — транзистором КТ361Б, КТ361Г, а также любым серии КТ3107. Мигающий светодиод — DK5B3SSC или другого цвета свечения из этой серии. Взамен диода Д220 подойдёт любой из серий КД103, КД503, КД521, КД522. Выключатель питания — любой малогабаритный, например серии ПД. Реле — DS2E-S-DC5V фирмы Matsushita с номинальным напряжением 5 В. Подойдут также реле типа BT-5S.

Конструкцию поясняет рис. 30.

В ней применены элементы и узлы от различных устройств компьютерной техники. Например, от DVD-привода. Из металлической крышки вырезано основание 3. К нему приклеены три опоры 1 (шестерни) в дух из которых закреплены Г-образные пластмассовые подвесы 2 и двигатель с редуктором 6, которые выпилены лобзиком из лицевой панели привода. От него же взяты молоточки 9 (винты) и металлическая ось 11. Диски 7 и 8 из винчестеров от НЖМД старых системных блоков компьютеров свободно подвешены в углублениях подвесов 2.

  • Читать дальше
  • 1
  • ...
  • 19
  • 20
  • 21
  • 22
  • 23
  • 24
  • 25
  • 26
  • 27
  • 28

Ебукер (ebooker) – онлайн-библиотека на русском языке. Книги доступны онлайн, без утомительной регистрации. Огромный выбор и удобный дизайн, позволяющий читать без проблем. Добавляйте сайт в закладки! Все произведения загружаются пользователями: если считаете, что ваши авторские права нарушены – используйте форму обратной связи.

Полезные ссылки

  • Моя полка

Контакты

  • chitat.ebooker@gmail.com

Подпишитесь на рассылку: