Вход/Регистрация
Трофейное оружие
вернуться

Трахачев А. А.

Шрифт:

для ручного пулемета 1000 м

для зенитного пулемета по высоте 1000 м

Темп стрельбы с втулкой надульника 800–900 выстрелов в минуту.

Рис. 13. Пулемет МГ-34, установленный на станке обр. 1934 г. (станковый пулемет).

1 — основание оптического прицела; 2 — зажим прицела; 3 — оптический прицел; 4 — основание оптического прицела; 5 — кронштейн; 6 — кнопка стакана; 7 — маховичок подъемного механизма; 8 — кнопка

Огонь из ручного пулемета ведется короткими очередями (3–5 выстрелов), а при отражении атаки — непрерывным огнем.

Огонь из станкового пулемета ведется очередями (20–30 выстрелов) и непрерывным огнем с заменой ствола после каждых 250 выстрелов.

Рис. 14. Пулемет МГ-34 с магазинным питанием, установленный на сошке (ручной пулемет).

1 — мушка; 2 — кожух; 3 — хомутик прицела; 4 — стойка прицела; 5 — магазин; 6 — винт с фигурной прокладкой; 7 — защелка магазина; 8 — крышка магазинного питания; 9 — приклад; 10 — защелка приклада; 11 — цапфы; 12 — предохранитель в положении “огонь”; 13 — ремень; 14 — средняя опора; 15 — сошка; 16 — передняя опора

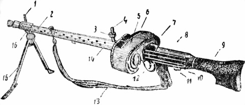
Рис. 15. Пулемет МГ-34 с ленточным питанием, установленным на сошке (ручной пулемет).

1 — защелка крышки; 2 — короб; 3 — крышка ленточного питания; 4 — нижний приемник; 5 — стопорная ось крышки; 6 — соединительная муфта; 7 — гнездо для кольцевого прицела; 8 — стопор надульника; 9 — пламегаситель; 10 — надульник; 11 — зажимная пружина передней опоры; 12 — выступ крепления; 13 — зажимная пружина средней опоры; 14 — лента; 15 — спусковой крючок; 16 — ручка управления огнем; 17 — рукоятка заряжания

Не следует вести непрерывный огонь более 250 патронов из одного ствола.

Калибр 7,92 мм

Вес пулемета с сошками 12 кг

Вес станка обр. 1934 г. 19 кг

Вес пулемета со станком и оптическим прицелом 32,75 кг

Патроны

Для стрельбы из пулемета можно применять германские и польские патроны калибра 7,92 мм (Маузер).

Установка стоечного прицела

1. Поднять мушку, если она была опущена.

2. Поднять стойку прицела, поворачивая ее на себя.

3. Нажать большим и указательным пальцами на зажимы хомутика прицела и, перемещая его вверх или вниз, совместить верхнюю грань хомутика с нужным делением прицела.

Цифры на прицеле обозначают сотни метров.

Заряжание пулемета

Пулемет МГ-34 в качестве станкового пулемета работает на ленточном питании с подачей ленты справа или слева, а в качестве ручного — как на ленточном, так и на магазинном питании.

Лента рассчитана на 250 патронов. Если такой ленты нет, то составить ее из коротких лент на 50 патронов. Для этого извлечь патрон из первого звена другой ленты, вставить в прорезь свободного звена хвост последующего звена первой ленты и вставить обратно вынутый патрон.

Магазин рассчитан на 75 патронов (рис. 16).

Признаки установленного на пулемете вида питания пулемета

1. Если на коробе пулемета находится крышка со щитками и с защелкой магазина, — пулемет установлен на магазинное питание (рис. 17).

2. Если на коробе пулемета находится крышка с верхним приемником (рис. 18), а внутри короба вставлен нижний приемник (рис. 19), — пулемет установлен на ленточное питание.

Рис. 16. Магазин на 75 патронов.

1 — отпирающий рычаг; 2 — ручка-ремешок; 3 — горловина

Рис. 17. Крышка для магазинного питания.

1 — левый щиток; 2 — правый щиток; 3 — защелка магазина; 4 — приемник

3. Если на место нижнего приемника предыдущего типа (рис. 19) вставлен нижний приемник с выступами для крепления барабана (рис. 20), — пулемет установлен на ленточное питание, причем лента может подаваться из специального барабана.

Рис. 18. Крышка для ленточного питания.

1 — верхний приемник

Рис. 19. Нижний приемник для ленточного питания без барабана.

1 — стойка; 2 — горловина

  • Читать дальше
  • 1
  • 2
  • 3
  • 4
  • 5
  • 6
  • 7
  • 8
  • 9
  • 10
  • ...

Ебукер (ebooker) – онлайн-библиотека на русском языке. Книги доступны онлайн, без утомительной регистрации. Огромный выбор и удобный дизайн, позволяющий читать без проблем. Добавляйте сайт в закладки! Все произведения загружаются пользователями: если считаете, что ваши авторские права нарушены – используйте форму обратной связи.

Полезные ссылки

  • Моя полка

Контакты

  • chitat.ebooker@gmail.com

Подпишитесь на рассылку: