Вход/Регистрация
Трофейное оружие
вернуться

Трахачев А. А.

Шрифт:

5. Надавить с двух сторон на соединительные детали, вывести при этом шпильку из паза боевой личинки и плавно разъединить детали.

6. Извлечь боевую пружину и ударник.

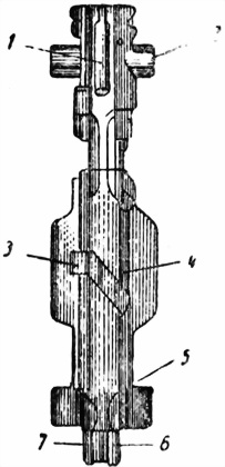
Рис. 25. Затвор в собранном виде.

1 — досылатель; 2 — боевая личинка; 3 — фиксирующий выступ; 4 — остов затвора; 5 — профильные выступы; 6 — гайка ударника; 7 — защелка гайки ударника

Сборка затвора

1. Взять остов затвора в левую руку и вставить в него муфту боевой пружины, ударник и боевую пружину.

2. Соединить эти детали в порядке, обратном разборке; при этом наблюдать, чтобы шпилька точно вошла в вырез на боевой личинке.

3. Вставить боевую личинку в остов затвора так, чтобы досылатель и фигурные выступы были сверху.

4. Повернуть боевую личинку до момента спуска ударника.

5. Привинтить гайку ударника; при этом иметь в виду, что полное присоединение гайки сопровождается щелчком.

Рис. 26. Как отделить ударник от боевой личинки.

1 — ударник; 2 — муфта боевой личинки; 3 — шпилька; 4 — паз боевой личинки

6. Взвести ударник, для чего повернуть боевую личинку в обратном направлении так, чтобы досылатель встал на одном уровне с профильными выступами остова затвора.

Сборка пулемета

1. Соединить короб с кожухом.

2. Вставить ствол в кожух и, поворачивая его, дослать ствол в крайнее переднее положение; ствол должен войти заподлицо с соединительной муфтой.

3. Поставить пулемет в горизонтальное положение и энергично повернуть короб в обратном направлении до застопорения защелкой. Проверить прочность соединения.

4. Вставить затвор досылателем и профильными выступами вверх, нажать на спусковой крючок и дослать затвор вместе с ручкой заряжания в крайнее переднее положение.

5. Вставить пружину и присоединить приклад.

6. Вставить нижний приемник.

7. Нажать стопорную ось крышки и вставить крышку.

8. Присоединить ремень.

9. Проверить правильность сборки пулемета, для чего отвести рукоятку заряжания назад и нажать на спусковой крючок. Если пулемет работает, сборка произведена правильно.

10. Включить предохранитель.

Разборка крышки для ленточного питания

1. Привести ползун в среднее положение.

2. Выдвинуть верхний приемник и снять его.

3. Снять одновременно подающий и передаточный рычаги.

4. Разъединить рычаги.

Сборка крышки с левым питанием

1. Взять подающий рычаг левой подачи и соединить его с передаточным рычагом, как показано на рис. 27.

Рис. 27. Рычаг левой подачи с предохранительным рычагом.

1 — передаточный рычаг; 2 — рычаг подачи

Рис. 28. Крышка короба собрана для левого питания.

1 — ползун; 2 — передаточный рычаг; 3 — рычаг подачи; 4 — правая ось; 5 — левая ось; 6 — средняя ось

Рис. 29. Рычаг правой подачи.

2. Вставить соединенные рычаги в крышку так, чтобы отверстие на хвосте подающего рычага вошло в правую ось крышки (в перевернутом положении), а отверстие передаточного рычага — в среднюю ось крышки.

3. Поставить передаточный рычаг в среднее положение.

4. Поставить ползун в среднее положение.

5. Надеть верхний приемник (рис. 28) так, чтобы его горловина была обращена вправо (также при перевернутом положении крышки).

Сборка крышки с правым питанием

1. Взять подающий рычаг правой подачи (рис. 29) и соединить его с передаточным рычагом.

2. Установить соединенные рычаги в крышку так, чтобы отверстие на хвосте подающего рычага вошло в левую ось.

3. Надеть верхний приемник так, чтобы его горловина была обращена вправо.

Замена магазинного питания ленточным

Для подачи ленты с левой стороны:

1. Снять крышку магазинного питания.

2. Установить нижний приемник горловиной влево.

3. Установить крышку левого питания.

Для подачи ленты с правой стороны:

1. Снять крышку магазинного питания.

2. Установить нижний приемник горловиной вправо.

3. Установить крышку правого питания.

Замена ленточного питания магазинным

  • Читать дальше
  • 1
  • ...
  • 4
  • 5
  • 6
  • 7
  • 8
  • 9
  • 10
  • 11
  • 12
  • 13
  • 14
  • ...

Ебукер (ebooker) – онлайн-библиотека на русском языке. Книги доступны онлайн, без утомительной регистрации. Огромный выбор и удобный дизайн, позволяющий читать без проблем. Добавляйте сайт в закладки! Все произведения загружаются пользователями: если считаете, что ваши авторские права нарушены – используйте форму обратной связи.

Полезные ссылки

  • Моя полка

Контакты

  • chitat.ebooker@gmail.com

Подпишитесь на рассылку: