Вход/Регистрация
107-мм горно-вьючный полковой миномет обр. 1938 г. (107 ГВПМ-38) Руководство службы.
вернуться

Коллектив авторов

Шрифт:

д) навернуть на ушко 78 втулку 79 и застопорить винтом;

е) ввернуть втулку 80 в корпус 77 и поставить винт.

2. Собрать механизм грубого горизонтирования (рис. 22):

а) собрать на зажимной втулке 40 ручку 44, поставив палец 46 и пружину 47;

б) вставить в конусную гайку 41 разрезные вкладыши 42;

в) ввернуть зажимную втулку 40 в конусную гайку 41 так, чтобы разрезные вкладыши 42 встали без переноса;

г) вставить изнутри, через отверстие зажимной втулки, шарик Ш (в первом варианте) или ввернуть стопорный винт 4З (во втором варианте);

д) надеть весь собранный механизм установки на правую ногу двуноги;

е) надеть крючок на патрубок правого сошника;

ж) ввернуть в правую ногу двуноги правый сошник;

з) навернуть на резьбу крючок для цепи;

и) поставить стопорный винт и крючок.

3. Собрать механизм грубого и точного горизонтирования:

а) механизм точного горизонтирования вставить ушком (проушиной) 74 в проушину О зажима механизма грубой наводки;

б) вставить ось 71 и поставить штифт;

в) поставить ушко 78 в проушину кожуха подъемного механизма;

г) вставить ось 73 (рис. 19) и поставить штифт.

Инструмент для разборки и сборки (рис. 66): отвертка 14; пробойник 15; ручник; ключ.

Примечание. Механизм грубого горизонтирования разбирается только для замены и исправления частей в полковых мастерских.

Глава III

ВЕРТЛЮГ

Вертлюг состоит из корпуса вертлюга, амортизатора с обоймой и поворотного механизма.

15. Устройство корпуса вертлюга

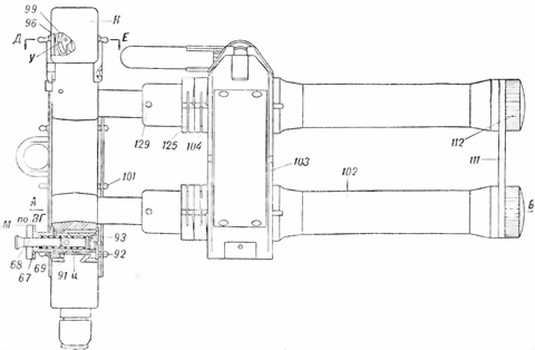
Корпус вертлюга (рис. 25) представляет собой цельную фигурную деталь 66, имеющую в верхней части два долевых цилиндрических отверстия а для штоков амортизатора, а в нижней части, по краям, две проушины б для винта поворотного механизма. В верхней части слева (если смотреть сзади) имеется выступ, в срезанной части которого сделано гнездо д (в виде ласточкина хвоста) для установки хвостовика прицела и, кроме того, долевое цилиндрическое отверстие е, в котором монтируется зажим для крепления прицела. Гнездо д и отверстие е имеют общую долевую щель ц для движения по ней ползупка зажима (крепления прицела), который состоит из пустотелого винта 67 (рис. 25б) с гайкой ползунка 91 и двуплечей ручки 68 с пружиной 69. Гайка ползунка 91 навернута на винт 67, а сам ползунок выходит в щель паза прицела. В свою очередь весь зажим для крепления прицела укреплен в долевом цилиндрическом отверстии е при помощи крышки 92 и стопорного винта 93. Следовательно, при вращении маховика М винта 67 последний будет вращаться, а гайка с ползунком 91 будет иметь только поступательное движение. Хвостовик прицела (рис. 32) имеет такую же прорезь, как и профиль ползунка (с некоторым уклоном по отношению к щели). Клинообразный хвостовик прицела затягивается в своем гнезде ползунком, скользящим по прорези хвостовика. Таким образом, вставленный в гнездо-паз д хвостовик прицела при заходе в прорезь его ползунка будет затягиваться последним. Для окончательной затяжки прицела необходимо вытащить вперед двуплечую складную ручку 68 и, согнув ее в колене, вложить в прорезь маховика М для затягивания винта 67, что обеспечит надежное крепление прицела. После этого ручку 68 вынуть из паза, снова выпрямить в колене и отпустить, благодаря чему она, под действием сжатой пружины, снова войдет внутрь винта 67. Во время стрельбы, после каждых трех-четырех выстрелов, проверять при помощи ручки 68 и маховика М состояние поджима прицела в пазу. Если при этом будет обнаружено ослабление винта 67, то последний нужно снова затянуть указанным выше способом. Несоблюдение этого указания повлечет за собой порчу прицела.

а

б

в

г

д

Рис. 25. Вертлюг с амортизатором:

а — вертлюг; б — уровень вертлюга и механизма крепления прицела; в — амортизатор; г — уровень вертлюга; д — амортизатор с обоймой и детали амортизатора (общий вид); 66 — корпус вертлюга (3-21); 67 — винт (3-46); 68 — ручка (3-43); 69 — пружина (3-45); 91 — гайка ползунка (3-48); 92 — крышка (3-49); 93 — стопорный винт (3-77); 95 — винт (3-34); 96 — стопорный винт (3-38); 99 — винт (З-ЗЗ); 101 — кнопка (3-63); 102 — цилиндр амортизатора (3–1); 103 — обойма (сб. 3–1); 104 — гайка (3-20); 105 — пружина большая (3–4); 106 — шток (3–5); 107 — кольцо-прокладка (3-26); 108 — втулка (3–2); 109 — малая пружина (3-25); 110 — стопорный винт (3-24); 111 — соединительная планка (3-27); 112 — крышка (3-28); 125 — контргайка (3-20); 129 — стопорный винт (3–3); М — маховик винта; У — уровень (сб. 3–7); К — кожух (колпак уровня) (сб. 3-14); Ч — чехол винта поворотного механизма (3-61); а — цилиндрические отверстия для закрепления штоков амортизатора; б — проушины для винта поворотного механизма; г — зажим; д — гнездо для установки прицела; е — отверстие для монтажа механизма крепления прицела; ц — щель для ползунка.

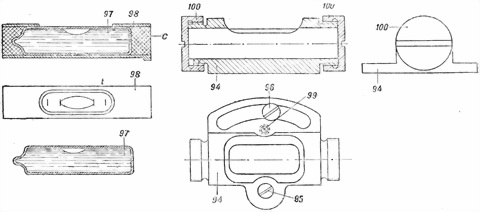
Рис. 26. Уровень:

94 — корпус уровня (3–3); 95 — винт (3-34); 96 — стопорный винт (3-33); 97 — стеклянная ампула уровня (3-29); 98 — оправа уровня (3-30); 100 — колпачок (3-32); С — сосок оправы уровня.

С правой верхней стороны корпуса вертлюга (если смотреть сзади) на площадке крепится уровень У (рис. 25б). При помощи уровня и механизма горизонтирования (см. п. 13 и 14) вертлюг и стол угломера прицела приводятся в горизонтальное положение.

Уровень (рис. 25б и 26) состоит из корпуса уровня 94, который крепится на площадке винтами 95 и 96. Площадка вертлюга, на которой располагается основание корпуса уровня 94, имеет уклон, который позволяет установить уровень в горизонтальное положение при проверке, путем вращения основания вокруг винтов 95 и 96 по дуговой прорези; при этом винты 95 и 96 должны быть ослаблены, после выверки они снова должны быть укреплены. О способе и порядке проверки уровня будет сказано в главе V, п. 29.

  • Читать дальше
  • 1
  • ...
  • 8
  • 9
  • 10
  • 11
  • 12
  • 13
  • 14
  • 15
  • 16
  • 17
  • 18
  • ...

Ебукер (ebooker) – онлайн-библиотека на русском языке. Книги доступны онлайн, без утомительной регистрации. Огромный выбор и удобный дизайн, позволяющий читать без проблем. Добавляйте сайт в закладки! Все произведения загружаются пользователями: если считаете, что ваши авторские права нарушены – используйте форму обратной связи.

Полезные ссылки

  • Моя полка

Контакты

  • chitat.ebooker@gmail.com

Подпишитесь на рассылку: