Вход/Регистрация
107-мм горно-вьючный полковой миномет обр. 1938 г. (107 ГВПМ-38) Руководство службы.
вернуться

Коллектив авторов

Шрифт:

а) двуноги, состоящей из двух ног — О, подъемного механизма I и механизма горизонтирования II и

б) вертлюга, состоящего из корпуса вертлюга 82, амортизатора IV с наметкой 100 и поворотного механизма III.

Рис. 17. Двунога-лафет 107-мм ГВПМ-38 (вид спереди):

I — подъемный механизм; II — механизм горизонтирования; III — поворотный механизм; IV — амортизатор с пометкой; Пр — проушина.

Рис. 18. Двунога-лафет 107-мм ГВПМ-38 (вид сзади):

I — подъемный механизм; II — механизм горизонтирования; III — поворотный механизм; IV — амортизатор (сб. 3) с наметкой; 82 — корпус вертлюга (3-21); 100 — наметка (3–7); О — ноги; Пр — проушина.

8. Описание двуноги-лафета

Собственно двунога (рис. 19) состоит из двух трубчатых ног: левой 81 и правой 83. Каждая нога внизу оканчивается опорными тарелями 84 с сошниками 85. Сошники служат для укрепления ног двуноги в грунте, а тарели — для упора их в грунт. Вверху ноги заканчиваются фигурными вилками 86. Вилки 86 своими проушинами шарнирно подвешены на пальце 80 корпуса подъемного механизма.

а

б

в

г

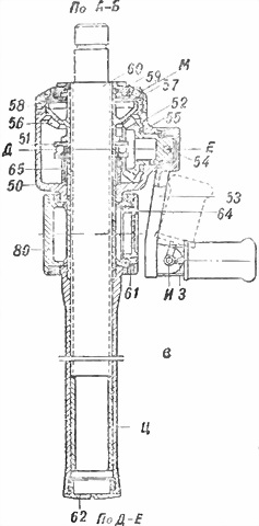
Рис. 19. Двунога-лафет (сб. 2):

а — общий вид двуноги (спереди); б — проушины (разрез); в — подъемный механизм (разрез); г — коробка подъемного механизма (разрез); 50 — корпус подъемного механизма (2–1); 51 — шарикоподшипник (2-61); 52 — малая коническая шестерня (2-59); 53 — рукоятка (сб. 2–7); 54 — штифт рукоятки (2-60); 55 — кольцо (2-58); 56 — матка (2-35); 57 — крышка (сб. 2-10); 58 — винт стопорный (2-38); 59 — гайка упорная (2-37); 60 — винт подъемного механизма (2-32); 61 — стопорный винт пробки (2-10); 62 — крышка кожуха (2-62); 63 — шпонка (2-56); 64 — пробка (2-57); 65 — втулка опорная (2-34); 71 — ось; 73 — ось; 80 — палец (2-55); 81 — левая нога (сб. 2–3); 83 — правая нога (сб. 2–6); 84 — тарель опорная (2–5); 85 — сошники (2–4); 86 — вилки (2–2); 87 — цепочка (сб. 2-14); 88 — кольцо (2–7); 89 — пружина (сб. 2-13); 90 — крючок (2-52); ЗЖ — зажим механизма грубого горизонтирования; М — масленка (сб. 2–9); Т — механизм точного горизонтирования; Ц — направляющий цилиндр (2-33); И — ось откидной ручки; З — выступ.

Таким образом, и левая и правая нога имеет возможность вращаться на пальце 80. Для ограничения раствора ног применяется цепочка 87, которая к левой ноге крепится кольцом 88, соединенным с пружиной 89, а к правой ноге — крючком 90. На правой ноге собран механизм горизонтирования.

9. Разборка и сборка двуноги-лафета

Двунога-лафет разбирается для войскового ремонта и для чистки механизмов.

В зависимости от вида ремонта разборка может быть полной или частичной.

10. Устройство подъемного механизма

Подъемный механизм (рис. 19 и 20) предназначается для построения задаваемых углов возвышения (вертикальная наводка). При этом винт подъемного механизма, при неизменном положении двуноги, обеспечивает изменение угла возвышения в пределах 15–20°. Для получения углов возвышения в пределах от 45 до 60–65° необходимо обойму вертлюга поставить на переднюю кольцевую выточку Г трубы ствола. Для построения углов возвышения больше 60–65° необходимо поставить обойму вертлюга в заднюю кольцевую выточку Г трубы ствола.

Рис. 20. Винт подъемного механизма с маткой и крышкой коробки:

50 — корпус подъемного механизма (2–1); 51 — шарикоподшипник (2-61); 52 — малая (коническая) шестерня (2-59); 53 — рукоятка (сб. 2–7); 55 — кольцо (2-58); 56 — матка (большая шестерня) (2-35); 57 — крышка (сб. 2-10); 60 — винт подъемного механизма (2-32); 65 — втулка опорная (2-34); 80 — палец (2-55); Ц — направляющий цилиндр (2-33).

Подъемный механизм состоит из корпуса 50, который внизу имеет вид цилиндрической коробки с длинным кожухом для винта. Внутри, на дне коробки корпуса, установлена опорная втулка 65, а на нее поставлен шарикоподшипник 51. В коробке, сбоку, сделан прилив с отверстием, куда вставлена своим патрубком малая (коническая) шестерня 52. На навинтованный наружный конец патрубка шестерни навернута рукоятка 53, которая закреплена (дополнительно) штифтом 54. Для уменьшения трения между шестерней 52 и коробкой корпуса поставлено кольцо 55.

  • Читать дальше
  • 1
  • ...
  • 4
  • 5
  • 6
  • 7
  • 8
  • 9
  • 10
  • 11
  • 12
  • 13
  • 14
  • ...

Ебукер (ebooker) – онлайн-библиотека на русском языке. Книги доступны онлайн, без утомительной регистрации. Огромный выбор и удобный дизайн, позволяющий читать без проблем. Добавляйте сайт в закладки! Все произведения загружаются пользователями: если считаете, что ваши авторские права нарушены – используйте форму обратной связи.

Полезные ссылки

  • Моя полка

Контакты

  • chitat.ebooker@gmail.com

Подпишитесь на рассылку: